АВТОМАТИЧЕСКАЯ ТРАНСМИССИЯ В СБОРЕ УСТАНОВКА

ПРЕДОСТЕРЕЖЕНИЕ / ПРИМЕЧАНИЕ / УКАЗАНИЕ

CAUTION:

Автоматическая трансмиссия в сборе имеет очень большую массу. Во избежание внезапного падения подъемника двигателя обязательно соблюдайте процедуры, описанные в руководстве по ремонту.

ПОРЯДОК ВЫПОЛНЕНИЯ


  1. УСТАНОВИТЕ ГИДРОТРАНСФОРМАТОР В СБОРЕ


    1. A01MXW8C02
      *a Поверхность двигателя в сборе
      *b Поверхность ведущего диска

      С помощью штангенциркуля и поверочной линейки измерьте расстояние (A) между поверхностью сопряжения двигателя с автоматической трансмиссией и контактной поверхностью ведущего диска, соприкасающейся с гидротрансформатором.

    2. A01MXT3C01
      *a Метка

      Совместите метку на корпусе с меткой на гидротрансформаторе, и введите в зацепление шлицы первичного вала и ротора турбины.

      Note

      Установите гидротрансформатор на первичный вал, удерживая его в горизонтальном положении.

    3. A01MUOXC01
      *1 Передний сальник масляного насоса

      Поверните гидротрансформатор примерно на 180° и введите в зацепление шлицы вала статора и статора.

      Note


      • Не допускайте повреждения переднего сальника масляного насоса.

      • Установите гидротрансформатор на первичный вал, удерживая его в горизонтальном положении.

    4. A01MVY0C01
      *1 Передний сальник масляного насоса

      Снова поверните гидротрансформатор примерно на 180°, совместите метку на гидротрансформатора с меткой на корпусе и вставьте шпонку гидротрансформатора в паз ведущей шестерни масляного насоса.

      Note


      • Не нажимайте на гидротрансформатор слишком сильно при его вращении.

      • Не допускайте повреждения переднего сальника масляного насоса.

      • Установите гидротрансформатор на первичный вал, удерживая его в горизонтальном положении.

    5. A01MYBUN05

      С помощью штангенциркуля и поверочной линейки измерьте расстояние (B), показанное на рисунке, и удостоверьтесь, что оно больше расстояния (A) (которое было измерено на предыдущем шаге).

      Номинальное значение/Номинальный режим
      A + 1 мм (0,0394 дюйма) или более

      Note


      • Не забудьте вычесть толщину поверочной линейки.

      • Если при установке автоматической трансмиссии на двигатель гидротрансформатор будет вставлен недостаточно, он может быть поврежден.

  2. УСТАНОВИТЕ КРЫШКУ КАРТЕРА ТРАНСМИССИИ (для моделей с крышкой картера)


    1. Установите крышку картера трансмиссии на автоматическую трансмиссию и закрепите ее 2 болтами.

      Torque:
      5,4 Н*м  { 55 кгс*см, 48 фунт-сила-дюймов }
  3. УСТАНОВИТЕ ЗАДНЮЮ ПОДУШКУ ОПОРЫ ДВИГАТЕЛЯ № 1


    1. A01MYV7C01
      *a Захват
      A01MWAN Передняя сторона автомобиля

      Установите заднюю подушку опоры двигателя № 1 на автоматическую трансмиссию в сборе и закрепите 4 болтами.

      Torque:
      11,5 Н*м  { 117 кгс*см, 8 фунт-сила-футов }

      Tech Tips

      Проследите за тем, чтобы захват был направлен к передней стороне автомобиля.

  4. УСТАНОВИТЕ АВТОМАТИЧЕСКУЮ ТРАНСМИССИЮ В СБОРЕ


    1. A01MXKRC02
      *1 Ведущий диск
      *2 Коленчатый вал
      *a Сердцевина гидротрансформатора в сборе
      A01MWAN Консистентная смазка для шлицевого соединения сцепления

      Нанесите консистентную смазку для шлицевого соединения сцепления на окружность коленчатого вала, вступающую в контакт с сердцевиной гидротрансформатора.

      Консистентная смазка для шлицевого соединения сцепления
      Фирменная консистентная смазка для шлицевых соединений сцепления Clutch Spline Grease от компании Toyota или аналогичная
      Максимальное количество консистентной смазки
      Примерно 1 г (0,0353 унции)
    2. A01MXBHN03

      Убедитесь, что 2 штифта закреплены на двигателе и не повреждены.

    3. Удерживая двигатель и автоматическую трансмиссию в горизонтальном положении, совместите 2 штифта с отверстиями в автоматической трансмиссии и вверните 9 болтов.

      Torque:
      Болт (A)
      37 Н*м  { 377 кгс*см, 27 фунт-сила-футов }
      Болты (B), (C)
      71 Н*м  { 724 кгс*см, 52 фунт-сила-фута }

      Note


      • При затягивании болтов проследите, чтобы сопрягающиеся поверхности двигателя в сборе и автоматической трансмиссии в сборе плотно прилегали друг к другу.

      • Не прилагайте больших усилий при поддевании автоматической трансмиссии в сборе.

      • Убедитесь, что гидротрансформатор в сборе вращается.

      • Соблюдайте осторожность, чтобы не пережать и не повредить какой-либо жгут проводов.

      • Поместите на телескопический гидравлический домкрат подкладки, чтобы защитить масляный поддон автоматической трансмиссии.

      • Убедитесь, что подкладки и масляный поддон автоматической трансмиссии отцентрированы на телескопическом гидравлическом домкрате.

      • Во избежание деформации масляного поддона автоматической трансмиссии не помещайте какие-либо приспособления под масляный поддон автоматической трансмиссии.

      • Закрепите автоматическую трансмиссию в сборе на телескопическом гидравлическом домкрате с помощью ремня или иного предмета, чтобы она не упала.

      Tech Tips

      Длина болта
      • Болт (A): 43 мм (1,69 дюйма)

      • Болт (B): 50 мм (1,97 дюйма)

      • Болт (C): 70 мм (2,76 дюйма)

  5. УСТАНОВИТЕ ПЕРЕПУСКНОЙ ШЛАНГ ОХЛАЖДАЮЩЕЙ ЖИДКОСТИ


    1. Наклоните автоматическую трансмиссию в сборе.

      Note

      Проследите за тем, чтобы при наклоне автоматической трансмиссии в сборе вентилятор системы охлаждения и кожух вентилятора не соприкасались с двигателем.

    2. Подсоедините перепускной шланг охлаждающей жидкости и перепускной шланг охлаждающей жидкости № 2 к масляному радиатору трансмиссии и надвиньте 2 фиксатора, чтобы закрепить их.

    3. Установите хомут шланга на автоматическую трансмиссию и закрепите его болтом.

      Torque:
      20 Н*м  { 204 кгс*см, 15 фунт-сила-футов }
  6. ПОДСОЕДИНИТЕ ЖГУТ ПРОВОДОВ И РАЗЪЕМ


    1. Установите кронштейн зажима жгута проводов на автоматическую трансмиссию в сборе и закрепите его болтом.

      Torque:
      10 Н*м  { 102 кгс*см, 7 фунт-сила-футов }
    2. Подсоедините разъем датчика положения паркинга/нейтрали.

    3. Подсоедините разъем жгута электропроводки трансмиссии.

      Tech Tips

      Поднимите рычаг так, чтобы захват разъема жгута электропроводки трансмиссии издал характерный звук.

    4. Подсоедините 2 разъема датчика оборотов трансмиссии.

    5. Закрепите жгут проводов на автоматической трансмиссии в сборе с помощью 3 зажимов.

  7. УСТАНОВИТЕ ПРОВОД СОЕДИНЕНИЯ С МАССОЙ № 2


    1. Установите провод соединения с массой № 2 на автоматическую трансмиссию в сборе и закрепите ее болтом.

      Torque:
      25 Н*м  { 255 кгс*см, 18 фунт-сила-футов }
  8. УСТАНОВИТЕ ЭЛЕМЕНТ ЗАДНЕЙ ОПОРЫ ДВИГАТЕЛЯ


    1. Установите элемент задней опоры двигателя на автоматическую трансмиссию в сборе и предварительно закрепите его 4 гайками.

    2. Установите элемент задней опоры двигателя на кузов и закрепите его 4 болтами.

      Torque:
      34,7 Н*м  { 354 кгс*см, 26 фунт-сила-футов }
    3. Полностью затяните 4 гайки на автоматической трансмиссии в сборе.

      Torque:
      13 Н*м  { 133 кгс*см, 10 фунт-сила-футов }
  9. УСТАНОВИТЕ ТЯГУ НАПОЛЬНОГО МЕХАНИЗМА ПЕРЕКЛЮЧЕНИЯ ПЕРЕДАЧ В СБОРЕ


    1. A01MVP8

      С помощью штифта установите тягу напольного механизма переключения передач в сборе к правому рычагу приводного вала трансмиссии.

    2. Установите новый фиксатор.

    3. A01MU5XC01
      *1 Правый рычаг приводного вала трансмиссии
      *a P
      *b R
      *c N

      Поверните правый рычаг приводного вала трансмиссии до упора против часовой стрелки, а затем на 2 прорези по часовой стрелке.

    4. Установите рычаг переключения передач в положение N.

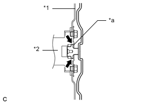
    5. A01MXXFC02
      *a Рычаг
      A01MVAU Рычаг отжимается назад

      Временно закрепите гайкой тягу напольного механизма переключения передач в сборе на рычаге напольного механизма переключения передач в сборе.

    6. Затяните гайку, слегка отжимая рычаг напольного механизма переключения передач в сборе назад.

      Torque:
      12,8 Н*м  { 131 кгс*см, 9 фунт-сила-футов }

      Note

      Не нажимайте на рычаг напольного механизма переключения передач в сборе слишком сильно.

  10. УСТАНОВИТЕ УСТАНОВОЧНЫЙ БОЛТ ГИДРОТРАНСФОРМАТОРА И ВЕДУЩЕГО ДИСКА


    1. Проверните коленчатый вал, чтобы обеспечить доступ к местам установки 6 установочных болтов ведущего диска и гидротрансформатора, и, удерживая при помощи SST шкив коленчатого вала, вверните каждый болт.

      SST
      09213-70011   ( 09213-70020 )
      Torque:
      41 Н*м  { 418 кгс*см, 30 фунт-сила-футов }

      Note

      Сначала вверните болт черного цвета, а затем - оставшиеся 5 болтов серебристого цвета.

  11. УСТАНОВИТЕ БОКОВУЮ КРЫШУ КАРТЕРА МАХОВИКА


    1. Установите боковую крышку картера маховика на двигатель в сборе.

      Note

      Удостоверьтесь, что боковая крышка картера маховика надежно закреплена.

  12. УСТАНОВИТЕ СТАРТЕР В СБОРЕ

    Нажмите здесь Click here

  13. УСТАНОВИТЕ ПОДКОС ДЛЯ ЗАЩИТЫ ДВИГАТЕЛЯ В СБОРЕ

    Нажмите здесь Click here

  14. УСТАНОВИТЕ КАРДАННЫЙ ВАЛ С ЦЕНТРАЛЬНЫМ ПОДШИПНИКОМ В СБОРЕ

    Нажмите здесь Click here

  15. УСТАНОВИТЕ УРАВНИТЕЛЬНЫЙ БАЧОК НА ВПУСКЕ ВОЗДУХА В СБОРЕ

    Нажмите здесь Click here

  16. ДОБАВЬТЕ ОХЛАЖДАЮЩУЮ ЖИДКОСТЬ ДВИГАТЕЛЯ

    Нажмите здесь Click here

  17. ДОБАВЬТЕ ЖИДКОСТЬ ДЛЯ АВТОМАТИЧЕСКОЙ ТРАНСМИССИИ

    Нажмите здесь Click here

  18. ПОДСОЕДИНИТЕ ПРОВОД К ОТРИЦАТЕЛЬНОМУ ВЫВОДУ АККУМУЛЯТОРНОЙ БАТАРЕИ

    Note

    После подсоединения провода необходимо инициализировать некоторые системы.

    Нажмите здесь Click here

  19. ПРОВЕРЬТЕ, НЕТ ЛИ УТЕЧЕК ОХЛАЖДАЮЩЕЙ ЖИДКОСТИ

    Нажмите здесь Click here

  20. ПРОВЕРЬТЕ ПОЛОЖЕНИЕ РЫЧАГА ПЕРЕКЛЮЧЕНИЯ ПЕРЕДАЧ

    Нажмите здесь Click here

  21. ПРОВЕРЬТЕ, НЕТ ЛИ УТЕЧЕК ОТРАБОТАВШИХ ГАЗОВ

    Нажмите здесь Click here

  22. УСТАНОВИТЕ ЗАЩИТУ КАРТЕРА ДВИГАТЕЛЯ № 2 (для моделей с цельной защитой картера)

    Нажмите здесь Click here

  23. УСТАНОВИТЕ ЗАЩИТУ КАРТЕРА ДВИГАТЕЛЯ № 2 (для моделей с наполовину закрытой конструкцией)

    Нажмите здесь Click here

  24. УСТАНОВИТЕ СКОБУ ЭЛЕМЕНТА ПЕРЕДНЕЙ ПОДВЕСКИ

    Нажмите здесь Click here

  25. УСТАНОВИТЕ ЗАЩИТУ КАРТЕРА ДВИГАТЕЛЯ

    Нажмите здесь Click here

  26. ВЫПОЛНИТЕ СБРОС ПАМЯТИ

    Нажмите здесь Click here