КОРПУС КЛАПАНОВ В СБОРЕ ПРОВЕРКА

ПОРЯДОК ВЫПОЛНЕНИЯ


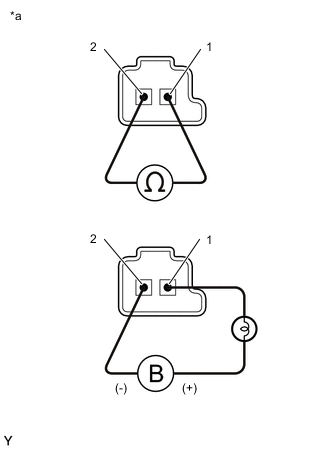
  1. ПРОВЕРЬТЕ ЭЛЕКТРОМАГНИТНЫЙ КЛАПАН ПЕРЕКЛЮЧЕНИЯ ПЕРЕДАЧ SL1


    1. A01MU8UC48
      *a

      Устройство с неподсоединенным жгутом проводов

      (электромагнитный клапан переключения передач SL1)

      Измерьте сопротивление в соответствии со значениями, приведенными в таблице ниже.

      Номинальное сопротивление
      Подключение диагностического прибора Условие Заданные условия
      1 - 2 20°C (68°F) 5,0-5,6 Ом
    2. Подсоедините положительный (+) вывод с лампой 21 Вт к контакту 1, а отрицательный (-) вывод – к контакту 2 разъема электромагнитного клапана SL1, а затем проверьте ход электромагнитного клапана переключения передач SL1.

      OK
      Слышен звук срабатывания электромагнитного клапана.

      Если результат не отвечает требованиям, замените электромагнитный клапан переключения передач SL1.

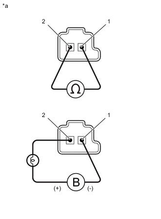
  2. ПРОВЕРЬТЕ ЭЛЕКТРОМАГНИТНЫЙ КЛАПАН ПЕРЕКЛЮЧЕНИЯ ПЕРЕДАЧ SL2


    1. A01MU8UC48
      *a

      Устройство с неподсоединенным жгутом проводов

      (электромагнитный клапан переключения передач SL2)

      Измерьте сопротивление в соответствии со значениями, приведенными в таблице ниже.

      Номинальное сопротивление
      Контакты для подключения диагностического прибора Условие Заданные условия
      1 - 2 20°C (68°F) 5,0-5,6 Ом
    2. Подсоедините положительный (+) вывод с лампой 21 Вт к контакту 1, а отрицательный (-) вывод – к контакту 2 разъема электромагнитного клапана SL2, а затем проверьте ход электромагнитного клапана переключения передач SL2.

      OK
      Слышен звук срабатывания электромагнитного клапана.

      Если результат не отвечает требованиям, замените электромагнитный клапан переключения передач SL2.

  3. ПРОВЕРЬТЕ ЭЛЕКТРОМАГНИТНЫЙ КЛАПАН ПЕРЕКЛЮЧЕНИЯ ПЕРЕДАЧ SL1


    1. A01MWH8C01
      *a

      Устройство с неподсоединенным жгутом проводов

      (электромагнитный клапан переключения передач S1)

      Измерьте сопротивление в соответствии со значениями, приведенными в таблице ниже.

      Номинальное сопротивление
      Подключение диагностического прибора Условие Заданные условия
      Контакт разъема электромагнитного клапана переключения передач S1 - корпус электромагнитного клапана переключения передач S1 15 - 25 °C (59 - 77 °F) 11-15 Ом
    2. Подсоедините положительный (+) вывод к контакту разъема электромагнитного клапана переключения передач, а отрицательный (-) вывод – к корпусу электромагнитного клапана переключения передач S1.

      OK
      Слышен звук срабатывания электромагнитного клапана.

      Если результат не отвечает требованиям, замените электромагнитный клапан переключения передач S1.

  4. ПРОВЕРЬТЕ ЭЛЕКТРОМАГНИТНЫЙ КЛАПАН ПЕРЕКЛЮЧЕНИЯ ПЕРЕДАЧ SL3


    1. A01MWH8C01
      *a

      Устройство с неподсоединенным жгутом проводов

      (электромагнитный клапан переключения передач S3)

      Измерьте сопротивление в соответствии со значениями, приведенными в таблице ниже.

      Номинальное сопротивление
      Подключение диагностического прибора Условие Номинальное значение
      Контакт разъема электромагнитного клапана переключения передач S3 - корпус электромагнитного клапана переключения передач S3 15 - 25 °C (59 - 77 °F) 11-15 Ом
    2. Подсоедините положительный (+) вывод к контакту разъема электромагнитного клапана переключения передач, а отрицательный (-) вывод – к корпусу электромагнитного клапана переключения передач S3.

      OK
      Слышен звук срабатывания электромагнитного клапана.

      Если результат не отвечает требованиям, замените электромагнитный клапан переключения передач S3.

  5. ПРОВЕРЬТЕ ЭЛЕКТРОМАГНИТНЫЙ КЛАПАН ПЕРЕКЛЮЧЕНИЯ ПЕРЕДАЧ SL2


    1. A01MUUGC05
      *a

      Устройство с неподсоединенным жгутом проводов

      (электромагнитный клапан переключения передач S2)

      Измерьте сопротивление в соответствии со значениями, приведенными в таблице ниже.

      Номинальное сопротивление
      Подключение диагностического прибора Условие Заданные условия
      Контакт разъема электромагнитного клапана переключения передач S2 - корпус электромагнитного клапана переключения передач S2 15 - 25 °C (59 - 77 °F) 11-15 Ом
    2. Подсоедините положительный (+) вывод к контакту разъема электромагнитного клапана переключения передач S2, а отрицательный (-) вывод – к корпусу электромагнитного клапана переключения передач S2.

      OK
      Слышен звук срабатывания электромагнитного клапана.

      Если результат не отвечает требованиям, замените электромагнитный клапан переключения передач S2.

  6. ПРОВЕРЬТЕ ЭЛЕКТРОМАГНИТНЫЙ КЛАПАН ПЕРЕКЛЮЧЕНИЯ ПЕРЕДАЧ S4


    1. A01MXWKC04
      *a

      Устройство с неподсоединенным жгутом проводов

      (электромагнитный клапан переключения передач S4)

      Измерьте сопротивление в соответствии со значениями, приведенными в таблице ниже.

      Номинальное сопротивление
      Подключение диагностического прибора Условие Заданные условия
      Контакт разъема электромагнитного клапана переключения передач S4 - корпус электромагнитного клапана переключения передач S4 15 - 25 °C (59 - 77 °F) 11-15 Ом
    2. Подсоедините положительный (+) вывод к контакту разъема электромагнитного клапана переключения передач S4, а отрицательный (-) вывод – к корпусу электромагнитного клапана переключения передач S4.

      OK
      Слышен звук срабатывания электромагнитного клапана.

      Если результат не отвечает требованиям, замените электромагнитный клапан переключения передач S4.

  7. ПРОВЕРЬТЕ ЭЛЕКТРОМАГНИТНЫЙ КЛАПАН ПЕРЕКЛЮЧЕНИЯ ПЕРЕДАЧ SR


    1. A01MVB1C04
      *a

      Устройство с неподсоединенным жгутом проводов

      (электромагнитный клапан переключения передач SR)

      Измерьте сопротивление в соответствии со значениями, приведенными в таблице ниже.

      Номинальное сопротивление
      Подключение диагностического прибора Условие Заданные условия
      Контакт разъема электромагнитного клапана переключения передач SR - корпус электромагнитного клапана переключения передач SR 15 - 25 °C (59 - 77 °F) 11 - 15 Ом
    2. Подсоедините положительный (+) вывод к контакту разъема электромагнитного клапана переключения передач SR, а отрицательный (-) вывод – к корпусу электромагнитного клапана переключения передач SR.

      OK
      Слышен звук срабатывания электромагнитного клапана.

      Если результат не отвечает требованиям, замените электромагнитный клапан переключения передач SR.

  8. ПРОВЕРЬТЕ ЭЛЕКТРОМАГНИТНЫЙ КЛАПАН ПЕРЕКЛЮЧЕНИЯ ПЕРЕДАЧ SLT


    1. A01MYNLC47
      *a

      Устройство с неподсоединенным жгутом проводов

      (электромагнитный клапан переключения передач SLT)

      Измерьте сопротивление в соответствии со значениями, приведенными в таблице ниже.

      Номинальное сопротивление
      Контакты для подключения диагностического прибора Условие Номинальное значение
      1 - 2 20 °C (68 °F) 5,0-5,6 Ом
    2. Подсоедините положительный (+) вывод с лампой 21 Вт к контакту 2, а отрицательный (-) вывод - к контакту 1 разъема SLT электромагнитного клапана переключения передач, а затем проверьте ход клапана.

      OK
      Слышен звук срабатывания электромагнитного клапана.

      Если значение не соответствует указанному, замените электромагнитный клапан переключения передач SLT.

  9. ПРОВЕРЬТЕ ЭЛЕКТРОМАГНИТНЫЙ КЛАПАН ПЕРЕКЛЮЧЕНИЯ ПЕРЕДАЧ SLU


    1. A01MYNLC48
      *a

      Устройство с неподсоединенным жгутом проводов

      (электромагнитный клапан переключения передач SLU)

      Измерьте сопротивление в соответствии со значениями, приведенными в таблице ниже.

      Номинальное сопротивление
      Подключение диагностического прибора Условие Заданные условия
      1 - 2 20 °C (68 °F) 5,0-5,6 Ом
    2. Подсоедините положительный (+) вывод с лампой 21 Вт к контакту 2, а отрицательный (-) вывод - к контакту 1 разъема SLU электромагнитного клапана переключения передач, а затем проверьте ход клапана.

      OK
      Слышен звук срабатывания электромагнитного клапана.

      Если результат не отвечает требованиям, замените электромагнитный клапан переключения передач SLU.