ДАТЧИК ПОЛОЖЕНИЯ ПАРКИНГА / НЕЙТРАЛИ УСТАНОВКА

ПОРЯДОК ВЫПОЛНЕНИЯ


  1. УСТАНОВИТЕ ДАТЧИК ПОЛОЖЕНИЯ ПАРКИНГА / НЕЙТРАЛИ В СБОРЕ

    Tech Tips

    Перед установкой датчика положения паркинга/нейтрали убедитесь, что вал рычага клапана с ручным управлением не повернут, так как пружина фиксатора может отсоединиться от вала рычага клапана с ручным управлением.


    1. Очистите болт и отверстие под болт.

    2. Нанесите герметик на последние 2-3 нитки резьбы болта.

      Герметик
      Фирменный герметик 1344 от компании Toyota, Three Bond 1344 или аналогичный
    3. Предварительно установите датчик положения паркинга/нейтрали в сборе на автоматическую трансмиссию и закрепите ее болтом.

      Tech Tips

      При регулировке датчика положения паркинга/нейтрали в сборе затяните болт с номинальным моментом затяжки.

    4. Установите новый стопор гайки и контргайку на датчик положения паркинга/нейтрали.

      Torque:
      6,9 Н*м  { 70 кгс*см, 61 фунт-сила-дюйм }
    5. Временно установите правый рычаг приводного вала трансмиссии на датчик положения паркинга/нейтрали в сборе и закрепите его гайкой с пружинной шайбой.

      Tech Tips

      При регулировке датчика положения паркинга/нейтрали в сборе затяните гайку с номинальным моментом затяжки.

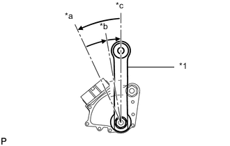
    6. A01MXNYC03
      *1 Правый рычаг приводного вала трансмиссии
      *a P
      *b R
      *c N

      Поверните правый рычаг приводного вала трансмиссии до упора против часовой стрелки, а затем на 2 прорези по часовой стрелке.

    7. Отверните гайку, снимите пружинную шайбу и снимите правый рычаг приводного вала трансмиссии с датчика положения паркинга/нейтрали в сборе.

    8. A01MUDMC04
      *a Базовая линия нейтрали
      *b Канавка

      Совместите базовую линию нейтрали с канавкой, как показано на рисунке.

    9. Удерживая датчик положения паркинга/нейтрали в сборе в таком положении, затяните болт.

      Torque:
      12,8 Н*м  { 131 кгс*см, 9 фунт-сила-футов }
    10. С помощью отвертки обожмите контргайку стопорной пластиной.

    11. Установите правый рычаг приводного вала трансмиссии на датчик положения паркинга/нейтрали в сборе и закрепите его гайкой с пружинной шайбой.

      Torque:
      15,7 Н*м  { 160 кгс*см, 12 фунт-сила-дюймов }
    12. Подсоедините разъем датчика положения паркинга/нейтрали.

  2. УСТАНОВИТЕ ТЯГУ НАПОЛЬНОГО МЕХАНИЗМА ПЕРЕКЛЮЧЕНИЯ ПЕРЕДАЧ В СБОРЕ


    1. A01MX38

      С помощью штифта установите тягу напольного механизма переключения передач в сборе к правому рычагу приводного вала трансмиссии.

    2. Установите новый фиксатор.

  3. ПРОВЕРЬТЕ ПОЛОЖЕНИЕ РЫЧАГА ПЕРЕКЛЮЧЕНИЯ ПЕРЕДАЧ

    Нажмите здесь Click here

  4. ПРОВЕРЬТЕ РАБОТУ ДАТЧИКА ПОЛОЖЕНИЯ ПАРКИНГА/НЕЙТРАЛИ В СБОРЕ

    Нажмите здесь Click here