СИСТЕМА АВТОМАТИЧЕСКОЙ ТРАНСМИССИИ Цепь переключателя управления переключением

ОПИСАНИЕ

Когда рычаг переключения передач находится в положении D, приведение в действие переключателя управления переключением передач "-" вызывает переход трансмиссии в режим фиксации диапазона, в котором ограничивается наивысшая передача. Манипулируя переключателями управления переключением "+" (ВВЕРХ) или "-" (ВНИЗ), можно переключать диапазоны передач.

Если во время движения с рычагом переключения передач в положении D (в режиме фиксации диапазона) автомобиль останавливается, или педаль акселератора непрерывно удерживается в течение определенного периода времени на одной и той же передаче, автомобиль автоматически возвращается в нормальный для положения D режим работы.

Когда рычаг переключения передач находится в положении M, можно использовать максимальные частоты вращения коленчатого вала двигателя, зафиксировав передачу в автомобиле. Фиксация передачи означает отсутствие переключений передач до приведения в действие какого-либо из переключателей управления переключением "+" (ВВЕРХ) и "-" (ВНИЗ).

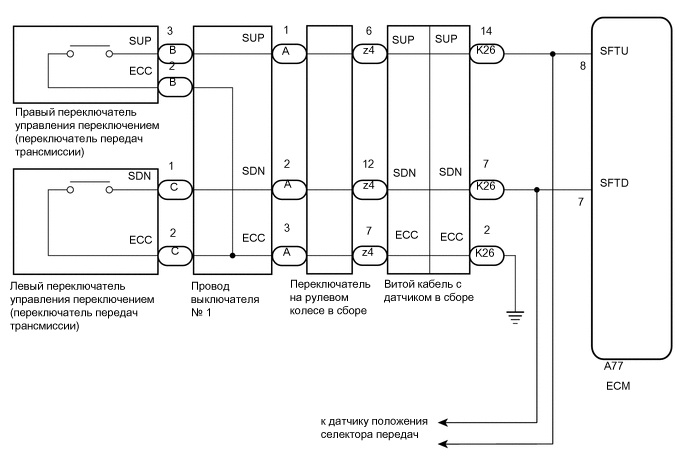
СХЕМА СОЕДИНЕНИЙ

A01MXASE04

ПОРЯДОК ВЫПОЛНЕНИЯ


  1. ПРОВЕРЬТЕ ЖГУТ ПРОВОДОВ И РАЗЪЕМ (ПЕРЕКЛЮЧАТЕЛЬ УПРАВЛЕНИЯ ПЕРЕКЛЮЧЕНИЕМ - ЕСМ)


    1. A01MU48C25
      *a

      Вид сзади разъема со стороны жгута проводов

      (к ECM)

      Отсоедините разъем A77 ECM.

    2. Измерьте сопротивление между всеми контактами в каждом положении переключателя управления переключением.

      Номинальное сопротивление
      Подключение диагностического прибора Положение переключателя управления переключением Заданные условия
      A77-8 (SFTU) - масса "+" постоянно вытянут (переключение на более высокую передачу) Менее 2,5 Ом
      "+" отпущен (переключение на более высокую передачу) 1 МОм или более
      A77-7 (SFTD) - масса "-" постоянно вытянут (переключение на более низкую передачу) Менее 2,5 Ом
      "-" отпущен (переключение на более низкую передачу) 1 МОм или более
      Результат
      Следующий шаг
      OK
      NG

    OK
    NG
  2. ПРОВЕРЬТЕ ЖГУТ ПРОВОДОВ И РАЗЪЕМ (ВИТОЙ КАБЕЛЬ С ДАТЧИКОМ В СБОРЕ - МАССА)


    1. A01MUTSC04
      *a

      Вид спереди разъема со стороны жгута проводов:

      (к витому кабелю в сборе)

      Отсоедините разъем витого кабеля.

    2. Измерьте сопротивление в соответствии со значениями, приведенными в таблице ниже.

      Номинальное сопротивление
      Подключение диагностического прибора Условие Заданные условия
      K26-2 (ECC) - масса Всегда Менее 1 Ом
      Результат
      Следующий шаг
      OK
      NG

    NG
    OK
  3. ПРОВЕРЬТЕ ВИТОЙ КАБЕЛЬ С ДАТЧИКОМ В СБОРЕ


    1. Проверьте витой кабель с датчиком в сборе.

      Нажмите здесь Click here

      Результат
      Перейти к
      OK
      NG

    NG
    OK
  4. ПРОВЕРЬТЕ ЛЕВЫЙ ПЕРЕКЛЮЧАТЕЛЬ УПРАВЛЕНИЯ ПЕРЕКЛЮЧЕНИЕМ (ПЕРЕКЛЮЧАТЕЛЬ ПЕРЕДАЧ ТРАНСМИССИИ В СБОРЕ)


    1. A01MWTZC04
      *a

      Устройство с неподсоединенным жгутом проводов

      (левый переключатель управления переключением (переключатель передач трансмиссии))

      Снимите переключатель передач трансмиссии.

      Нажмите здесь Click here

    2. Измерьте сопротивление между всеми контактами в каждом положении переключателя управления переключением.

      Номинальное сопротивление
      Подключение диагностического прибора Положение переключателя управления переключением Заданные условия
      C-1 (SDN) - C-2 (ECC) "-" постоянно вытянут (переключение на более низкую передачу) Менее 2,5 Ом
      "-" отпущен (переключение на более низкую передачу) 1 МОм или более
      Результат
      Перейти к
      OK
      NG

    NG
    OK
  5. ПРОВЕРЬТЕ ПРАВЫЙ ПЕРЕКЛЮЧАТЕЛЬ УПРАВЛЕНИЯ ПЕРЕКЛЮЧЕНИЕМ (ПЕРЕКЛЮЧАТЕЛЬ ПЕРЕДАЧ ТРАНСМИССИИ В СБОРЕ)


    1. A01MXMBC03
      *a

      Устройство с неподсоединенным жгутом проводов

      (правый переключатель управления переключением (переключатель передач трансмиссии))

      Снимите переключатель передач трансмиссии.

      Нажмите здесь Click here

    2. Измерьте сопротивление между всеми контактами в каждом положении переключателя управления переключением.

      Номинальное сопротивление
      Подключение диагностического прибора Положение переключателя управления переключением Заданные условия
      B-3 (SUP) - B-2 (ECC) "+" постоянно вытянут (переключение на более высокую передачу) Менее 2,5 Ом
      "+" отпущен (переключение на более высокую передачу) 1 МОм или более
      Результат
      Следующий шаг
      OK
      NG

    NG
    OK
  6. ПРОВЕРЬТЕ ЖГУТ ПРОВОДОВ ПЕРЕКЛЮЧАТЕЛЯ № 1


    1. A01MU6SC01
      *a

      Устройство с неподсоединенным жгутом проводов

      (провод выключателя № 1)

      Установите переключатель передач трансмиссии.

    2. Отсоедините разъем жгута проводов переключателя № 1 от переключателя на рулевом колесе.

    3. Измерьте сопротивление между всеми контактами в каждом положении переключателя управления переключением.

      Номинальное сопротивление
      Подключение диагностического прибора Положение переключателя управления переключением Заданные условия
      A-1 (SUP) - A-3 (ECC) "+" постоянно вытянут (переключение на более высокую передачу) Менее 2,5 Ом
      "+" отпущен (переключение на более высокую передачу) 1 МОм или более
      A-2 (SDN) - A-3 (ECC) "-" постоянно вытянут (переключение на более низкую передачу) Менее 2,5 Ом
      "-" отпущен (переключение на более низкую передачу) 1 МОм или более
      Результат
      Следующий шаг
      OK
      NG

    NG
    OK
  7. ПРОВЕРЬТЕ ПЕРЕКЛЮЧАТЕЛИ НА РУЛЕВОМ КОЛЕСЕ


    1. A01MWL3C04
      *a

      Устройство с неподсоединенным жгутом проводов

      (переключатели на рулевом колесе в сборе)

      Подсоедините разъем жгута проводов переключателя № 1 к переключателю на рулевом колесе.

    2. Отсоедините разъем переключателей на рулевом колесе.

    3. Измерьте сопротивление между всеми контактами в каждом положении переключателя управления переключением.

      Номинальное сопротивление
      Подключение диагностического прибора Положение переключателя управления переключением Заданные условия
      z4-6 (SUP) - z4-7 (ECC) "+" постоянно вытянут (переключение на более высокую передачу) Менее 2,5 Ом
      "+" отпущен (переключение на более высокую передачу) 1 МОм или более
      z4-12 (SDN) - z4-7 (ECC) "-" постоянно вытянут (переключение на более низкую передачу) Менее 2,5 Ом
      "-" отпущен (переключение на более низкую передачу) 1 МОм или более
      Результат
      Перейти к
      OK
      NG

    NG
    OK
  8. ПРОВЕРЬТЕ ЖГУТ ПРОВОДОВ И РАЗЪЕМ (ВИТОЙ КАБЕЛЬ С ДАТЧИКОМ В СБОРЕ - ECM)


    1. Отсоедините разъем K26 витого кабеля.

    2. Отсоедините разъем A77 ECM.

    3. Измерьте сопротивление в соответствии со значениями, приведенными в таблице ниже.

      Номинальное сопротивление
      Подключение диагностического прибора Условие Заданные условия
      A77-8 (SFTU) - K26-14 (SUP) Всегда Менее 1 Ом
      A77-7 (SFTD) - K26-7 (SDN) Всегда Менее 1 Ом
      A77-8 (SFTU) или K26-14 (SUP) - масса Всегда 10 кОм или более
      A77-7 (SFTD) или K26-7 (SDN) - масса Всегда 10 кОм или более
      Результат
      Следующий шаг
      OK
      NG

    OK
    NG