WINDSHIELD DEICER SWITCH ON-VEHICLE INSPECTION

PROCEDURE


  1. CHECK FRONT WIPER DEICER SWITCH


    1. Disconnect the windshield deicer switch connector.

    2. A00YR7IC01
      *a

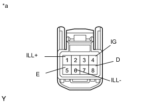
      Rear view wireharness connector

      (to Front Wiper Deicer Switch)

      Measure the voltage and resistance according to the value(s) in the table below.

      Standard Voltage
      Tester Connection Condition Specified Condition
      1 (ILL+) - 6 (ILL-) Headlight dimmer switch OFF → ON Below 1 V → 10 to 14 V
      8 (D) - 5 (E) Ignition switch ON 10 to 14 V
      4 (IG) - 5 (E) Ignition switch ON 10 to 14 V
      Standard Resistance
      Tester Connection Condition Specified Condition
      6 (ILL-) - Body ground Always Below 1 Ω
      5 (E) - Body ground Always Below 1 Ω
    3. Reconnect the windshield deicer connector.

    4. A00YVTEC01
      *a

      Component with harness connected

      (Front Wiper Deicer Switch)

      Measure the voltage according to the value(s) in the table below.

      Standard Voltage
      Tester Connection Condition Specified Condition
      8 (D) - 5 (E) Ignition switch ON, windshield deicer switch OFF → ON 10 to 14 V → Below 1 V (after 15 +/- 3 minutes: 10 to 14 V)
      4 (IG) - 5 (E) Ignition switch ON, windshield deicer switch ON 10 to 14 V → Below 1 V
    5. A00YS1LC01
      *1 Illumination Area
      *2 ON/OFF Indicator

      Check the ON/OFF indicator of the switch.


      1. Push the switch several times. Check that the ON/OFF indicator illuminates or turns off according to the switch operation.

    6. A00YVUNC01
      *1 ON/OFF Indicator
      *2 Illumination Area

      Check the illumination area of the switch.


      1. Check that the ON/OFF indicator illuminates or turns off according to the switch operation.