ENTRY AND START SYSTEM(for Start Function) Engine does not Start

DESCRIPTION

When the key is in the vehicle and the engine switch is pressed, the certification ECU (smart key ECU assembly) receives a signal and changes the power source mode. In addition, when the shift lever is in P or N*1 and the brake pedal*1 or clutch pedal*2 is depressed, the engine can be started by pressing the engine switch.


Tech Tips


  • When the certification ECU (smart key ECU assembly) is replaced with a new one and the cable is connected to the negative (-) battery terminal, the power source mode changes to on (IG).

  • When the battery cable is disconnected and reconnected, the power source returns to the mode it was in before the battery cable was disconnected.

Related Data List and Active Test Items
Problem Symptom Data List Item Active Test Item
Engine does not start

    Power Source Control:

  • Stop Light Switch1*1

  • Steering Unlock Switch

  • Power Supply Condition

  • IG1 Relay Monitor(Inside)

  • IG2 Relay Monitor(Inside)

  • IG1 Relay Monitor(Outside)

  • IG2 Relay Monitor(Outside)

  • Latch Circuit

  • Shift P Signal*1

  • Neutral SW/ Clutch SW

  • Starter Request Signal


    Entry&Start:

  • Immobiliser

  • S Code Check*2

  • L Code Check

  • Engine Start Request


    Starting Control:

  • Ignition

  • Starter SW

  • Shift Position P or N*1

-

WIRING DIAGRAM

Refer to "System Diagram".

Click here

CAUTION / NOTICE / HINT

Note


  • When using the GTS with the engine switch off to troubleshoot:

    Connect the GTS to the DLC3 and turn a courtesy light switch on and off at 1.5 second intervals until communication between the GTS and vehicle begins.

  • The entry and start system (for Start Function) uses a multiplex communication system (LIN communication system) and the CAN communication system. Inspect the communication function by following How to Proceed with Troubleshooting Click here. Troubleshoot the entry and start system (for Start Function) after confirming that the communication systems are functioning properly.

  • If the entry and start system is disabled through the customize function, enable the system before performing troubleshooting.

    Click here

  • Before replacing the certification ECU (smart key ECU assembly), steering lock ECU (steering lock actuator assembly), ECM or ID code box (immobiliser code ECU) (w/ Multi-information Display (Dot Display Type)), refer to the entry and start system (for Start Function) precaution.

    Click here

  • Inspect the fuses of circuits related to this system before performing the following inspection procedure.

  • If the steering lock ECU (steering lock actuator assembly) is replaced, be sure to confirm that the steering is unlocked by turning the steering wheel to the left and right before starting the engine. If the steering is locked for any reason, open and close a door with the engine switch off, and then unlock the steering by pressing the engine switch. This prevents the engine from starting while the steering is locked.

  • After completing repairs, confirm that the problem does not occur.

Tech Tips

If the brake pedal is repeatedly depressed while the engine is stopped, the brake booster pressure is released and the force required to depress the brake pedal to illuminate the stop lights increases.

PROCEDURE


  1. CHECK BATTERY


    1. Measure the battery voltage.

      Standard voltage
      11 to 14 V

      Tech Tips


      • It may be possible to tell whether the vehicle battery is discharged by operating the horn.

      • If the battery voltage is less than 11 V, charge or replace it.

      Result
      Proceed to
      NEXT

    NEXT
  2. CHECK FOR DTC


    1. Using the GTS, confirm the output of DTCs for all systems.

      OK
      No DTCs are output.

      Note

      Make sure that no DTCs are output. If any DTCs are output, proceed to the Diagnostic Trouble Code Chart.

      Result
      Proceed to
      OK
      NG

    NG
    OK
  3. CHECK WAVE ENVIRONMENT


    1. If the problem occurs in certain locations or times of day, the possibility of wave interference is high.

      Tech Tips

      Whether or not the problem is due to wave interference can be checked by holding the electrical key transmitter sub-assembly near the door control receiver (RF band).

      OK
      Engine starts.
      Result
      Proceed to
      OK
      NG

    OK
    NG
  4. CHECK ENGINE SWITCH CONDITION


    1. Get into the vehicle while carrying an electrical key transmitter sub-assembly.

    2. Move the shift lever to P (except Manual Transaxle).

    3. With the brake pedal (except Manual Transaxle) or clutch pedal (for Manual Transaxle) released, check that pressing the engine switch causes the power source mode to change.

      Result
      Proceed to
      Off → on (ACC) → on (IG) → off
      Power source mode does not change to on (ACC) and on (IG)
      Power source mode changes to on (IG) but not to on (ACC)
      Power source mode changes to on (ACC) but not to on (IG)

    Power source mode does not change to on (ACC) and on (IG)
    Power source mode changes to on (IG) but not to on (ACC)
    Power source mode changes to on (ACC) but not to on (IG)
    Off → on (ACC) → on (IG) → off
  5. CHECK CRANKING FUNCTION


    1. Get into the vehicle while carrying an electrical key transmitter sub-assembly.

    2. Move the shift lever to P (except Manual Transaxle).

    3. Depress the brake pedal (except Manual Transaxle) or clutch pedal (for Manual Transaxle)

    4. w/ Multi-information Display (Segment Display Type):

      Confirm that the entry warning light is illuminated in green, and then press the engine switch and check that the engine cranks.

    5. w/ Multi-information Display (Dot Display Type):

      Confirm that the entry warning light is displayed, and then press the engine switch and check that the engine cranks.

      OK
      Engine cranks.
      Result
      Proceed to
      OK
      NG (for 1AD-FTV)
      NG (for 2AD-FHV)
      NG (for 2AD-FTV (for DPF))
      NG (for 2AD-FTV (for CCo))
      NG (for 2AR-FE)
      NG (for 3ZR-FAE)
      NG (for 3ZR-FE)

    NG (for 1AD-FTV)
    NG (for 2AD-FHV)
    NG (for 2AD-FTV (for DPF))
    NG (for 2AD-FTV (for CCo))
    NG (for 2AR-FE)
    NG (for 3ZR-FAE)
    NG (for 3ZR-FE)
    OK
  6. CHECK SECURITY INDICATOR LIGHT (ENGINE IMMOBILISER SYSTEM UNSET)


    1. Get into the vehicle while carrying an electrical key transmitter sub-assembly.

    2. Move the shift lever to P (except Manual Transaxle).

    3. Press the engine switch with the brake pedal (except Manual Transaxle) or clutch pedal (for Manual Transaxle) released and check that the security indicator light changes from blinking to off at the same time that the power source mode changes to on (ACC).

      Tech Tips

      It is determined that the engine immobiliser function is operating correctly if the security indicator light changes from blinking to off at the same time that the power source mode changes to on (ACC).

      OK
      Security indicator light changes from blinking to off at the same time that the power source mode changes to on (ACC).
      Result
      Proceed to
      OK
      NG (w/ Multi-information Display (Dot Display Type))
      NG (w/ Multi-information Display (Segment Display Type))

    NG (w/ Multi-information Display (Dot Display Type))
    NG (w/ Multi-information Display (Segment Display Type))
    OK
  7. CHECK COMBINATION METER ASSEMBLY


    1. Get into the vehicle while carrying the key, move the shift lever to P (except Manual Transaxle), press the engine switch while depressing the brake pedal (except Manual Transaxle) or clutch pedal (for Manual Transaxle) and check that the combination meter indicator changes.

      Tech Tips

      If the entry warning light illuminates in green (w/ Multi-information Display (Segment Display Type)) or entry warning light is displayed (w/ Multi-information Display (Dot Display Type)) when the procedure above is performed, the P, N and brake signals*1 or clutch signals*2 can be considered to be normal.


      • *1: except Manual Transaxle

      • *2: for Manual Transaxle

      OK
      The entry warning light illuminates in green (w/ Multi-information Display (Segment Display Type)).
      The entry warning light is displayed (w/ Multi-information Display (Dot Display Type)).
      Result
      Proceed to
      OK
      NG (except Manual Transaxle)
      NG (for Manual Transaxle)

    NG (except Manual Transaxle)
    NG (for Manual Transaxle)
    OK
  8. READ VALUE USING GTS (STARTER SW)


    1. Connect the GTS to the DLC3.

    2. Turn the engine switch on (IG).

    3. Turn the GTS on.

    4. Enter the following menus: Body Electrical / Starting Control / Data List.

    5. Get into the vehicle while carrying the electrical key transmitter sub-assembly, move the shift lever to P (except Manual Transaxle), press the engine switch while depressing the brake pedal (except Manual Transaxle) or clutch pedal (for Manual Transaxle) and confirm that the Data List item changes.


      Body Electrical > Starting Control > Data List
      Tester Display Measurement Item Range Normal Condition Diagnostic Note
      Starter SW Starter operation request ON or OFF

      ON: Starter operation requested

      OFF: Starter operation not requested

      When malfunctioning, the engine will not crank

      Body Electrical > Starting Control > Data List
      Tester Display
      Starter SW
      OK
      The Data List item changes.
      Result
      Proceed to
      OK
      NG

    NG
    OK
  9. INSPECT ST RELAY (STARTER RELAY ASSEMBLY)


    1. Inspect the ST relay (starter relay assembly).


      Result
      Proceed to
      OK
      NG

    NG
    OK
  10. CHECK HARNESS AND CONNECTOR (CERTIFICATION ECU (SMART KEY ECU ASSEMBLY) - BODY GROUND)


    1. A01KDEKC43
      *a

      Rear view of wire harness connector

      (to Certification ECU (Smart Key ECU Assembly))

      Disconnect the G82 certification ECU (smart key ECU assembly) connector.

    2. Move the shift lever to P or N.

    3. Measure the resistance according to the value(s) in the table below.

      Standard Resistance
      Tester Connection Condition Specified Condition
      G82-5 (STAR) - Body ground 20°C (68°F) 100 to 150 Ω
      G82-7 (STA) - Body ground
      Result
      Proceed to
      OK
      NG

    NG
    OK
  11. INSPECT STARTER ASSEMBLY


    1. Inspect starter assembly.


      Result
      Proceed to
      OK
      NG (for 1AD-FTV (w/ Stop And Start System))
      NG (for 1AD-FTV (w/o Stop And Start System)
      NG (for 2AD-FHV)
      NG (for 2AD-FTV)
      NG (for 2AR-FE (for 1.6 kw Type))
      NG (for 2AR-FE (for 1.7 kw Type))
      NG (for 3ZR-FAE)
      NG (for 3ZR-FAE (w/ Stop And Start System))
      NG (for 3ZR-FE (for 1.0 kw Type))
      NG (for 3ZR-FE (for 1.3 kw Type))

    NG (for 1AD-FTV (w/ Stop And Start System))
    NG (for 1AD-FTV (w/o Stop And Start System)
    NG (for 2AD-FHV)
    NG (for 2AD-FTV)
    NG (for 2AR-FE (for 1.6 kw Type))
    NG (for 2AR-FE (for 1.7 kw Type))
    NG (for 3ZR-FAE)
    NG (for 3ZR-FAE (w/ Stop And Start System))
    NG (for 3ZR-FE (for 1.0 kw Type))
    NG (for 3ZR-FE (for 1.3 kw Type))
    OK
  12. CHECK HARNESS AND CONNECTOR (BATTERY - STARTER AND ST RELAY (STARTER RELAY ASSEMBLY))


    1. Remove the starter assembly from the vehicle to perform an inspection.

    2. Remove the ST relay (starter relay assembly) from the No. 2 engine room relay block assembly.

    3. Measure the voltage according to the value(s) in the table below.

      Standard Voltage
      for 2AR-FE
      Tester Connection Condition Specified Condition
      C5-1 - Body ground Always 11 to 14 V
      5 - Body ground
      for 3ZR-FAE (w/o Stop and Start System), 3ZR-FE
      Tester Connection Condition Specified Condition
      C6-1 - Body ground Always 11 to 14 V
      5 - Body ground
      for 1AD-FTV, 2AD-FHV, 2AD-FTV
      Tester Connection Condition Specified Condition
      C4-1 - Body ground Always 11 to 14 V
      5 - Body ground
      for 3ZR-FAE (w/ Stop and Start System)
      Tester Connection Condition Specified Condition
      B96-1 (B) - Body ground Always 11 to 14 V
      5 - Body ground
    4. Measure the resistance according to the value(s) in the table below.

      Standard Resistance
      except 3ZR-FAE (w/ Stop and Start System)
      Tester Connection Condition Specified Condition
      3 - B6-1 Always Below 1 Ω
      3 or B6-1 - Body ground 10 kΩ or higher
      for 3ZR-FAE (w/ Stop and Start System)
      Tester Connection Condition Specified Condition
      3 - B87-2 (SL1) Always Below 1 Ω
      3 or B87-2 (SL1) - Body ground 10 kΩ or higher
      Result
      Proceed to
      OK
      NG

    OK
    NG
  13. READ VALUE USING GTS (NEUTRAL SW/ CLUTCH SW, SHIFT POSITION P OR N)


    1. Connect the GTS to the DLC3.

    2. Turn the engine switch on (IG).

    3. Turn the GTS on.

    4. Enter the following menus: Body Electrical / Power Source Control and Starting Control / Data List.

    5. According to the display on the GTS, read the Data List.


      Body Electrical > Power Source Control > Data List
      Tester Display Measurement Item Range Normal Condition Diagnostic Note
      Neutral SW/ Clutch SW Shift position (P, N) ON or OFF

      ON: Shift lever in P or N

      OFF: Shift lever not in P or N


      • Use this item to determine whether the park/neutral position switch is malfunctioning.

      • When the engine cannot be started due to a park/neutral position switch malfunction, OFF is displayed.


      Body Electrical > Power Source Control > Data List
      Tester Display
      Neutral SW/ Clutch SW

      Body Electrical > Starting Control > Data List
      Tester Display Measurement Item Range Normal Condition Diagnostic Note
      Shift Position P or N Condition of park/neutral position switch ON or OFF

      ON: Shift lever in P or N

      OFF: Shift lever not in P or N

      When malfunctioning, the engine will not crank.

      Body Electrical > Starting Control > Data List
      Tester Display
      Shift Position P or N
      OK
      The item in the Data List changes according to the shift position.
      Result
      Proceed to
      OK
      NG

    NG
    OK
  14. READ VALUE USING GTS (STOP LIGHT SWITCH1)


    1. Connect the GTS to the DLC3.

    2. Turn the engine switch on (IG).

    3. Turn the GTS on.

    4. Enter the following menus: Body Electrical / Power Source Control / Data List.

    5. According to the display on the GTS, read the Data List.


      Body Electrical > Power Source Control > Data List
      Tester Display Measurement Item Range Normal Condition Diagnostic Note
      Stop Light Switch1 State of brake pedal ON or OFF

      ON: Brake pedal depressed

      OFF: Brake pedal released


      • Use this item to determine whether the stop light switch is malfunctioning.

      • The engine cannot be started when this item is OFF.

      • When this item is malfunctioning, the engine can be started by pressing and holding the engine switch for a certain period of time.


      Body Electrical > Power Source Control > Data List
      Tester Display
      Stop Light Switch1
      OK
      The item in the Data List changes when the brake pedal is depressed and released.
      Result
      Proceed to
      OK
      NG

    OK
    NG
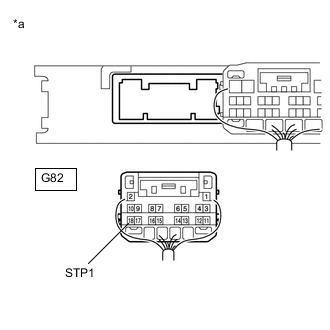
  15. CHECK HARNESS AND CONNECTOR (CERTIFICATION ECU (SMART KEY ECU ASSEMBLY) - STOP LIGHT SWITCH ASSEMBLY)


    1. Disconnect the A5 connector from the stop light switch assembly.

    2. Measure the resistance according to the value(s) in the table below.

      Standard Resistance
      Tester Connection Condition Specified Condition
      G82-18 (STP1) - A5-1 Always Below 1 Ω
      G82-18 (STP1) or A5-1- Body ground 10 kΩ or higher
    3. A01KAXZC13
      *a

      Rear view of wire harness connector

      (to Certification ECU (Smart Key ECU Assembly))

      Reconnect the A5 connector from the stop light switch assembly.

    4. Measure the voltage according to the value(s) in the table below.

      Standard Voltage
      Tester Connection Condition Specified Condition
      G82-18 (STP1) - Body ground Brake pedal released 1 V or less
      Brake pedal depressed 9 V or higher
      Result
      Proceed to
      OK
      NG

    NG
    OK
  16. INSPECT STOP LIGHT SWITCH ASSEMBLY


    1. Disconnect the A5 connector from the stop light switch assembly.

    2. Inspect the stop light switch assembly.

      Click here

      Result
      Proceed to
      OK
      NG

    OK
    NG
  17. CHECK PARK/NEUTRAL POSITION SWITCH ASSEMBLY


    1. Disconnect the B36 connector from the park/neutral position switch assembly.

    2. Inspect the park/neutral position switch assembly.


      • for Park/neutral position switch assembly (for U660F)

        Click here

      • for Park/neutral position switch assembly (for U760E)

        Click here

      • for Park/neutral position switch assembly (for U760F)

        Click here

      • for Park/neutral position switch assembly (for K111)

        Click here

      • for Park/neutral position switch assembly (for K111F)

        Click here

      • for Park/neutral position switch assembly (for K114F)

        Click here

      Result
      Proceed to
      OK
      NG (for U660F)
      NG (for U760E)
      NG (for U760F)
      NG (for K111)
      NG (for K111F)
      NG (for K114F)

    NG (for U660F)
    NG (for U760E)
    NG (for U760F)
    NG (for K111)
    NG (for K111F)
    NG (for K114F)
    OK
  18. CHECK HARNESS AND CONNECTOR (CERTIFICATION ECU (SMART KEY ECU ASSEMBLY) - PARK/NEUTRAL POSITION SWITCH)


    1. Disconnect the G82 certification ECU (smart key ECU assembly) connector.

    2. Disconnect the B36 connector from the park/neutral position switch.

    3. Measure the resistance according to the value(s) in the table below.

      Standard Resistance
      Tester Connection Condition Specified Condition
      G82-5 (STAR) - B36-4 (B) Always Below 1 Ω
      G82-5 (STAR) or B36-4 (B) - Body ground Always 10 kΩ or higher
    4. A01KDEKC39
      *a

      Rear view of wire harness connector

      (to Certification ECU (Smart Key ECU Assembly))

      Reconnect the B36 connector from the park/neutral position switch assembly.

    5. Measure the voltage according to the value(s) in the table below.

      Standard Voltage
      Tester Connection Switch Condition Specified Condition
      G82-5 (STAR) - Body ground Engine switch pressed and held with brake pedal depressed (starter on) → Engine switch released after approximately 1 second elapses (starter off) 6 V or higher* → 1.5 V or less

      Tech Tips

      *: When the engine is cranking, the battery voltage may momentarily drop to approximately 6 V.

      Result
      Proceed to
      OK
      NG

    OK
    NG
  19. READ VALUE USING GTS (NEUTRAL SW/ CLUTCH SW)


    1. Connect the GTS to the DLC3.

    2. Turn the engine switch on (IG).

    3. Turn the GTS on.

    4. Enter the following menus: Body / Power Source Control/ Data List.

    5. According to the display on the GTS, read the Data List.


      Body Electrical > Power Source Control > Data List
      Tester Display Measurement Item Range Normal Condition Diagnostic Note
      Neutral SW/ Clutch SW State of clutch pedal ON or OFF

      ON: Clutch pedal depressed

      OFF: Clutch pedal released


      • Use this item to determine whether the clutch position switch is malfunctioning.

      • The engine cannot be started when this item is "OFF".


      Body Electrical > Power Source Control > Data List
      Tester Display
      Neutral SW/ Clutch SW
      OK
      ON (clutch pedal depressed) and OFF (clutch pedal released) appear on the screen according to the condition of the clutch pedal.
      Result
      Proceed to
      OK
      NG

    OK
    NG
  20. INSPECT CLUTCH START SWITCH ASSEMBLY


    1. Inspect the clutch start switch assembly.

      Click here

      Result
      Proceed to
      OK
      NG

    NG
    OK
  21. CHECK HARNESS AND CONNECTOR (CERTIFICATION ECU (SMART KEY ECU ASSEMBLY) - CLUTCH START SWITCH ASSEMBLY)


    1. Disconnect the G82 certification ECU (smart key ECU assembly) connector.

    2. Disconnect the A4 or F2 clutch start switch connector

    3. Measure the resistance according to the value(s) in the table below.

      Standard Resistance
      for RHD
      Tester Connection Condition Specified Condition
      G82-5 (STAR) - F2-2 Always Below 1 Ω
      G82-5 (STAR) or F2-2 - Body ground Always 10 kΩ or higher
      for LHD
      Tester Connection Condition Specified Condition
      G82-5 (STAR) - A4-2 Always Below 1 Ω
      G82-5 (STAR) or A4-2 - Body ground Always 10 kΩ or higher
    4. A01KDEKC39
      *a

      Rear view of wire harness connector

      (to Certification ECU (Smart Key ECU Assembly))

      Reconnect the A4 or F2 clutch start switch assembly connector.

    5. Measure the voltage according to the value(s) in the table below.

      Standard Voltage
      Tester Connection Condition Specified Condition
      G82-5 (STAR) - Body ground Engine switch pressed and held with clutch start switch depressed (starter on) → Engine switch released after approximately 1 second elapses (starter off) 6 V or higher* → 1.5 V or less

      Tech Tips

      *: When the engine is cranking, the battery voltage may momentarily drop to approximately 6 V.

      Result
      Proceed to
      OK
      NG

    OK
    NG
  22. READ VALUE USING GTS (S CODE CHECK)


    1. Connect the GTS to the DLC3.

    2. Turn the engine switch on (IG).

    3. Turn the GTS on.

    4. Enter the following menus: Body Electrical / Entry&Start / Data List.

    5. According to the display on the GTS, read the Data List.


      Body Electrical > Entry&Start > Data List
      Tester Display Measurement Item Range Normal Condition Diagnostic Note
      S Code Check Verification result between certification ECU (smart key ECU assembly) and ID code box (immobiliser code ECU) OK or NG

      OK: Verification result normal

      NG: Verification result abnormal

      When NG is displayed:


      • The ID code for the certification ECU (smart key ECU assembly) or ID code box (immobiliser code ECU) is not registered or the certification ECU (smart key ECU assembly) or ID code box (immobiliser code ECU) is malfunctioning.

      • The steering cannot be locked.

      • The steering cannot be unlocked (the engine cannot be started).


      Body Electrical > Entry&Start > Data List
      Tester Display
      S Code Check

      Tech Tips


        Reasons for verification failure:

      • The certification ECU (smart key ECU assembly) or the ID code box (immobiliser code ECU) is malfunctioning.

      • There is a problem with the communication between ECUs.

      • An ECU is replaced, but is not registered.

      • An ECU is replaced with an ECU which has a code already stored in it.

      OK
      OK (S code certification result normal) appears on the screen.
      Result
      Proceed to
      OK
      NG

    NG
    OK
  23. CHECK STEERING LOCK


    1. Check that the steering unlocks when the engine switch is turned on (ACC).

      OK
      The steering unlocks.
      Result
      Proceed to
      OK
      NG

    NG
    OK
  24. READ VALUE USING GTS (IMMOBILISER)


    1. Connect the GTS to the DLC3.

    2. Turn the engine switch on (IG).

    3. Turn the GTS on.

    4. Enter the following menus: Body Electrical / Entry&Start / Data List.

    5. According to the display on the GTS, read the Data List.


      Body Electrical > Entry&Start > Data List
      Tester Display Measurement Item Range Normal Condition Diagnostic Note
      Immobiliser Engine immobiliser system determined by certification ECU (smart key ECU assembly) Set or Unset

      Set: Engine immobiliser system set (engine start prohibited) (engine switch off)

      Unset: Engine immobiliser system unset (engine start permitted) (engine switch on(ACC) or on (IG))

      The engine cannot be started when Set is displayed.

      Tech Tips


      • The security indicator light blinks when Set is displayed.

      • The security indicator light is linked with set/unset of the immobiliser and not linked with steering lock/unlock.


      Body Electrical > Entry&Start > Data List
      Tester Display
      Immobiliser
      OK
      The Data List item changes to "Unset" when the engine switch is turned on (ACC) or on (IG).
      Result
      Proceed to
      OK
      NG (w/ Multi-information Display (Dot Display Type))
      NG (w/ Multi-information Display (Segment Display Type))

    NG (w/ Multi-information Display (Dot Display Type))
    NG (w/ Multi-information Display (Segment Display Type))
    OK
  25. READ VALUE USING GTS (STARTER REQUEST SIGNAL)


    1. Connect the GTS to the DLC3.

    2. Turn the engine switch on (IG).

    3. Turn the GTS on.

    4. Enter the following menus: Body Electrical / Power Source Control / Data List.

    5. According to the display on the GTS, read the Data List.


      Body Electrical > Power Source Control > Data List
      Tester Display Measurement Item Range Normal Condition Diagnostic Note
      Starter Request Signal Engine start request signal status ON or OFF

        except Manual Transaxle

      • ON: With the shift lever in P and brake pedal depressed, the engine switch is pressed and held

        OFF: After approx. 1 sec. has elapsed, the engine switch is released


        for Manual Transaxle

      • ON: With the clutch pedal depressed, the engine switch is pressed and held

        OFF: After approx. 1 sec. has elapsed, the engine switch is released


      • When the engine cannot be started due to a start request signal malfunction, OFF is displayed.

      • When the engine switch is pressed, the duration of time that ON is displayed will be extremely short. As such, the engine switch needs to be pressed and held for a certain amount of time.


      Body Electrical > Power Source Control > Data List
      Tester Display
      Starter Request Signal

      Note


      • w/ Multi-information Display (Segment Display Type):

        Check that the entry warning light on the combination meter assembly illuminates in green, and then press the engine switch.

      • w/ Multi-information Display (Dot Display Type):

        Check that the entry warning is displayed on the multi-information display on the combination meter assembly, and then press the engine switch.

      OK
      The display changes in response to the operation of the engine switch.
      Result
      Proceed to
      OK
      NG (w/ Multi-information Display (Dot Display Type))
      NG (w/ Multi-information Display (Segment Display Type))

    OK
    NG (w/ Multi-information Display (Dot Display Type))
    NG (w/ Multi-information Display (Segment Display Type))
  26. READ VALUE USING GTS (STEERING UNLOCK SWITCH)


    1. Connect the GTS to the DLC3.

    2. Turn the engine switch on (IG).

    3. Turn the GTS on.

    4. Enter the following menus: Body Electrical / Power Source Control / Data List.

    5. According to the display on the GTS, read the Data List.


      Body Electrical > Power Source Control > Data List
      Tester Display Measurement Item Range Normal Condition Diagnostic Note
      Steering Unlock Switch State of steering unlock sensor signal output from steering lock actuator assembly ON or OFF

      ON: Steering unlocked

      OFF: Steering locked


      • When the shift lever is in P and the engine switch is off, if any door is opened or closed, the steering is locked.

      • When the key is inside the vehicle and the engine switch is turned on (ACC) or on (IG), the steering unlocks.

      • The engine cannot be started when the steering unlock signal is off.


      Body Electrical > Power Source Control > Data List
      Tester Display
      Steering Unlock Switch
      OK
      The item in the Data List indicates "ON" (the steering is unlocked).
      Result
      Proceed to
      OK
      NG

    OK
    NG
  27. READ VALUE USING GTS (L CODE CHECK)


    1. Connect the GTS to the DLC3.

    2. Turn the engine switch on (IG).

    3. Turn the GTS on.

    4. Enter the following menus: Body Electrical / Entry&Start / Data List.

    5. According to the display on the GTS, read the Data List.


      Body Electrical > Entry&Start > Data List
      Tester Display Measurement Item Range Normal Condition Diagnostic Note
      L Code Check

      Verification result between ID code box (immobiliser code ECU) and steering lock ECU (steering lock actuator assembly)*1

      Verification result between certification ECU (smart key ECU assembly) and steering lock ECU (steering lock actuator assembly)*2

      OK or NG

      OK: Verification result normal

      NG: Verification result abnormal

      When NG is displayed*1:


      • The ID code for the ID code box (immobiliser code ECU) or steering lock ECU (steering lock actuator assembly) is not registered or the certification ECU (smart key ECU assembly) or steering lock ECU (steering lock actuator assembly) is malfunctioning.

      • The steering cannot be locked.

      • The steering cannot be unlocked (the engine cannot be started).

      When NG is displayed:*2


      • The ID code for the certification ECU (smart key ECU assembly) or steering lock ECU (steering lock actuator assembly) is not registered or the certification ECU (smart key ECU assembly) or steering lock ECU (steering lock actuator assembly) is malfunctioning.

      • The steering cannot be locked.

      • The steering cannot be unlocked (the engine cannot be started).


      • *1: w/ Multi-information Display (Dot Display Type)

      • *2: w/ Multi-information Display (Segment Display Type)


      Body Electrical > Entry&Start > Data List
      Tester Display
      L Code Check

      Tech Tips


        Reasons for verification failure:

      • The steering lock ECU (steering lock actuator assembly) or ID code box (immobiliser code ECU) is malfunctioning.

      • There is a problem with the communication between ECUs.

      • An ECU is replaced, but is not registered.

      • An ECU is replaced with an ECU which has a code already stored in it.

      OK
      The Data List item changes to "OK" when the key is inside the vehicle.
      Result
      Proceed to
      OK
      NG

    OK
    NG
  28. REPLACE CERTIFICATION ECU (SMART KEY ECU ASSEMBLY)


    1. Replace the certification ECU (smart key ECU assembly) with a new one (Refer to the Service Bulletin).

    2. Perform the registration procedures (Refer to the Service Bulletin).

    3. Use the Data List to check if S code certification is functioning properly again.


      Body Electrical > Entry&Start > Data List
      Tester Display Measurement Item Range Normal Condition Diagnostic Note
      S Code Check Verification result between certification ECU (smart key ECU assembly) and ID code box (immobiliser code ECU) OK or NG

      OK: Verification result normal

      NG: Verification result abnormal

      When NG is displayed:


      • The ID code for the certification ECU (smart key ECU assembly) or ID code box (immobiliser code ECU) is not registered or the certification ECU (smart key ECU assembly) or ID code box (immobiliser code ECU) is malfunctioning.

      • The steering cannot be locked.

      • The steering cannot be unlocked (the engine cannot be started).


      Body Electrical > Entry&Start > Data List
      Tester Display
      S Code Check
      OK
      OK (S code certification result normal) appears on the screen.
      Result
      Proceed to
      OK
      NG

    OK
    NG
  29. READ VALUE USING GTS (S CODE CHECK)


    1. Replace the steering lock ECU (steering lock actuator assembly) with a new one.

      Click here

    2. Perform the registration procedures (Refer to the Service Bulletin).

    3. Use the Data List to check if L code certification is functioning properly again.


      Body Electrical > Entry&Start > Data List
      Tester Display Measurement Item Range Normal Condition Diagnostic Note
      L Code Check

      Verification result between ID code box (immobiliser code ECU) and steering lock ECU (steering lock actuator assembly)*1

      Verification result between certification ECU (smart key ECU assembly) and steering lock ECU (steering lock actuator assembly)*2

      OK or NG

      OK: Verification result normal

      NG: Verification result abnormal

      When NG is displayed*1:


      • The ID code for the ID code box (immobiliser code ECU) or steering lock ECU (steering lock actuator assembly) is not registered or the certification ECU (smart key ECU assembly) or steering lock ECU (steering lock actuator assembly) is malfunctioning.

      • The steering cannot be locked.

      • The steering cannot be unlocked (the engine cannot be started).

      When NG is displayed:*2


      • The ID code for the certification ECU (smart key ECU assembly) or steering lock ECU (steering lock actuator assembly) is not registered or the certification ECU (smart key ECU assembly) or steering lock ECU (steering lock actuator assembly) is malfunctioning.

      • The steering cannot be locked.

      • The steering cannot be unlocked (the engine cannot be started).


      • *1: w/ Multi-information Display (Dot Display Type)

      • *2: w/ Multi-information Display (Segment Display Type)


      Body Electrical > Entry&Start > Data List
      Tester Display
      L Code Check
      OK
      OK (L code certification result normal) appears on the screen.
      Result
      Proceed to
      OK
      NG (w/ Multi-information Display (Dot Display Type))
      NG (w/ Multi-information Display (Segment Display Type))

    OK
    NG (w/ Multi-information Display (Dot Display Type))
    NG (w/ Multi-information Display (Segment Display Type))
  30. REPLACE ID CODE BOX (IMMOBILISER CODE ECU)


    1. Replace the ID code box (immobiliser code ECU) with a new one (Refer to the Service Bulletin).

    2. Perform the registration procedures (Refer to the Service Bulletin).

    3. Use the Data List to check if S code certification is functioning properly again.


      Body Electrical > Entry&Start > Data List
      Tester Display Measurement Item Range Normal Condition Diagnostic Note
      S Code Check Verification result between certification ECU (smart key ECU assembly) and ID code box (immobiliser code ECU) OK or NG

      OK: Verification result normal

      NG: Verification result abnormal

      When NG is displayed:


      • The ID code for the certification ECU (smart key ECU assembly) or ID code box (immobiliser code ECU) is not registered or the certification ECU (smart key ECU assembly) or ID code box (immobiliser code ECU) is malfunctioning.

      • The steering cannot be locked.

      • The steering cannot be unlocked (the engine cannot be started).


      Body Electrical > Entry&Start > Data List
      Tester Display
      S Code Check
      OK
      OK (S code certification result normal) appears on the screen.
      Result
      Proceed to
      NEXT

    NEXT