GENERATOR(for 100 A Type) REASSEMBLY

PROCEDURE


  1. INSTALL GENERATOR DRIVE END FRAME BEARING


    1. A01V8QZN01

      Using SST and a press, press in a new generator drive end frame bearing.

      SST
      09950-60010   ( 09951-00470 )
      09950-70010   ( 09951-07100 )
    2. A01V7AAC03
      *a Tab
      *b Cutout

      Fit the tabs on the retainer plate into the cutouts on the generator drive end frame to install the retainer plate.

    3. Install the 4 screws.

      Torque:
      2.3 N*m  { 23 kgf*cm, 20 in.*lbf }
  2. INSTALL GENERATOR ROTOR ASSEMBLY


    1. Place the generator drive end frame on the generator pulley with clutch.

    2. Install the generator rotor to the generator drive end frame.

  3. INSTALL GENERATOR BEARING COVER PACKING

    Note

    A new generator coil assembly comes with a generator bearing cover packing. Therefore, it is not necessary to install a new generator bearing cover packing when installing a new generator coil assembly.


    1. Install a new generator bearing cover packing to the generator coil assembly.

      Note

      Align the protrusion of the generator bearing cover packing with the groove of the generator coil assembly when installing.

  4. INSTALL GENERATOR COIL ASSEMBLY


    1. A01V7IWC03
      *a Deep Socket Wrench (21 mm)

      Using a 21 mm deep socket wrench and press, slowly press in the generator coil.

    2. Install the generator coil with the 4 bolts.

      Torque:
      5.6 N*m  { 57 kgf*cm, 50 in.*lbf }
  5. INSTALL GENERATOR BRUSH HOLDER ASSEMBLY


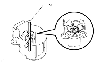
    1. A01VA06C21
      *a Pin

      While pushing the 2 brushes into the generator brush holder, insert a pin with a diameter of 1.0 mm (0.0394 in.) into the brush holder hole.

    2. A01V83YC05
      *a Pin

      Install the generator brush holder to the generator coil with the 2 screws.

      Torque:
      1.8 N*m  { 18 kgf*cm, 16 in.*lbf }
    3. Pull out the pin from the generator brush holder.

  6. INSTALL TERMINAL INSULATOR


    1. A01V7A8

      Install the terminal insulator to the generator coil.

      Note

      Make sure that the terminal insulator is installed with the correct orientation.

  7. INSTALL GENERATOR REAR END COVER


    1. Install the generator rear end cover to the generator coil with the 3 bolts.

      Torque:
      4.6 N*m  { 47 kgf*cm, 41 in.*lbf }
  8. INSTALL GENERATOR PULLEY WITH CLUTCH


    1. Mount the generator in a vise between aluminum plates.

    2. Temporarily install the generator pulley with clutch by hand.

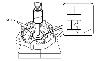
    3. A01V933C02
      *1 Rotor Shaft

      Install SST A and B to the generator pulley with clutch as shown in the illustration.

      SST
      09820-63021

      Note

      Securely attach SST to the generator pulley with clutch and rotor shaft.

    4. A01V8UFC03
      *a Hold
      *b Fulcrum Length
      A01V9RL Turn

      Using a wrench to hold SST A, turn SST B clockwise to tighten the generator pulley with clutch.

      Torque:
      without SST
      80 N*m  { 816 kgf*cm, 59 ft.*lbf }
      with SST
      64 N*m  { 653 kgf*cm, 47 ft.*lbf }

      Note

      Be careful as the generator pulley with clutch or rotor shaft may be damaged if the position of SST is not securely maintained while performing this operation.

      Tech Tips


      • Use a torque wrench with a fulcrum length of 400 mm (15.7 in.). When using a torque wrench with a fulcrum length that is not 400 mm (15.7 in.), calculate the torque specification for the torque wrench and SST based on the "without SST" torque specification.

        Click here

      • Make sure SST and the wrench are connected in a straight line.

    5. Remove SST from the generator.

    6. Check that the generator pulley with clutch rotates smoothly.

  9. INSTALL GENERATOR PULLEY CAP


    1. Install a new generator pulley cap to the generator pulley with clutch.