GENERATOR(for 100 A Type) REASSEMBLY

PROCEDURE


  1. INSTALL GENERATOR DRIVE END FRAME BEARING

    A01VAMOE01

    1. Using SST and a press, press in a new generator drive end frame bearing.

      SST
      09950-60010   ( 09951-00520 )
      09950-70010   ( 09951-07100 )
    2. Install the bearing retainer with the 4 screws.

      Torque:
      2.3 N*m  { 23 kgf*cm, 20 in.*lbf }
  2. INSTALL GENERATOR ROTOR ASSEMBLY


    1. A01VA7M

      Place the generator drive end frame on the generator pulley with clutch.

    2. Install the generator rotor assembly to the generator drive end frame.

    3. A01GBV0

      Place a new washer on the generator rotor assembly.

  3. INSTALL GENERATOR COIL ASSEMBLY


    1. A01V719C03
      *1 21 mm Socket Wrench

      Using a 21 mm deep socket wrench and press, slowly press in the generator coil assembly.

    2. Install the generator coil assembly with the 4 bolts.

      Torque:
      5.6 N*m  { 57 kgf*cm, 50 in.*lbf }
  4. INSTALL GENERATOR BRUSH HOLDER ASSEMBLY


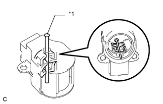
    1. A01VA06C10
      *1 Pin

      While pushing the 2 brushes into the generator brush holder assembly, insert a 1.0 mm (0.0394 in.) pin into the generator brush holder assembly.

    2. A01V8KUC03
      *1 Pin

      Install the generator brush holder assembly with the 2 screws.

      Torque:
      1.8 N*m  { 18 kgf*cm, 16 in.*lbf }
    3. Pull the pin out of the generator brush holder assembly.

  5. INSTALL GENERATOR REAR END COVER


    1. Install the terminal insulator to the generator coil assembly.

    2. Install the generator rear end cover with the 3 bolts.

      Torque:
      4.6 N*m  { 47 kgf*cm, 41 in.*lbf }
  6. INSTALL GENERATOR PULLEY WITH CLUTCH


    1. Temporarily install the generator pulley with clutch by hand.

    2. Mount the generator assembly in a vise between aluminum plates.

    3. A01V7BVN01

      Install SST (A) and (B) to the generator pulley with clutch as shown in the illustration.

      SST
      09820-63021
    4. A01V8V8C01
      *1 Fulcrum Length
      *a Hold
      A01V9RL Turn

      Using a wrench to hold SST (A), turn SST (B) clockwise to tighten the generator pulley with clutch.

      Torque:
      without SST
      80 N*m  { 816 kgf*cm, 59 ft.*lbf }
      with SST
      64 N*m  { 653 kgf*cm, 47 ft.*lbf }

      Tech Tips


      • Use a torque wrench with a fulcrum length of 400 mm (15.7 in.). When using a torque wrench with a fulcrum length that is not 400 mm (15.7 in.), calculate the torque specification for the torque wrench and SST based on the "without SST" torque specification.

        Click here

      • Make sure SST and the wrench are connected in a straight line.

      Note

      Be careful as the generator pulley with clutch or generator rotor shaft may be damaged if the position of SST is not securely maintained while performing this operation.

    5. Remove SST from the generator.

    6. Check that the generator pulley with clutch rotates smoothly.

  7. INSTALL GENERATOR PULLEY CAP


    1. A01V9LM

      Install a new generator pulley cap to the generator pulley with clutch.