GENERATOR(for 100 A Type) INSPECTION

PROCEDURE


  1. INSPECT GENERATOR PULLEY WITH CLUTCH


    1. A00YTQ1C02
      A00YXOY Free
      A00YSPP Lock

      Hold the center of the generator pulley with clutch and confirm that the outer ring turns counterclockwise and does not turn clockwise.

      If the result is not as specified, replace the generator pulley with clutch.

  2. INSPECT GENERATOR BRUSH HOLDER ASSEMBLY


    1. A00YT6IC15
      *1 Length

      Using a vernier caliper, measure the brush length.

      Standard length
      9.5 to 11.5 mm (0.374 to 0.453 in.)
      Minimum length
      4.5 mm (0.177 in.)

      If the brush length is less than the minimum, replace the generator brush holder assembly.

  3. INSPECT GENERATOR ROTOR ASSEMBLY


    1. A00YRFSC01
      *1 Slip Ring

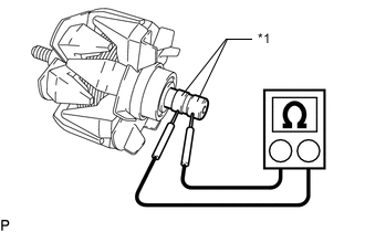
      Check the rotor for an open circuit.


      1. Measure the resistance according to the value(s) in the table below.

        Standard Resistance
        Tester Connection Condition Specified Condition
        Slip ring - Slip ring 20°C (68°F) 1.8 to 2.2 Ω

        If the result is not as specified, replace the generator rotor assembly.

    2. A00YVAPC01
      *1 Slip Ring
      *2 Rotor Core

      Check if the rotor is grounded.


      1. Measure the resistance according to the value(s) in the table below.

        Standard Resistance
        Tester Connection Condition Specified Condition
        Slip ring - Rotor core Always 10 MΩ or higher

        If the result is not as specified, replace the generator rotor assembly.

    3. Check the slip ring diameter.


      1. A00YX76C04
        *1 Diameter

        Using a vernier caliper, measure the diameter of each slip ring.

        Standard diameter
        14.2 to 14.8 mm (0.559 to 0.583 in.)
        Minimum diameter
        14.0 mm (0.551 in.)

        If the diameter is less than the minimum, replace the generator rotor assembly.

    4. Check the bearing.


      1. A00YT42

        Check that the bearing is not rough or worn and that it rotates smoothly.

        If the result is not as specified, replace the generator rotor assembly.