PARKING BRAKE SWITCH INSPECTION

PROCEDURE


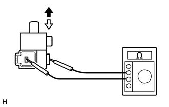
  1. INSPECT PARKING BRAKE SWITCH ASSEMBLY


    1. A00YWS7C09
      A00YXOY On
      A00YSPP Off

      Measure the resistance according to the value(s) in the table below.

      Standard Resistance
      Tester Connection Switch Condition Specified Condition
      Switch connector terminal - Switch body On (Shaft is not pressed) Below 1 Ω
      Off (Shaft is pressed) 10 kΩ or higher

      If the result is not as specified, replace the parking brake switch assembly.