BRAKE PEDAL INSTALLATION

CAUTION / NOTICE / HINT

Note


  • Use the same procedure for RHD and LHD vehicles.

  • The procedure listed below is for LHD vehicles.

PROCEDURE


  1. INSTALL BRAKE PEDAL SUPPORT ASSEMBLY


    1. Install the brake pedal support assembly with the 4 nuts.

      Torque:
      12.7 N*m  { 130 kgf*cm, 9 ft.*lbf }
    2. Install the brake pedal support reinforcement set bolt.

      Torque:
      23.6 N*m  { 241 kgf*cm, 17 ft.*lbf }
  2. INSTALL PUSH ROD PIN

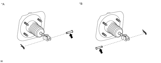
    A01VAW0C01
    *A for LHD *B for RHD
    A01V9RL Lithium soap base glycol grease - -

    1. Apply a light coat of lithium soap base glycol grease to the push rod pin.

    2. Set the push rod clevis in place, insert the push rod pin from outside the vehicle and then a new clip.

      Note

      After installation, check that the pedal operates smoothly.

  3. INSTALL BRAKE PEDAL RETURN SPRING


    1. Install the brake pedal return spring to the brake pedal support assembly.

  4. INSTALL STOP LIGHT SWITCH ASSEMBLY

    Click here

  5. CONNECT CONNECTORS


    1. Connect the brake pedal load sensing switch connector.

    2. Connect the stop light switch connector.

  6. INSTALL UPPER INSTRUMENT PANEL

    Click here

  7. INSTALL LOWER NO. 1 INSTRUMENT PANEL AIRBAG ASSEMBLY (w/ Driver Side Knee Airbag)

    Click here

  8. INSTALL LOWER INSTRUMENT PANEL FINISH PANEL (w/o Driver Side Knee Airbag)

    Click here

  9. CONNECT CABLE TO NEGATIVE BATTERY TERMINAL

    Note

    When disconnecting the cable, some systems need to be initialized after the cable is reconnected Click here.

  10. CHECK AND ADJUST BRAKE PEDAL

    Click here