REAR SPEED SENSOR(for 2WD) INSTALLATION

CAUTION / NOTICE / HINT

Tech Tips


  • Use the same procedure for the RH and LH sides.

  • The procedures listed below are for the LH side.

PROCEDURE


  1. INSTALL REAR AXLE HUB AND BEARING ASSEMBLY LH (SKID CONTROL SENSOR)

    Click here

  2. INSTALL REAR DISC

    Click here

  3. INSTALL REAR DISC BRAKE CYLINDER MOUNTING LH

    Click here

  4. INSTALL SKID CONTROL SENSOR WIRE

    Note

    To prevent interference with other parts, do not twist the painted line areas of the sensor wire when installing it.


    1. A01QU2LC01
      *a Painted Line

      Connect the skid control sensor wire connector labeled A to the skid control sensor.

    2. Install the sensor clamp labeled B with the bolt labeled C.

      Torque:
      8.5 N*m  { 87 kgf*cm, 75 in.*lbf }

      Note

      Do not twist the sensor wire when installing the clamp.

    3. A01QPGCC01
      *a Painted Line

      Install the sensor clamps labeled D with the 2 nuts labeled E.

      Torque:
      5.0 N*m  { 51 kgf*cm, 44 in.*lbf }

      Note

      Do not twist the sensor wire when installing the clamps.

    4. Install the sensor clamp labeled F with the bolt labeled G.

      Torque:
      8.5 N*m  { 87 kgf*cm, 75 in.*lbf }

      Note

      Do not twist the sensor wire when installing the clamp.

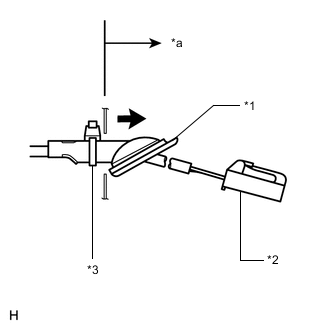
    5. A01QQ8UC01
      *1 Grommet
      *2 Connector
      *3 Band Clamp
      *a Inside of Vehicle

      Insert the connector and grommet into the inside of the vehicle through the passage hole in the wheel house.

      Note

      Make sure the grommet band clamp remains on the outside of the vehicle.

    6. Hold the grommet and pull it toward the outside of the vehicle. Then fix the grommet in place so that it is not tilted.

      A01QPUYC01
      *a Outside of Vehicle *b 30°

      Note


      • When pulling out the grommet, do not grip the sensor wire.

      • Fix the grommet in place within the range shown in the illustration.

    7. Connect the skid control sensor wire connector.

  5. INSTALL DECK TRIM SIDE PANEL ASSEMBLY LH


    1. Install the deck trim side panel LH Click here.

      Tech Tips

      Refer to the procedures from the installation of the deck trim side panel LH up until the installation of the rear door scuff plate LH.

  6. INSTALL REAR WHEEL

    Torque:
    103 N*m  { 1050 kgf*cm, 76 ft.*lbf }
  7. CHECK SPEED SENSOR SIGNAL

    Click here