MANUAL TRANSAXLE UNIT DISASSEMBLY

PROCEDURE


  1. REMOVE MANUAL TRANSMISSION FILLER PLUG


    1. A01QSIS

      Remove the manual transmission filler plug and gasket from the manual transmission case.

  2. REMOVE MANUAL TRANSMISSION DRAIN PLUG


    1. A01QPD5

      Remove the manual transmission drain plug and gasket from the front transaxle case.

  3. REMOVE BACK-UP LIGHT SWITCH ASSEMBLY


    1. A01QQ0G

      Using a 27 mm deep socket wrench, remove the back-up light switch assembly and gasket from the manual transmission case.

  4. REMOVE TRANSMISSION CASE PLUG


    1. A01QPLL

      Remove the transmission case plug and gasket from the manual transmission case.

  5. REMOVE CONTROL CABLE BRACKET ASSEMBLY


    1. A01QRH7

      Remove the 3 bolts and control cable bracket assembly from the manual transmission case.

  6. REMOVE RELEASE CYLINDER BLEEDER PLUG CAP


    1. Remove the release cylinder bleeder plug cap from the release cylinder bleeder plug.

  7. REMOVE RELEASE CYLINDER BLEEDER PLUG


    1. Remove the release cylinder bleeder plug from the clutch release bleeder sub-assembly.

  8. REMOVE CLUTCH RELEASE BLEEDER SUB-ASSEMBLY

    Click here

  9. REMOVE CLUTCH RELEASE WITH BEARING CYLINDER ASSEMBLY

    Click here

  10. SECURE MANUAL TRANSAXLE ASSEMBLY


    1. A01QQLX

      Place the manual transaxle assembly on wooden blocks.

  11. REMOVE REVERSE IDLER GEAR SHAFT BOLT


    1. A01QRXP

      Remove the reverse idler gear shaft bolt and gasket from the manual transmission case.

  12. REMOVE LOCK BALL PIN


    1. A01QSI7

      Using a 10 mm hexagon socket wrench, remove the shift and select lever shaft straight screw with head plug from the manual transmission case.

    2. Using a magnet hand, remove the shift and select lever shaft compression spring and lock ball pin from the manual transmission case.

    3. A01QRT8

      Using a 10 mm hexagon socket wrench, remove the shift and select lever shaft straight screw with head plug from the manual transmission case.

    4. Using a magnet hand, remove the shift and select lever shaft compression spring and lock ball pin from the manual transmission case.

  13. REMOVE SHIFT DETENT BALL


    1. A01QTEE

      Using a 6 mm hexagon socket wrench, remove the shift detent ball plug from the manual transmission case.

    2. Using a magnet hand, remove the shift detent ball compression spring and shift detent ball from the manual transmission case.

    3. A01QUAN

      Using a 6 mm hexagon socket wrench, remove the 2 shift detent ball plugs from the manual transmission case.

    4. Using a magnet hand, remove the 2 shift detent ball compression springs and 2 shift detent balls from the manual transmission case.

  14. REMOVE OUTER SHIFT LEVER E-RING


    1. A01QTU1

      Remove the outer shift lever E-ring from the outer No. 1 shift lever.

  15. REMOVE MANUAL TRANSMISSION CASE


    1. A01QPHF

      Remove the 17 bolts.

    2. A01QP3WC03
      *a Protective Tape

      Using a screwdriver with its tip wrapped with protective tape, separate the manual transmission case from the front transaxle case.

      Note

      Do not damage the manual transmission case.

    3. A01QSRN

      Turn the outer No. 1 shift lever clockwise until it comes into contact with the boss.

    4. A01QOCA

      Push the outer No. 1 shift lever and remove the manual transmission case.

  16. REMOVE REVERSE IDLER GEAR SUB-ASSEMBLY


    1. A01QO8U

      Remove the reverse idler gear sub-assembly, reverse idler thrust washer and reverse idler gear shaft from the front transaxle case.

  17. REMOVE REVERSE SHIFT FORK SHAFT ASSEMBLY


    1. A01QPBY

      Turn the reverse shift fork shaft assembly clockwise and remove it from the front transaxle case.

  18. REMOVE REVERSE SHIFT FORK


    1. A01QOCT

      Using a 5 mm pin punch and hammer, tap out the reverse shift fork slotted spring pin.

    2. Remove the reverse shift fork from the reverse shift fork shaft assembly.

  19. REMOVE REVERSE SHIFT ARM BRACKET ASSEMBLY


    1. A01QQNY

      Using a 6 mm hexagon socket wrench, remove the 2 bolts and reverse shift arm bracket assembly from the front transaxle case.

  20. REMOVE SHIFT AND SELECT LEVER SHAFT ASSEMBLY


    1. A01QSLU

      Turn the shift and select lever shaft assembly clockwise and remove it from the front transaxle case.

  21. REMOVE OUTER SELECT LEVER


    1. A01QQR5

      Remove the inner select lever bolt.

    2. A01QST9

      Remove the outer select lever and inner select lever from the front transaxle case.

  22. REMOVE OUTER SELECT LEVER OIL SEAL


    1. A01QPEXC03
      *a Protective Tape

      Using a screwdriver with its tip wrapped with protective tape, remove the outer select lever oil seal from the front transaxle case.

      Note

      Do not damage the installation surfaces.

  23. REMOVE INPUT SHAFT ASSEMBLY


    1. A01QRRX

      Remove the input shaft assembly, output shaft assembly and 2 gear shift fork shaft assemblies from the front transaxle case.

    2. Remove the output shaft assembly together with the No. 1 gear shift fork shaft assembly from the input shaft assembly.

    3. Remove the No. 1 gear shift fork shaft assembly from the output shaft assembly.

    4. Remove the No. 2 gear shift fork shaft assembly from the input shaft assembly.

  24. REMOVE DIFFERENTIAL CASE ASSEMBLY


    1. A01QRFR

      Remove the differential case assembly from the front transaxle case.

  25. REMOVE TRANSMISSION MAGNET


    1. A01QQ64

      Remove the transmission magnet from the front transaxle case.

  26. REMOVE BREATHER PLUG


    1. A01QOKJ

      Remove the breather plug from the front transaxle case.

  27. REMOVE FRONT OUTPUT SHAFT BEARING


    1. A01QUJYE01

      Using SST, tap the front output shaft bearing (outer race) from the front transaxle case.

      SST
      09308-00010
    2. A01QTCK

      Remove the output shaft cover from the front transaxle case.

  28. REMOVE FRONT TRANSAXLE CASE OIL SEAL


    1. A01QSP2E01

      Using SST, tap out the front transaxle case oil seal from the front transaxle case.

      SST
      09950-60010   ( 09951-00360 )
      09950-70010   ( 09951-07150 )
  29. REMOVE STRAIGHT PIN


    1. A01QQV3

      Remove the 5 straight pins from the front transaxle case.

  30. REMOVE REAR INPUT SHAFT BEARING SHIM


    1. A01QQT0

      Remove the rear input shaft bearing shim from the manual transmission case.

  31. REMOVE INPUT SHAFT COVER


    1. A01QRRP

      Remove the input shaft cover from the manual transmission case.

  32. REMOVE NO. 1 OIL RECEIVER PIPE


    1. A01QQ6Z

      Remove the No. 1 oil receiver pipe from the manual transmission case.

  33. REMOVE OUTER NO. 1 SHIFT LEVER


    1. A01QUI6

      Using a 5 mm pin punch and hammer, tap out the inner shift lever slotted spring pin.

      Tech Tips

      When removing the inner shaft lever slotted spring pin, align the inner shift lever slotted spring pin with the hole in the lock ball assembly.

    2. Remove the inner No. 1 shift lever, outer shift lever spacer and outer No. 1 shift lever from the manual transmission case.

  34. REMOVE OUTER SHIFT LEVER OIL SEAL


    1. A01QPEXC03
      *a Protective Tape

      Using a screwdriver with its tip wrapped with protective tape, remove the outer shift lever oil seal from the manual transmission case.

      Note

      Do not damage the installation surfaces.

  35. REMOVE REAR OUTPUT SHAFT BEARING


    1. A01QQ58E01

      Using SST, remove the rear output shaft bearing (outer race) and rear output shaft bearing shim from the manual transmission case.

      SST
      09308-00010
  36. REMOVE TRANSMISSION CASE OIL SEAL (for LH SIDE)

    Click here

  37. REMOVE TRANSAXLE CASE OIL SEAL (for RH SIDE)

    Click here

  38. REMOVE FRONT DIFFERENTIAL CASE FRONT TAPERED ROLLER BEARING


    1. A01QSFIE01

      Using SST, remove the front differential case front tapered roller bearing (outer race) and front differential oil baffle from the front transaxle case.

      SST
      09308-00010
    2. A01QSFMC01
      *a Turn
      *b Hold

      Using SST, remove the front differential case assembly front tapered roller bearing from the differential case assembly.

      SST
      09950-40011   ( 09951-04020, 09952-04010, 09953-04030, 09954-04030, 09955-04031, 09957-04010, 09958-04011 )
      09950-60010   ( 09951-00420, 09951-00520, 09952-06010 )
  39. REMOVE FRONT DIFFERENTIAL CASE REAR TAPERED ROLLER BEARING


    1. A01QQLEE01

      Using SST, remove the front differential case rear tapered roller bearing (outer race) and front differential case rear shim from the manual transmission case.

      SST
      09308-00010
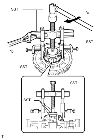
    2. A01QQECC02
      *a Turn
      *b Hold

      Using SST, remove the front differential case rear tapered roller bearing from the differential case assembly.

      SST
      09950-40011   ( 09951-04010, 09952-04010, 09953-04020, 09954-04010, 09955-04021, 09957-04010, 09958-04011 )
      09950-60010   ( 09951-00350, 09951-00550, 09952-06010 )