CAMSHAFT INSTALLATION

CAUTION / NOTICE / HINT

Tech Tips

Perform "Inspection After Repairs" after replacing the camshaft housing sub-assembly or camshaft timing gear assembly (intake or exhaust side).

Click here

PROCEDURE


  1. INSTALL VALVE LASH ADJUSTER ASSEMBLY

    Click here

  2. INSTALL NO. 1 VALVE ROCKER ARM SUB-ASSEMBLY

    Click here

  3. INSTALL CAMSHAFT HOUSING SUB-ASSEMBLY

    Tech Tips

    Perform "Inspection After Repairs" after replacing the camshaft housing sub-assembly.

    Click here


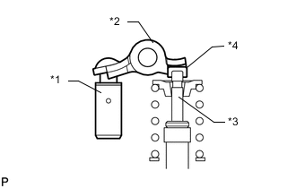
    1. A00YXE2C14
      *1 Valve Lash Adjuster Assembly
      *2 Valve Rocker Arm Sub-assembly
      *3 Valve Stem
      *4 Valve Stem Cap

      Make sure that the valve rocker arm is installed as shown in the illustration.

    2. A00YV7GC02
      *1 Continuous Line

      Apply seal packing in a continuous line as shown in the illustration.

      Seal packing
      Toyota Genuine Seal Packing Black, Three Bond 1207B or equivalent
      Standard Seal Diameter
      Area Specified Condition
      Continuous Line 3.5 to 4.5 mm (0.138 to 0.177 in.)
      A 8.0 mm (0.315 in.)
      B 7.0 mm (0.276 in.)
      Application Length A and B
      15 mm (0.591 in.)

      Note


      • Remove any oil from the contact surfaces.

      • Install the camshaft housing sub-assembly within 3 minutes and tighten the bolts within 10 minutes after applying seal packing.

      • Do not start the engine for at least 2 hours after installation.

    3. A00YVSGN01

      Set the camshaft and No. 2 camshaft as shown in the illustration.

    4. Install the camshaft housing sub-assembly with the 17 bolts and tighten them in the order shown in the illustration.

      Torque:
      27 N*m  { 275 kgf*cm, 20 ft.*lbf }

      Note


      • After installing the camshaft housing sub-assembly, make sure that the cam lobes are positioned as shown in the illustration.

      • If any of the bolts are loosened during installation, remove the camshaft housing sub-assembly, clean the installation surfaces, and reapply seal packing.

      • If the camshaft housing sub-assembly is removed because any of the bolts are loosened during installation, make sure that the previously applied seal packing does not enter any oil passages.

      • After installing the camshaft housing sub-assembly, wipe off any seal packing that seeped out from between the camshaft housing sub-assembly and cylinder head sub-assembly.

  4. INSTALL CAMSHAFT TIMING EXHAUST GEAR ASSEMBLY

    Tech Tips

    Perform "Inspection After Repairs" after replacing the camshaft timing exhaust gear assembly.

    Click here


    1. A00YQWDC08
      *1 Straight Pin
      *2 Pin Hole

      Put the camshaft timing exhaust gear assembly and camshaft together by aligning the pin hole and straight pin.

      Note

      Do not forcefully push in the camshaft timing exhaust gear assembly. This may cause the camshaft straight pin tip to damage the installation surface of the camshaft timing exhaust gear assembly.

    2. Lightly press the camshaft timing exhaust gear assembly against the camshaft and turn the camshaft timing exhaust gear assembly. Push further at the position where the pin enters the hole.

      Note

      Be sure not to turn the camshaft timing exhaust gear assembly in the retard direction (clockwise).

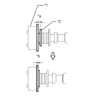
    3. A00YUF7C19
      *1 Camshaft Timing Exhaust Gear Assembly
      *2 Camshaft Flange
      *a Clearance
      *b No Clearance

      Check that there is no clearance between the camshaft timing exhaust gear assembly and camshaft flange.

    4. A00YX9S

      Tighten the flange bolt with the camshaft timing exhaust gear assembly secured in place.

      Torque:
      54 N*m  { 551 kgf*cm, 40 ft.*lbf }
    5. Check the camshaft timing exhaust gear assembly lock.


      1. Make sure that the camshaft timing exhaust gear assembly is locked.

  5. INSTALL CAMSHAFT TIMING GEAR ASSEMBLY

    Tech Tips

    Perform "Inspection After Repairs" after replacing the camshaft timing gear assembly.

    Click here


    1. A00YT6RC15
      *1 Straight Pin
      *2 Key Groove

      Put the camshaft timing gear assembly and camshaft together with the straight pin and key groove misaligned as shown in the illustration.

      Note

      Do not forcefully push in the camshaft timing gear assembly. This may cause the camshaft straight pin tip to damage the installation surface of the camshaft timing gear assembly.

    2. A00YRPCC01
      *1 Straight Pin
      *2 Key Groove
      *a View A

      Turn the camshaft timing gear assembly as shown in the illustration while pushing it gently against the camshaft. Push further at the position where the straight pin fits into the key groove.

      Note

      Do not turn the camshaft timing gear assembly in the retard direction (clockwise).

    3. A00YUF7C19
      *1 Camshaft Timing Gear Assembly
      *2 Camshaft Flange
      *a Clearance
      *b No Clearance

      Check that there is no clearance between the camshaft timing gear assembly and camshaft flange.

    4. A00YXUB

      Tighten the flange bolt with the camshaft timing gear assembly secured in place.

      Torque:
      54 N*m  { 551 kgf*cm, 40 ft.*lbf }
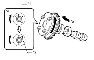
    5. A00YVB1C04
      A00YXOY Lock

      Check that the camshaft timing gear assembly can move in the retard direction (clockwise) and is locked in the most retarded position.

  6. INSTALL CHAIN SUB-ASSEMBLY

    Click here