CYLINDER BLOCK REASSEMBLY

CAUTION / NOTICE / HINT

Tech Tips

Perform "Inspection After Repairs" after replacing the piston sub-assembly or piston ring.


PROCEDURE


  1. INSTALL STUD BOLT

    Note

    If a stud bolt is deformed or its threads are damaged, replace it.


    1. Using an E8 and E10 "TORX" socket wrench, install the stud bolts.

      Torque:
      for stud bolt A
      6.5 N*m  { 66 kgf*cm, 58 in.*lbf }
      for stud bolt B
      8.5 N*m  { 87 kgf*cm, 75 in.*lbf }
      A01QTS2C03
      *a RH Side *b LH Side
      *c 20 mm (0.787 in.) *d 35 mm (1.38 in.)
      *e 13 mm (0.512 in.) *f 46 mm (1.81 in.)
      *g 67 mm (2.64 in.) *h 19 mm (0.748 in.)
  2. INSTALL NO. 2 OIL NOZZLE SUB-ASSEMBLY


    1. Using a 5 mm hexagon wrench, install the 4 No. 2 oil nozzles with the 4 bolts.

      Torque:
      10 N*m  { 102 kgf*cm, 7 ft.*lbf }
  3. INSTALL NO. 1 OIL NOZZLE SUB-ASSEMBLY


    1. Using a 5 mm hexagon wrench, install the 2 No. 1 oil nozzles with the 2 bolts.

      Torque:
      10 N*m  { 102 kgf*cm, 7 ft.*lbf }
  4. INSTALL PISTON

    Tech Tips

    Perform "Inspection After Repairs" after replacing the piston sub-assembly.



    1. Using a small screwdriver, install a new snap ring at one end of the piston pin hole.

    2. Gradually heat the piston up to 80 to 90°C (176 to 194°F).

    3. Coat the piston, piston pin and connecting rod with engine oil.

    4. A01QP47C04
      *1 Front Mark

      Align the front marks of the piston and connecting rod, insert the connecting rod into the piston, and then push in the piston pin with your thumb until the pin comes into contact with the snap ring.

      Tech Tips

      The piston and pin are a matched set.

    5. A01QR3NC06
      *1 Service Hole Cutout Portion

      Using a small screwdriver, install a new snap ring on the other side of the piston pin hole.

      Tech Tips

      Be sure that the end gap of the snap ring is not aligned with the service hole cutout portion of the piston.

    6. Check the fitting condition between the piston and piston pin.


      1. Move the connecting rod back and forth on the piston pin. Check the fitting condition.

        If abnormal movement is felt, replace the piston and pin as a set.

      2. Rotate the piston back and forth on the piston pin. Check the fitting condition.

        If abnormal movement is felt, replace the piston and pin as a set.

  5. INSTALL PISTON RING SET

    Tech Tips

    Perform "Inspection After Repairs" after replacing the piston ring.



    1. A01QRKRC01
      *1 Oil Ring
      *2 Oil Ring Expander
      *3 Coil Joint
      *4 Oil Ring End

      for Type A:


      1. Install the oil ring expander and oil ring by hand.

        Tech Tips

        Arrange the oil ring ends and coil joint as shown in the illustration.

    2. A01QU61C10
      *1 Upper Oil Ring Side Rail
      *2 Oil Ring Expander
      *3 Lower Oil Ring Side Rail

      for Type B:

      Install the oil ring expander and 2 oil ring side rails by hand.

    3. A01QSH2C03
      *1 No. 1 Compression Ring
      *2 No. 2 Compression Ring
      *a Piston Ring Expander
      *b Code Mark (1NA)
      *c Code Mark (2N)
      *d Paint Mark
      A01QRKS Upward

      Using a piston ring expander, install the 2 compression rings with the code mark positioned as shown in the illustration.

      Note

      Install the compression ring with the code mark facing upward.

      Tech Tips

      Type A and type B can be distinguished by their code marks and color of their paint marks.

      Piston Ring (for Type A)
      Item Code Mark Paint Mark
      No. 1 compression ring 1NA Blue
      No. 2 compression ring 2N Yellow or Orange
      Piston Ring (for Type B)
      Item Code Mark Paint Mark
      No. 1 compression ring 1NA Blue
      No. 2 compression ring 2N Green
  6. INSTALL CRANKSHAFT PULLEY KEY


    1. Install the 2 crankshaft pulley keys to the crankshaft.

  7. INSTALL CRANKSHAFT BEARING


    1. A01QSZWC07
      *a CORRECT
      *b INCORRECT

      Clean the main journal and both surfaces of the bearing.

    2. Install the upper bearing to the cylinder block as shown in the illustration.

      Note


      • Do not apply engine oil to the bearings or their contact surfaces.

      • Both sides of the oil groove in the cylinder block should be visible through the oil feed holes in the bearing. The amount visible on each side of the holes should be equal.

      • Do not allow coolant to come into contact with the bearing inner surface. If any coolant comes into contact with the bearing inner surface, replace the bearing with a new one.

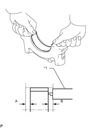
    3. A01QPA7C07
      *1 Vernier Caliper

      Install the lower bearing to the bearing cap.

    4. Using a vernier caliper, measure the distance between the edges of the crankshaft bearing cap and lower bearing.

      Dimension A - B or B - A
      0 to 0.7 mm (0 to 0.0276 in.)

      Note


      • Do not apply engine oil to the bearings and the contact surfaces.

      • Do not allow coolant to come into contact with the bearing inner surface. If any coolant comes into contact with the bearing inner surface, replace the bearing with a new one.

  8. INSTALL CRANKSHAFT THRUST WASHER


    1. A01QR4AC07
      *1 Oil Groove

      Apply engine oil to the thrust washers.

    2. Install the 2 thrust washers to the No. 3 journal position of the cylinder block with the oil grooves facing outward.

  9. INSTALL CRANKSHAFT


    1. A01QRZJC05
      *1 Front Mark

      Apply engine oil to the upper bearing, and then install the crankshaft to the cylinder block.

    2. Examine the front marks and numbers, and then install the bearing caps to the cylinder block with the front marks as shown in the illustration.

    3. Apply a light coat of engine oil to the threads and under the heads of the bearing cap bolts.

    4. Tighten the crankshaft bearing cap bolts.

      Tech Tips

      The cap bolts are tightened in 3 progressive steps.


      1. A01QTN0N07

        Step 1:

        Using several steps, install and uniformly tighten the 10 bearing cap bolts in the sequence shown in the illustration.

        Torque:
        20 N*m  { 204 kgf*cm, 15 ft.*lbf }
      2. Step 2:

        Tighten the 10 bearing cap bolts again in the sequence shown in the illustration.

        Torque:
        40 N*m  { 408 kgf*cm, 30 ft.*lbf }

        If a crankshaft bearing cap bolt does not meet the specified torque, replace it.

      3. Mark the front side of each crankshaft bearing cap bolt with paint.

      4. Step 3:

        Tighten the 10 bearing cap bolts 90° in the order shown in step 1.

      5. Check that the paint marks are now at a 90° angle to the front.

    5. Check that the crankshaft turns smoothly.

  10. INSTALL CONNECTING ROD BEARING


    1. A01QOYJC06
      *1 Vernier Caliper

      Clean the bearing contact surface of the connecting rod and cap, and both surfaces of both bearings.

    2. Install the connecting rod bearings to the connecting rods and connecting rod caps.

    3. Using a vernier caliper, measure the distance between the edges of the connecting rod and connecting rod bearing, and the edges of the bearing cap and connecting rod bearing.

      Dimension A - B or B - A
      0 to 0.7 mm (0 to 0.0276 in.)

      Note


      • Do not apply engine oil to the bearings or the contact surfaces.

      • Do not allow coolant to come into contact with the bearing inner surface. If any coolant comes into contact with the bearing inner surface, replace the bearing with a new one.

  11. INSTALL PISTON WITH CONNECTING ROD


    1. Apply engine oil to the cylinder walls, pistons, and surfaces of the connecting rod bearings.

    2. Position the piston rings so that the ring ends are as shown in the illustration.

      A01QUJCC01
      *A for Type A *B for Type B
      *1 No. 1 Compression Ring *2 No. 2 Compression Ring
      *3 Oil Ring *4 Oil Ring Expander
      *5 Upper Oil Ring Side Rail *6 Lower Oil Ring Side Rail
    3. A01QSVNC05
      *1 Front Mark

      Using a hammer handle and piston ring compressor, press a piston with connecting rod into each cylinder with the front mark of the piston facing forward.

      Note

      When inserting the piston with connecting rod into the cylinder block, make sure the oil nozzle does not interfere with the connecting rod.

      Tech Tips

      The front mark is "2L or 2S" printed in raised letters.

    4. A01QP8FC10
      *1 Front Mark

      Check that the front mark of the connecting rod cap is facing in the correct direction.

      Note

      Match the numbered connecting rod cap with the correct connecting rod.

    5. Apply a light coat of engine oil to the threads and under the heads of the connecting rod bolts.

    6. Install the connecting rod bolts.

      Tech Tips

      The connecting rod bolts are tightened in 2 progressive steps.


      1. Step 1:

        Install and alternately tighten the connecting rod bolts of each connecting rod cap in several steps.

        Torque:
        40 N*m  { 408 kgf*cm, 30 ft.*lbf }
      2. Mark the front side of each connecting rod cap bolt with paint.

      3. Step 2:

        Tighten the cap bolts 90°.

      4. Check that the paint marks are now at a 90° angle to the front.

    7. Check that the crankshaft turns smoothly.