REPAIR INSTRUCTION PRECAUTION


  1. BASIC REPAIR HINT


    1. HINTS ON OPERATIONS

      A01V9JYN13
      1 Attire
      • Always wear a clean uniform.

      • A hat and safety shoes must be worn.

      2 Vehicle protection Prepare a grille cover, fender cover, seat cover and floor mat before starting work.
      3 Safety procedures
      • When working with 2 or more persons, be sure to check the safety of one another.

      • When working with the engine running, make sure to provide ventilation for exhaust fumes in the workshop.

      • If working on high temperature, high pressure, rotating, moving or vibrating parts, wear appropriate safety equipment and take extra care not to injure yourself or others.

      • When jacking up the vehicle, be sure to support the specified locations with safety stands.

      • When lifting up the vehicle, use appropriate safety equipment.

      4 Preparation of tools and measuring equipment Before starting work, prepare a tool stand, SST, measuring equipment, oil, and any replacement parts required.
      5 Removal and installation, disassembly and assembly operations
      • Diagnose with a thorough understanding of proper procedures and of the reported problem.

      • Before removing any parts, check the general condition of the assembly and for deformation and damage.

      • If the procedure is complicated, take notes. For example, note the total number of electrical connections, bolts or hoses removed. Add matchmarks to ensure reassembly of components in the original positions. Temporarily mark hoses and their fittings if needed.

      • Clean and wash the removed parts if necessary and assemble them after a thorough check.

      6 Removed parts
      • Place the removed parts in a separate box to avoid mixing them up with new parts or contaminating the new parts.

      • For non-reusable parts such as gaskets, O-rings and self-locking nuts, replace them with new ones as instructed in this manual.

      • Retain the removed parts for customer inspection, if requested.

      7* Checks to perform after work is finished
      • Make sure that removed and installed parts (oil filler cap, level dipstick, floor mat, etc.) are properly installed/tightened.

      • Make sure that none of the cloths or tools that were used have been left in the engine compartment or within the vehicle.

      • Check that there are no oil leaks.

      CAUTION:

      *: Be sure to perform these checks properly, not performing these checks properly after finishing work can lead to serious accident or injury.

    2. JACKING UP AND SUPPORTING THE VEHICLE


      1. Care must be taken when jacking up and supporting the vehicle. Be sure to lift and support the vehicle at the proper locations.

    3. A01VA6QC01
      *a Seal Lock Adhesive

      PRECOATED PARTS


      1. Precoated parts are bolts and nuts that are coated with seal lock adhesive at the factory.

      2. If a precoated part is retightened, loosened or moved in any way, it must be recoated with the specified adhesive.

      3. When reusing a precoated part, clean off the old adhesive and dry the part with compressed air. Then apply new seal lock adhesive appropriately to that part.

      4. Some seal lock agents harden slowly. You may have to wait for the seal lock adhesive to harden.

    4. GASKETS


      1. When necessary, use a sealer on gaskets to prevent leaks.

    5. BOLTS, NUTS AND SCREWS


      1. Carefully follow all the specifications for tightening torque. Always use a torque wrench.

      2. Make sure that no foreign matter (burrs, paint, etc.) gets trapped under the heads of the bolts and nuts when tightening them.

    6. A01V9IXC01
      *a INCORRECT
      *b CORRECT

      FUSES


      1. When inspecting a fuse, check that the wire of the fuse is not broken.

      2. If the wire of a fuse is broken, confirm that there are no shorts in its circuit.

      3. When a fuse is replaced, a fuse with the same amperage rating must be used.

        Illustration Symbol Part Name Abbreviation
        A01V8P3 A01V8P0 FUSE FUSE
        A01V80J A01VAAZ MEDIUM CURRENT FUSE M-FUSE
        A01V8OJ A01VB5I HIGH CURRENT FUSE H-FUSE
        A01VALJ A01V8RX FUSIBLE LINK FL
        A01V9MB A01V8XT CIRCUIT BREAKER CB
        A01V7XD A01VB5I FUSIBLE LINK FL
    7. CLIPS


      1. The removal and installation methods of typical clips used for vehicle body parts are shown in the table below.

        Tech Tips

        If clips are damaged during a procedure, always replace the damaged clips with new ones.

        Shape (Example) Removal/Installation
        A01V8WV

        Remove the clips with a clip remover or pliers.

        A01VB54
        A01V8DJ

        Remove the clips using a clip remover or a screwdriver with its tip wrapped with protective tape.

        A01V97O
        A01V7TI

        Remove the clips with a wide scraper to prevent panel damage.

        A01V7EC
        A01V6XC

        Remove the clips by pushing the center pin through and prying out the shell.

        A01V8F8
        A01VAD7

        Remove the clips by unscrewing the center pin and prying out the shell.

        A01V6Z6
        A01V91R

        Remove the clips by prying out the pin using a screwdriver with its tip wrapped with protective tape and then prying out the shell.

        A01V8JI
    8. CLAWS


      1. The removal and installation methods of typical claws used for vehicle body parts are shown in the table below.

        Tech Tips

        If claws are damaged during a procedure, always replace the cap or cover that has damaged claws with a new one.

        Shape (Example) Illustration / Procedures
        A01VASI

        Disengage the claws using a screwdriver with its tip wrapped with protective tape to remove the caps or covers.

        A01V8BL
        A01V8ML

        Disengage the claws using a screwdriver with its tip wrapped with protective tape to remove the caps or covers.

        A01VA5L
        A01V95G

        Disengage the claws using a screwdriver with its tip wrapped with protective tape to remove the caps or covers.

        A01V7KJ
    9. HINGES, GUIDES, CLAMPS, PINS, ETC.


      1. The removal and installation methods of typical hinges, guides, clamps and pins used for vehicle body parts are shown in the table below.

        Tech Tips

        If clamps are damaged during a procedure, always replace the cap or cover that has damaged clamps with a new one.

        Shape (Example) Removal/Installation
        A01V7PD

        Pull away from the pins to disengage.

        A01VADT
        A01VA0B

        Disengage the pins by pulling.

        A01V963
        A01VAZR

        Remove the clamps with pliers.

        A01V9LG
        A01V6R3

        Disengage the pins by pulling.

        A01V9JW
    10. REMOVAL AND INSTALLATION OF VACUUM HOSES


      1. A01VANFC01
        *a INCORRECT
        *b CORRECT

        To disconnect a vacuum hose, pull and twist it from the end of the hose. Do not pull it from the middle of the hose as this may damage the hose.

      2. A01V70X

        When disconnecting vacuum hoses, use tags to identify where they should be reconnected.

      3. After completing any hose related repairs, double-check that the vacuum hoses are properly connected. The label under the hood shows the proper layout.

      4. When using a vacuum gauge, never force the hose onto a connector that is too large. If a hose has been stretched, air may leak. Use a step-down adapter if necessary.

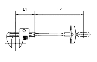
    11. A01VAAYN01

      TORQUE WHEN USING TORQUE WRENCH WITH EXTENSION TOOL


      1. A01VAJKN01

        Use the formula below to calculate special torque values for situations where SST or an extension tool is combined with a torque wrench.

        T' Reading of torque wrench (N*m (kgf*cm, ft.*lbf))
        T Torque (N*m (kgf*cm, ft.*lbf))
        L1 Length of SST or extension tool (cm (in.))
        L2 Length of torque wrench (cm (in.))

        Note

        If an extension tool or SST is combined with a torque wrench and used to tighten to a torque specification in this manual, the actual torque will be excessive and parts will be damaged.

  2. FOR VEHICLES EQUIPPED WITH SRS AIRBAG AND SEAT BELT PRETENSIONER (w/ Occupant Classification System)

    This vehicle is equipped with a Supplemental Restraint System (SRS).

    CAUTION:


    • This vehicle is equipped with a Supplemental Restraint System (SRS), which consists of a horn button assembly, instrument panel passenger airbag, curtain shield airbag, front seat airbag, lower No. 1 instrument panel airbag, front seat outer belt, front seat cushion airbag, front seat inner belt, airbag sensor assembly, front airbag sensor, door side airbag sensor, rear airbag sensor, occupant detection ECU and seat position airbag sensor. Failure to carry out service procedures in the correct sequence could cause SRS parts to unexpectedly deploy and possibly lead to serious injuries. Furthermore, if a mistake is made when servicing SRS parts, they may fail to operate when required. Before performing servicing (including installation/removal, inspection and replacement of parts), be sure to read the following precautions.

    • Before starting work, wait at least 90 seconds after the ignition switch is turned off and after the cable is disconnected from the negative (-) battery terminal (SRS parts are equipped with a backup power source. If work is started within 90 seconds of turning the ignition switch off and disconnecting the cable from the negative (-) battery terminal, SRS parts may deploy).

    • Do not expose SRS parts directly to hot air or flames.

    Note


    • Malfunction symptoms of SRS parts are difficult to confirm. DTCs are the most important source of information when troubleshooting. During troubleshooting, always confirm DTCs before disconnecting the cable from the negative (-) battery terminal.

    • For minor collisions where SRS parts do not deploy, always inspect the SRS parts.

    • Before performing repairs, remove the airbag sensors if any kind of impact is likely to occur to an airbag sensor during repairs.

    • Never use SRS parts from another vehicle. When replacing SRS parts, replace them with new ones.

    • Never disassemble or attempt to repair SRS parts.

    • If an SRS part has been dropped, or if there are any cracks, dents or other defects in the case, bracket or connector, replace the SRS part with a new one.

    • Use an ohmmeter/voltmeter with high impedance (10 kΩ/V minimum) for troubleshooting the electrical circuits.

    • Information labels are attached to the periphery of SRS parts. Follow the cautions and instructions on the labels.

    • After work on the SRS is completed, perform the SRS warning light check.

    • If the vehicle is equipped with a mobile communication system, refer to the Precaution in the Introduction section.

    • After turning the ignition switch off, waiting time may be required before disconnecting the cable from the negative (-) battery terminal. Therefore, make sure to read the disconnecting the cable from the negative (-) battery terminal notices before proceeding with work.

    • When disconnecting the cable from the negative (-) battery terminal while performing repairs, some systems need to be initialized after the cable is reconnected.

    • After replacing the airbag sensor assembly, refer to initialization.

    Tech Tips

    In the airbag system, the airbag sensor assembly, front airbag sensor LH and RH, door side airbag sensor LH and RH and rear airbag sensor LH and RH are collectively referred to as the airbag sensors.


    1. SPIRAL CABLE


      1. The steering wheel must be fitted correctly to the steering column with the spiral cable at the neutral position, as cable disconnection and other problems may occur. Refer to the information about correct installation of the steering wheel.

    2. AIRBAG ASSEMBLY


      1. Always place a removed or new airbag assembly with the pad surface facing upward. Placing the airbag assembly with the airbag inflation direction facing downward could cause a serious accident if the airbag inflates. Also, do not place anything on top of the airbag assembly.

      2. Never measure the resistance of the airbag squib. This may cause the airbag to inflate, which could cause a serious injury.

      3. Grease or detergents of any kind should not be applied to the airbag assembly

      4. Store the airbag assembly in an area where the ambient temperature is below 93°C (199°F), the humidity is not high and there is no electrical noise.

      5. When using electric welding anywhere on the vehicle, disconnect the center airbag sensor connectors. These connectors contain shorting springs. This feature reduces the possibility of the airbag deploying due to currents entering the squib wiring.

      6. When disposing of the vehicle or the airbag assembly by itself, the airbag should be deployed using SST before disposal. Activate the airbag in a safe place away from electrical noise.

    3. SEAT OUTER BELT ASSEMBLY WITH PRETENSIONER


      1. Never measure the resistance of the seat outer belt. This may cause the pretensioner of the seat outer belt to activate, which could cause a serious injury.

      2. Never install the seat outer belt on another vehicle.

      3. Store the seat outer belt in an area where the ambient temperature is below 80°C (176°F), the humidity is not high and there is no electrical noise

      4. When using electric welding anywhere on the vehicle, disconnect the center airbag sensor connectors (2 pins). These connectors contain shorting springs. This feature reduces the possibility of the pretensioner deploying due to currents entering the squib wiring.

      5. When disposing of a vehicle or the seat outer belt by itself, the pretensioner should be activated before disposal. Activate the pretensioner in a safe place away from electrical noise.

      6. As the seat outer belt is hot after the pretensioner is activated, allow some time for it to cool down sufficiently before disposal. Never apply water to try to cool down the seat outer belt.

      7. Grease, detergents, oil or water should not be applied to the seat outer belt.

    4. AIRBAG SENSOR ASSEMBLY


      1. Never reuse an airbag sensor assembly that has been involved in a collision where the SRS has deployed.

      2. The connectors to the airbag sensor assembly should be connected or disconnected with the sensor placed on the floor. If the connectors are connected or disconnected while the airbag sensor assembly is not placed on the floor, the SRS may activate.

      3. Work must be started at least 90 seconds after the ignition switch is turned off and the cable is disconnected from the negative (-) battery terminal, even if only loosening the set bolts of the airbag sensor assembly.

    5. WIRE HARNESS AND CONNECTOR


      1. The SRS wire harness is integrated with the instrument panel wire harness assembly. All the connectors in the system are yellow. If the SRS wire harness becomes disconnected or the connector becomes broken, repair or replace it.

  3. FOR VEHICLES EQUIPPED WITH SRS AIRBAG AND SEAT BELT PRETENSIONER (w/o Occupant Classification System)

    This vehicle is equipped with a Supplemental Restraint System (SRS).

    CAUTION:


    • This vehicle is equipped with a Supplemental Restraint System (SRS), which consists of a horn button assembly, instrument panel passenger airbag, curtain shield airbag, front seat airbag, lower No. 1 instrument panel airbag, front seat outer belt, center airbag sensor assembly, front airbag sensor, door side airbag sensor and rear airbag sensor. Failure to carry out service procedures in the correct sequence could cause SRS parts to unexpectedly deploy and possibly lead to serious injuries. Furthermore, if a mistake is made when servicing SRS parts, they may fail to operate when required. Before performing servicing (including installation/removal, inspection and replacement of parts), be sure to read the following precautions.

    • Before starting work, wait at least 90 seconds after the ignition switch is turned off and after the cable is disconnected from the negative (-) battery terminal (SRS parts are equipped with a backup power source. If work is started within 90 seconds of turning the ignition switch off and disconnecting the cable from the negative (-) battery terminal, SRS parts may deploy).

    • Do not expose SRS parts directly to hot air or flames.

    Note


    • Malfunction symptoms of SRS parts are difficult to confirm. DTCs are the most important source of information when troubleshooting. During troubleshooting, always confirm DTCs before disconnecting the cable from the negative (-) battery terminal.

    • For minor collisions where SRS parts do not deploy, always inspect the SRS parts.

    • Before performing repairs, remove the airbag sensors if any kind of impact is likely to occur to an airbag sensor during repairs.

    • Never use SRS parts from another vehicle. When replacing SRS parts, replace them with new ones.

    • Never disassemble or attempt to repair SRS parts.

    • If an SRS part has been dropped, or if there are any cracks, dents or other defects in the case, bracket or connector, replace the SRS part with a new one.

    • Use an ohmmeter/voltmeter with high impedance (10 kΩ/V minimum) for troubleshooting the electrical circuits.

    • Information labels are attached to the periphery of SRS parts. Follow the cautions and instructions on the labels.

    • After work on the SRS is completed, perform the SRS warning light check.

    • If the vehicle is equipped with a mobile communication system, refer to the Precaution in the Introduction section.

    • After turning the ignition switch off, waiting time may be required before disconnecting the cable from the negative (-) battery terminal. Therefore, make sure to read the disconnecting the cable from the negative (-) battery terminal notices before proceeding with work.

    • When disconnecting the cable from the negative (-) battery terminal while performing repairs, some systems need to be initialized after the cable is reconnected.

    • After replacing the airbag sensor assembly, refer to initialization.

    Tech Tips

    In the airbag system, the center airbag sensor assembly, front airbag sensor LH and RH, door side airbag sensor LH and RH and rear airbag sensor LH and RH are collectively referred to as the airbag sensors.


    1. SPIRAL CABLE


      1. The steering wheel must be fitted correctly to the steering column with the spiral cable at the neutral position, as cable disconnection and other problems may occur. Refer to the information about correct installation of the steering wheel.

    2. AIRBAG ASSEMBLY


      1. Always place a removed or new airbag assembly with the pad surface facing upward. Placing the airbag assembly with the airbag inflation direction facing downward could cause a serious accident if the airbag inflates. Also, do not place anything on top of the airbag assembly.

      2. Never measure the resistance of the airbag squib. This may cause the airbag to inflate, which could cause a serious injury.

      3. Grease or detergents of any kind should not be applied to the airbag assembly

      4. Store the airbag assembly in an area where the ambient temperature is below 93°C (199°F), the humidity is not high and there is no electrical noise.

      5. When using electric welding anywhere on the vehicle, disconnect the center airbag sensor connectors. These connectors contain shorting springs. This feature reduces the possibility of the airbag deploying due to currents entering the squib wiring.

      6. When disposing of the vehicle or the airbag assembly by itself, the airbag should be deployed using SST before disposal. Activate the airbag in a safe place away from electrical noise.

    3. SEAT OUTER BELT ASSEMBLY WITH PRETENSIONER


      1. Never measure the resistance of the seat outer belt. This may cause the pretensioner of the seat outer belt to activate, which could cause a serious injury.

      2. Never install the seat outer belt on another vehicle.

      3. Store the seat outer belt in an area where the ambient temperature is below 80°C (176°F), the humidity is not high and there is no electrical noise

      4. When using electric welding anywhere on the vehicle, disconnect the center airbag sensor connectors (2 pins). These connectors contain shorting springs. This feature reduces the possibility of the pretensioner deploying due to currents entering the squib wiring.

      5. When disposing of a vehicle or the seat outer belt by itself, the pretensioner should be activated before disposal. Activate the pretensioner in a safe place away from electrical noise.

      6. As the seat outer belt is hot after the pretensioner is activated, allow some time for it to cool down sufficiently before disposal. Never apply water to try to cool down the seat outer belt.

      7. Grease, detergents, oil or water should not be applied to the seat outer belt.

    4. AIRBAG SENSOR ASSEMBLY


      1. Never reuse an airbag sensor assembly that has been involved in a collision where the SRS has deployed.

      2. The connectors to the airbag sensor assembly should be connected or disconnected with the sensor placed on the floor. If the connectors are connected or disconnected while the airbag sensor assembly is not placed on the floor, the SRS may activate.

      3. Work must be started at least 90 seconds after the ignition switch is turned off and the cable is disconnected from the negative (-) battery terminal, even if only loosening the set bolts of the airbag sensor assembly.

    5. WIRE HARNESS AND CONNECTOR


      1. The SRS wire harness is integrated with the instrument panel wire harness assembly. All the connectors in the system are yellow. If the SRS wire harness becomes disconnected or the connector becomes broken, repair or replace it.

  4. ELECTRONIC CONTROL

    A01V75PC01
    *1 Cable
    *2 Negative (-) Battery Terminal

    Note


    • Certain systems need to be initialized after disconnecting and reconnecting the cable to the negative (-) battery terminal.


    • After the ignition switch is turned off, the navigation system requires approximately a minute to record various types of memory and settings. As a result, after turning the ignition switch off, wait a minute or more before disconnecting the cable from the negative (-) battery terminal.


    1. DISCONNECTING AND RECONNECTING NEGATIVE BATTERY CABLE


      1. Before performing work on electronic components, disconnect the cable to the negative (-) battery terminal to prevent damage to the electrical system or components.

      2. When disconnecting the cable, turn the ignition switch and headlight switch off and loosen the cable nut completely. Perform these operations without twisting or prying the cable. Then disconnect the cable.

      3. Clock settings, radio settings, audio system memory, DTCs and other data will be cleared when the cable is disconnected from the negative (-) battery terminal. Write down any necessary data before disconnecting the cable.

    2. A01V91JC01
      *a INCORRECT

      HANDLING OF ELECTRONIC PARTS


      1. Do not open the cover or case of the ECU unless absolutely necessary. If the IC terminals are touched, the IC may be rendered inoperative by static electricity.

      2. Do not pull on the wires when disconnecting electronic connectors. Pull on the connector itself.

      3. Do not drop electronic components, such as sensors or relays. If they are dropped on a hard surface, they should be replaced.

      4. When cleaning the engine components with steam, protect the electronic components, air filter and emission-related components from water.

      5. Never use an impact wrench to remove or install temperature switches or temperature sensors.

      6. When measuring the resistance between terminals of a wire connector, insert the tester probe carefully to prevent the terminals from bending.

  5. REMOVAL AND INSTALLATION OF FUEL CONTROL PARTS


    1. PLACE FOR REMOVING AND INSTALLING FUEL SYSTEM PARTS


      1. Work in a location with good air ventilation that does not have welders, grinders, drills, electric motors, stoves, or any other ignition sources nearby.

      2. Never work in a pit or near a pit as fuel vapors will collect there.

    2. REMOVING AND INSTALLING FUEL SYSTEM PARTS


      1. Prepare a fire extinguisher before starting work.

      2. To prevent static electricity, install a ground wire between the fuel changer and vehicle, and do not spray the surrounding area with water. Be careful when performing work in this area, as the floor surface will become slippery. Do not clean up gasoline spills with water, as this may cause the gasoline to spread, and possibly create a fire hazard.

      3. Avoid using electric motors, work lights and other electric equipment that can cause sparks or high temperatures.

      4. Avoid using iron hammers as they may create sparks.

      5. Dispose of fuel-contaminated cloth separately using a fire resistant container.

  6. REMOVAL AND INSTALLATION OF ENGINE INTAKE PARTS


    1. A01V8RO

      If any metal particles enter intake system parts, they may damage the engine.

    2. When removing and installing intake system parts, cover the openings of the removed parts and engine openings. Use adhesive tape or other suitable materials.

    3. When installing intake system parts, check that no metal particles have entered the engine or installed parts.

  7. HANDLING OF HOSE CLAMPS

    A01V9EQC09
    *1 Clamp Track
    *2 Spring Type Clamp

    1. Before removing a hose, check the clamp position so that it can be reinstalled in the same position.

    2. Replace any deformed or dented clamps with new ones.

    3. When reusing a hose, attach the clamp on the clamp track portion of the hose.

    4. For a spring type clamp, it may be necessary to spread the tabs slightly after installation by pushing them in the direction of the arrows as shown in the illustration.

  8. FOR VEHICLES EQUIPPED WITH MOBILE COMMUNICATION SYSTEMS

    A01V7K3

    1. Install the antenna as far away from the ECU and sensors of the vehicle electronic systems as possible.

    2. Install the antenna and feeder at least 20 cm (7.87 in.) away from the ECUs and sensors of the vehicle electronic systems. For details about ECU and sensor locations, refer to the section on the applicable components.

    3. Keep the antenna and feeder separate from other wiring as much as possible. This will prevent signals sent from the communication equipment from affecting vehicle equipment and vice versa.

    4. Check that the antenna and feeder are correctly adjusted.

    5. Do not install a high-powered mobile communication system.

  9. HEADLIGHT INSPECTION OR MAINTENANCE


    1. When the headlight dimmer switch assembly is set to head, do not touch the discharge headlight high-voltage socket area.

      Note

      When performing inspection or maintenance, the discharge headlight precautions must be followed.

    2. A01V7Q0C07
      *a Illumination for 3 minutes or more prohibited if covered

      When the headlights are illuminated, do not cover the headlights for 3 minutes or more.

      Note

      As the headlight outer lens is made of resin, the resulting heat created when covering the headlight for an extended period of time may deform the headlight.

  10. FOR VEHICLES EQUIPPED WITH TRACTION CONTROL (TRC) AND VEHICLE STABILITY CONTROL (VSC) SYSTEMS

    When testing with a drum tester such as a speedometer tester, combination tester for the speedometer and brakes, or chassis dynamometer, or when jacking up the front wheels and turning the wheels, perform the following procedure to enter Inspection Mode and disable the TRC and VSC systems.

    Click here

    Note

    Secure the vehicle with lock chains for safety.

  11. WHEN SERVICING DYNAMIC TORQUE CONTROL 4WD/AWD SYSTEM

    In the case of using a speedometer tester, brake tester, or chassis dynamometer and so on, there is some possibility of a speed differential between the front and rear wheels. Therefore, before performing the test, make sure to enter 4WD/AWD control prevention mode.

    Click here

  12. WHEN TESTING BRAKES, SPEEDOMETER, ETC.


    1. WHEN USING A SPEEDOMETER TESTER

      Note


      • The inspection should be performed using the front wheels.

      • The maximum vehicle speed must be less than 60 km/h (37 mph) (when using free rollers to support the front wheels, the vehicle speed must be less than 50 km/h (31 mph)).

      • The driving time should be less than 1 minute.

      • Follow all usage and safety procedures in the operator's manual for the speedometer tester.


      1. Place the front wheels onto the rollers.

      2. for 4WD/AWD:


        1. Place the rear wheels onto the rollers or jack up the rear wheels.

        2. Using the GTS, enter 4WD/AWD Control Prevention Mode Change to disable Four Wheel Drive control.

          Click here

        Note

        If the ignition switch is turned off and then turned to ON again during 4WD/AWD control prohibit mode, 4WD/AWD control prohibition is stopped and 4WD/AWD control normal mode resumes.

      3. Enter Inspection Mode to disable TRC and VSC control.

        Click here

      4. A01V8JTC01
        *A 2WD
        *B 4WD/AWD

        Secure the vehicle with suitable chains or straps.

      5. Start the engine, and then measure the vehicle speed while increasing the speed gradually.

      6. After the test is finished, decrease the speed gradually, and then stop the vehicle.

    2. WHEN USING A BRAKE TESTER

      Note


      • A high-speed type brake tester cannot be used.

      • The vehicle speed should be less than 0.5 km/h (0.3 mph).

      • Follow all usage and safety procedures in the operator's manual for the brake tester.


      1. for 4WD/AWD:

        Using the GTS, enter 4WD/AWD Control Prevention Mode Change to disable 4WD/AWD control.

        Click here

        Note

        If the ignition switch is turned off and then turned to ON again during 4WD/AWD control prohibit mode, 4WD/AWD control prohibition is stopped and 4WD/AWD control normal mode resumes.

      2. Enter Inspection Mode to disable TRC and VSC control.

        Click here

      3. Position the wheels to be tested (front or rear) on the tester.

      4. for Manual Transaxle:

        Move the shift lever to neutral.

      5. for Automatic Transaxle, Continuously Variable Transaxle:

        Move the shift lever to N.

      6. Start the engine to allow normal brake booster operation.

      7. Operate the brakes to perform the test.

    3. WHEN USING A CHASSIS DYNAMOMETER


      1. Place the rear wheels onto the rollers.

      2. for 4WD/AWD:


        1. Place the front wheels onto the rollers or jack up the front wheels.

        2. Using the GTS, enter 4WD/AWD Control Prevention Mode Change to disable 4WD/AWD control.

          Click here

        Note

        If the ignition switch is turned off and then turned to ON again during 4WD/AWD control prohibit mode, 4WD/AWD control prohibition is stopped and 4WD/AWD control normal mode resumes.

        A01V70YE01
  13. PRECAUTIONS FOR TOWING FRONT WHEEL DRIVE VEHICLES


    1. Use one of the following methods to tow the vehicle.

    2. If the vehicle has trouble with the chassis or drivetrain, use method 1 (flatbed truck).

      A01V9FIE42

      Note

      Do not use any towing method other than those shown above.

    3. If a tow truck is not available, in an emergency the vehicle may be temporarily towed using a cable or chain secured to the emergency towing eyelet(s). This should only be attempted on hard surfaced roads for distances of less than 80 km (50 miles), and at speeds below 30 km/h (19 mph).

      A driver must be in the vehicle to steer and operate the brakes. The vehicle's wheels, drivetrain, axles, steering and brakes must be in good condition.

      Note

      If the towing speed or distance exceeds the specified limits, or the vehicle is towed in a backward direction with the front wheels on the ground, the transaxle may be damaged.


      1. Emergency towing procedure


        1. Turn the ignition switch to ON.

        2. Depress the brake pedal and move the shift lever to N.

        3. Release the parking brake.

        4. Release the brake pedal slowly.

        Note


        • Use extreme caution when towing the vehicle. Avoid sudden starts or erratic driving maneuvers which place excessive stress on the emergency towing eyelet and the cables or chains.

        • Do not turn off the ignition switch. Turning off the ignition switch may result in engagement of the steering lock, resulting in a hazardous situation or accident.

    4. The towing methods shown below are dangerous and can damage the vehicle, so do not use them.

      A01V9C7

      1. Do not tow the vehicle facing rearward with the front wheels on the ground.

        Note


        • If the vehicle is towed facing rearward with the front wheels on the ground, the drivetrain may overheat and be damaged.

        • In addition, if the vehicle is equipped with a VSC system, the system may apply the brakes to the rotating wheels.

      2. Do not use a sling-type towing method either from the front or rear.

        Note

        If a sling-type tow truck is used, damage may occur to the vehicle body.

  14. PRECAUTIONS FOR TOWING ALL WHEEL DRIVE VEHICLES


    1. Use one of the following methods to tow the vehicle.

    2. If the vehicle has trouble with the chassis or drivetrain, use method 1 (flatbed truck).

      A01V91UE04

      Note

      Do not use any towing method other than those shown above.

    3. If a tow truck is not available, in an emergency the vehicle may be temporarily towed using a cable or chain secured to the emergency towing eyelet(s). This should only be attempted on hard surfaced roads for distances of less than 80 km (50 miles), and at speeds below 30 km/h (19 mph).

      A driver must be in the vehicle to steer and operate the brakes. The vehicle's wheels, drivetrain, axles, steering and brakes must be in good condition.

      Note

      If the towing speed or distance exceeds the specified limits, or the vehicle is towed in a backward direction with the front wheels on the ground, the transaxle may be damaged.


      1. Emergency towing procedure


        1. Turn the ignition switch to ON.

        2. Depress the brake pedal and move the shift lever to N.

        3. Release the parking brake.

        4. Release the brake pedal slowly.

        Note


        • Use extreme caution when towing the vehicle. Avoid sudden starts or erratic driving maneuvers which place excessive stress on the emergency towing eyelet and the cables or chains.

        • Do not turn off the ignition switch. Turning off the ignition switch may result in engagement of the steering lock, resulting in a hazardous situation or accident.

    4. The towing methods shown below are dangerous and can damage the vehicle, so do not use them.

      A01V9C7

      1. Do not tow the vehicle with only two wheels on the ground.

        Note

        If the vehicle is towed with only 2 wheels on the ground, the drivetrain may overheat and be damaged, or the wheels may come off the dollies.

      2. Do not use a sling-type towing method either from the front or rear.

        Note

        If a sling-type tow truck is used, damage may occur to the vehicle body.

  15. STRICT PROHIBITION OF MANUAL EMERGENCY CALL USING EMERGENCY CALL SERVICE (FOR TELEMATICS SYSTEM)


    1. Do not make emergency calls in non-emergency situations. When performing an inspection, use the manual maintenance check.

      Note


      • If the emergency call service is used to connect to the PSAP in a non-emergency situation, an unnecessary workload will be generated at the PSAP. This may cause a delayed response by the PSAP to other emergency calls.

      • If emergency vehicles are dispatched due to an accidental operation of the manual (SOS) switch, you may be charged or punished according to local law.

    2. If the manual (SOS) switch is accidentally operated:


      1. Contact the PSAP to tell them that the call was made by mistake.

      2. An emergency call cannot be halted or finished from the vehicle. Only the PSAP can halt or finish an emergency call.

      3. If the PSAP cannot be informed that the emergency call was made by mistake, the center will report an emergency to authorities, emergency facilities and dealerships in compliance with its agreements. As a result, emergency vehicles may be dispatched.

  16. FOR VEHICLES EQUIPPED WITH CATALYTIC CONVERTER

    CAUTION:

    If a large amount of unburned gasoline or gasoline vapors flow into the converter, it may cause converter overheating and create a fire hazard. To prevent this, observe the following precautions:


    1. Use only unleaded gasoline.

    2. Avoid performing unnecessary spark tests.


      1. Perform a spark test only when absolutely necessary. Perform this test as rapidly as possible.

      2. While testing, never race the engine unless instructed.

    3. Avoid a prolonged engine compression measurement. Engine compression measurements must be performed as rapidly as possible.

    4. Do not run the engine when the fuel tank is nearly empty. This may cause the engine to misfire and create an extra load on the converter.

  17. NOTE REGARDING PROHIBITION OF FOUR-WHEEL TOWING TRACTION (w/ Stop and Start System)

    Do not tow the vehicle with 4 wheels on the ground.

    Note

    If the vehicle is towed with all 4 wheels touching the ground, the stop and start system may be damaged.

    Tech Tips

    If the vehicle must be towed with the 4 wheels on the ground, turn the ignition switch off and then turn the ignition switch to ON before towing the vehicle.

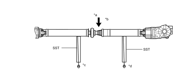
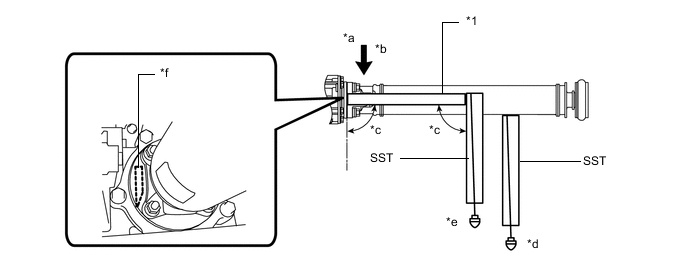
  18. INSPECTION AND ADJUSTMENT OF JOINT ANGLE DURING REMOVAL AND INSTALLATION OF PROPELLER SHAFT


    1. When performing operations which involve the removal and installation of the propeller shaft, always check the joint angle. Make adjustments if necessary.

      Click here

      A01V8M2C01
      *1 Straightedge - -
      *a No. 1 Joint Angle *b D - A
      *c 90° *d Angle A
      *e Angle D *f Angle D Measurement Position
      A01V7JYC01
      *a No. 2 Joint Angle *b A - B
      *c Angle A *d Angle B
      A01V7WRC01
      *a No. 3 Joint Angle *b B - C
      *c Angle B *d Angle C
  19. EXPRESSIONS OF IGNITION SWITCH


    1. The type of ignition switch used on this model differs according to the specifications of the vehicle.

      The expressions listed in the table below are used in this section.

      Expression Ignition Switch (position) Engine Switch (condition)
      Ignition switch off LOCK Off (Lock)
      Ignition switch ACC ACC On (ACC)
      Ignition switch ON ON On (IG)
      Engine start START On (Start)