СТАРТЕР (для моделей без системы запуска и останова) ПРОВЕРКА

PROCEDURE


  1. INSPECT STARTER ASSEMBLY

    CAUTION:

    As a large electric current passes through the cable during this inspection, a thick cable must be used. If not, the cable may become hot and cause injury.

    Note

    Perform each of the following tests within 3 to 5 seconds to prevent the coil from burning out.


    1. A00YAK6

      Perform a pull-in test.


      1. Remove the nut and disconnect the lead wire from terminal C.

      2. A00YAAGC04
        *a Terminal C
        *b Terminal 50
        *c Body

        Connect the battery to the magnet starter switch assembly as shown in the illustration.

      3. Check that the clutch pinion gear moves outward.

        If the clutch pinion gear does not move outward, replace the magnet starter switch assembly.

    2. A00YBDUC04
      *a Terminal C
      *b Terminal 50
      *c Body

      Perform a hold-in test.


      1. Disconnect the negative (-) lead from terminal C. Check that the clutch pinion gear does not return inward.

        If the clutch pinion gear returns inward, replace the magnet starter switch assembly.

    3. A00Y5IRC04
      *a Terminal C
      *b Terminal 50
      *c Body

      Check return operation.


      1. Disconnect the negative (-) lead from the switch body. Check that the clutch pinion gear moves inward.

        If the clutch pinion gear does not move inward, replace the magnet starter switch assembly.

    4. A00YAK6

      Perform a no-load performance test.


      1. Connect the lead wire to terminal C with the nut. Make sure that the lead wire is not grounded.

        Torque:
        10 N*m  { 102 kgf*cm, 7.4 ft.*lbf }
      2. Clamp the starter assembly in a vise between aluminum plates.

        Note

        Ensure that the starter is secured in the vise to prevent it from falling out.

      3. A00Y77TC04
        *a Terminal 30
        *b Terminal 50
        *c Body

        Connect the battery and an ammeter to the starter as shown in the illustration.

        Note

        Do not allow any lead to get caught as the pinion gear operates.

      4. Check that the starter rotates smoothly and steadily with the clutch pinion gear moved outward. Measure the current according to the value(s) in the table below.

        Standard Current
        Tester Connection Condition Specified Condition
        Battery positive terminal - Terminal 30 - Terminal 50 11.5 V Below 90 A

        If the result is not as specified, replace the starter assembly.

  2. INSPECT STARTER ARMATURE ASSEMBLY


    1. A00YAM6C08
      *a Segment

      Check the commutator for an open circuit.


      1. Measure the resistance according to the value(s) in the table below.

        Standard Resistance
        Tester Connection Condition Specified Condition
        Segment - Segment Always Below 1 Ω

        If the result is not as specified, replace the starter armature assembly.

    2. A00YB11C07
      *a Armature Coil Core
      *b Commutator

      Check the commutator for a short circuit.


      1. Measure the resistance according to the value(s) in the table below.

        Standard Resistance
        Tester Connection Condition Specified Condition
        Commutator - Armature coil core Always 10 kΩ or higher

        If the result is not as specified, replace the starter armature assembly.

    3. Check the commutator appearance.

      If the surface is dirty or burnt, restore it with sandpaper (No. 400) or on a lathe.

    4. A00YALXC08
      *a Armature Shaft

      Check the commutator for runout.


      1. Place the armature shaft on V-blocks.

      2. Using a dial indicator, measure the runout.

        Standard Runout
        0.02 mm (0.000787 in.)
        Maximum Runout
        0.05 mm (0.00197 in.)

        If the runout is greater than the maximum, replace the starter armature assembly.

    5. A00Y779

      Using a vernier caliper, measure the commutator diameter.

      Standard Diameter
      29 mm (1.14 in.)
      Minimum Diameter
      28 mm (1.10 in.)

      If the diameter is less than the minimum, replace the starter armature assembly.

    6. A00Y931

      Check that the undercut portion between the segments is free of foreign matter and measure its depth.

      Standard Undercut Depth
      0.7 mm (0.0276 in.)
      Minimum Undercut Depth
      0.2 mm (0.00787 in.)

      If the undercut depth is less than the minimum, adjust it with a hacksaw.

  3. INSPECT STARTER BRUSH HOLDER ASSEMBLY


    1. A00Y6P4

      Using a vernier caliper, measure the brush length.

      Standard Length
      14.4 mm (0.567 in.)
      Minimum Length
      9.0 mm (0.354 in.)

      If the brush length is less than the minimum, replace the starter brush holder assembly.

    2. A00Y5T9C01

      Check the brush holder.


      1. Measure the resistance according to the value(s) in the table below.

        Standard Resistance
        Tester Connection Condition Specified Condition
        A - B Always 10 kΩ or higher
        A - C
        A - D Below 1 Ω
        B - C
        B - D 10 kΩ or higher
        C - D

        If the result is not as specified, replace the starter brush holder assembly.

  4. INSPECT STARTER CENTER BEARING CLUTCH SUB-ASSEMBLY


    1. Inspect the gear teeth of the planetary gears and internal gear of the starter center bearing clutch sub-assembly for wear and damage.

      If damaged, replace the planetary gears or starter center bearing clutch sub-assembly. Also check the planetary gears for wear and damage.

    2. A00Y9IGC01
      *a Free
      *b Lock

      Check the movement of the clutch pinion gear.


      1. While holding the starter center bearing clutch sub-assembly, rotate the clutch pinion gear clockwise and check that it turns freely.

      2. Try to rotate the clutch pinion gear counterclockwise and check that it locks.

        If the clutch pinion gear cannot be turned clockwise smoothly, or does not lock in the counterclockwise direction, replace the starter center bearing clutch sub-assembly.

  5. INSPECT MAGNET STARTER SWITCH ASSEMBLY


    1. Check the plunger.


      1. A00Y5RU

        Push in the plunger and check that it returns quickly to its original position.

        If necessary, replace the magnet starter switch assembly.

    2. A00Y865C05
      *a Terminal 50
      *b Terminal C

      Check the pull-in coil for an open circuit.


      1. Measure the resistance according to the value(s) in the table below.

        Standard Resistance
        Tester Connection Condition Specified Condition
        Terminal 50 - Terminal C Always Below 1 Ω

        If the result is not as specified, replace the magnet starter switch assembly.

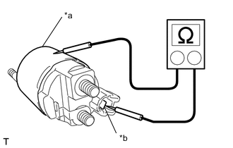
    3. A00Y8J5C05
      *a Switch Body
      *b Terminal 50

      Check the holding coil for an open circuit.


      1. Measure the resistance according to the value(s) in the table below.

        Standard Resistance
        Tester Connection Condition Specified Condition
        Terminal 50 - Switch body Always Below 2 Ω

        If the result is not as specified, replace the magnet starter switch assembly.