ТОПЛИВНЫЙ НАСОС УСТАНОВКА

ПОРЯДОК ВЫПОЛНЕНИЯ


  1. УСТАНОВИТЕ ТОПЛИВОЗАБОРНИК С БЕНЗОНАСОСОМ И ДАТЧИКОМ УРОВНЯ ТОПЛИВА В СБОРЕ


    1. B0043KDC05
      *1 Установочная прокладка топливозаборника

      Установите новую установочную прокладку топливозаборника на топливный бак.

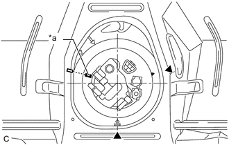
    2. B0043Y5C04
      *a Паз
      *b Выступание

      Установите топливозаборник в сборе с насосом и датчиком уровня топлива на топливный бак.

      Note

      Будьте осторожны, чтобы не допустить деформации рукоятки датчика уровня топлива.

    3. Совместите выступы на топливозаборнике в сборе с насосом и датчиком уровня топлива с канавками топливного бака.

    4. B0044YBC01
      *a Метка, нанесенная краской

      Нанесите краской метку на топливозаборник с бензонасосом и датчиком уровня топлива в сборе, как показано на рисунке.

      Tech Tips

      Данный шаг выполняется только в случае замены топливозаборника с бензонасосом и датчиком уровня топлива в сборе.

  2. УСТАНОВИТЕ КРЕПЕЖНУЮ ДЕТАЛЬ ДАТЧИКА ТОПЛИВНОГО НАСОСА


    1. B00429VC01
      *a Копия метки начала резьбы
      *b Начало резьбы на крепежной детали датчика топливного насоса
      *c Совместить
      B0042CO Нажмите
      B0043VS Передняя сторона

      Совместив начало резьбы на новой крепежной детали датчика топливного насоса с меткой начала резьбы на кузове автомобиля, вставьте топливозаборник в сборе с топливным насосом и датчиком и установите крепежную деталь датчика топливного насоса.

    2. Установите специальный инструмент (SST) на крепежную деталь датчика топливного насоса.


      1. B0042Y5C01
        *1 Крепежная деталь датчика топливного насоса
        *a Специальный инструмент (SST) (комплект захватов)
        *b Выступание
        *c Паз
        *d Не устанавливайте специальный инструмент (SST) (комплект захватов).

        Установите 4 специальных инструмента (SST) (комплект захватов) на крепежную деталь датчика топливного насоса.

        SST
        09808-14031   ( 09808-01080, 09808-01090, 09808-01100 )

        Note


        • Совместите паз специального инструмента (SST) (комплект захватов) с выступом крепежной детали датчика топливного насоса.

        • Не устанавливайте специальный инструмент (SST) (комплект захватов) на начало резьбы крепежной детали датчика топливного насоса.

      2. B00427GC01
        *1 Крепежная деталь датчика топливного насоса
        *a Специальный инструмент (SST) (комплект захватов)
        *b Крепление
        B0042CO Нажмите
        B0043VS SST (болт)

        Прижмите специальный инструмент (SST) (комплект захватов) к крепежной детали датчика топливного насоса и затяните специальный инструмент (SST) (болт).

      3. B0043K1C01
        *a SST (пластина)
        *b Специальный инструмент (SST) (комплект захватов)
        B0042CO SST (болт)

        Установите специальный инструмент (SST) (проставка) на специальный инструмент (SST) (комплект захватов) и заверните, не затягивая, 4 специальных инструмента (SST) (болт).

        SST
        09808-14031   ( 09808-01030, 09808-01090 )
      4. B0043NYC01
        *a Центр крепежной детали датчика топливного насоса
        *b SST (пластина)
        B0042CO Передняя сторона

        Отрегулируйте положение специального инструмента (SST) (комплект захватов) так, чтобы отверстие в специальном инструмент (SST) (пластина) для установки специального инструмента (SST) (рукоятка) располагалось в центре крепежной детали датчика топливного насоса.

      5. B0044MNC01
        *1 Крепежная деталь датчика топливного насоса
        *a SST (пластина)
        *b Специальный инструмент (SST) (комплект захватов)
        *c SST (болт)
        B0042CO Нажмите

        Прижмите специальный инструмент (SST) (комплект захватов) к выступам крепежной детали датчика топливного насоса и затяните специальный инструмент (SST) (болт).

    3. B0043ZLC01
      *1 Крепежная деталь датчика топливного насоса
      *2 Топливный бак в сборе
      *a SST (пластина)
      *b Повернуть на угол около 90°
      *c Крепежная деталь датчика топливного насоса поднимается
      *d Поперечное сечение
      *e Метка, нанесенная краской
      B0042CO Нажмите быстро и сильно
      B0043VS Передняя сторона

      Прижимая топливозаборник с бензонасосом и датчиком уровня топлива в сборе, попросите другого механика сильно прижать крепежную деталь датчика топливного насоса к резьбе топливного бака, и затяните крепежную деталь датчика топливного насоса примерно на 90°.

      Note


      • Во избежание повреждения деталей не следует вращать специальный инструмент (SST) слишком энергично.

      • Не вращайте крепежную деталь топливозаборника с бензонасосом и датчиком уровня топлива в сборе, если нанесенные краской метки не совмещены.

    4. Быстро и крепко нажмите на часть крепежной детали датчика топливного насоса, ближайшую к задней стороне автомобиля, чтобы не допустить ее подъема.

      Tech Tips


      • Если крепежную деталь датчика топливного насоса нельзя должным образом прижать из-за положения специального инструмента (SST), установите специальный инструмент (SST) в другое положение.

      • При нажатии на крепежную деталь датчика топливного насоса до упора раздается звук и ощущается касание деталей друг с другом. В этот момент топливозаборник с бензонасосом и датчиком уровня топлива в сборе прекращается подниматься.

    5. B0041QGC01
      *a SST (пластина)
      *b Один механик отвечает за затягивание
      *c Один механик отвечает за нажатие
      *d Примерно 180°
      B0042CO Передняя сторона

      Прижимая топливозаборник с бензонасосом и датчиком уровня топлива в сборе, попросите другого механика медленно затянуть крепежную деталь датчика топливного насоса на 180°.

    6. Проверьте затяжку крепежной детали датчика топливного насоса.


      1. B0042YFC01
        *1 Крепежная деталь датчика топливного насоса
        *2 Топливный бак в сборе
        *a Точка измерения
        *b Штангенциркуль
        B0043VS Передняя сторона

        С помощью штангенциркуля измерьте расстояние от топливного бака в сборе до верхней поверхности крепежной детали датчика топливного насоса в 3 местах, как показано на рисунке.

        Номинальное значение/Номинальный режим
        Разница между 3 измеренными значениями не превышает 3 мм (0,118 дюйма).

        Note

        Если результаты измерений различаются примерно на 6 мм (0,236 дюйма), значит резьбы не совпадают на 1 виток (6 мм (0,236 дюйма)), поэтому снимите и повторно установите крепежную деталь датчика топливного насоса.

    7. B0041VZC01
      *a SST (рукоятка)
      *b SST (пластина)
      *c Один механик отвечает за затягивание
      *d Один механик отвечает за нажатие
      *e Примерно 90°
      B0042CO Передняя сторона

      Установите специальный инструмент (SST) (рукоятка) на специальный инструмент (SST) (пластину).

      SST
      09808-14031   ( 09808-01010, 09808-01020 )
    8. Прижимая топливозаборник с бензонасосом и датчиком уровня топлива в сборе, попросите другого механика медленно затянуть крепежную деталь датчика топливного насоса на 90° с помощью специального инструмента (SST) (рукоятки).

    9. B00440TC01
      *a SST (рукоятка)
      *b SST (пластина)
      *c Отметить положение метки "полностью затянуто"
      *d Начало резьбы на крепежной детали датчика топливного насоса
      B0042CO Затяните
      B0043VS Передняя сторона

      Медленно затяните крепежную деталь датчика топливного насоса, пока не будет достигнута метка полной затяжки на кузове автомобиля.

  3. ПОДСОЕДИНИТЕ ПОДАЮЩИЙ ТОПЛИВОПРОВОД В СБОРЕ


    1. Протолкните соединитель топливопровода в отверстие пластины топливозаборника, затем установите фиксатор трубного соединителя.

      B0043KPC01
      *1 Пластина топливозаборника *2 Зажим трубного соединения
      *3 Подающий топливопровод - -
      *a Кольцевое уплотнение *b Правильно
      *c Неправильно *d Кольцо
      *e Соединитель топливопровода - -
      B0042CO Вставьте B0043VS Вставьте

      Note


      • Перед выполнением данной операции убедитесь в отсутствии царапин или посторонних частиц вокруг соединенных деталей трубного соединителя и пробки.

      • Удостоверьтесь, что соединитель топливопровода плотно вставлен до упора.

      • Убедитесь, что зажим трубного соединения располагается на кольце соединителя топливопровода, как показано на рисунке.

      • После установки фиксатора трубного соединения убедитесь, что подающий топливопровод надежно закреплен, потянув за него.

  4. ПРОВЕРЬТЕ ГЕРМЕТИЧНОСТЬ


    1. B00451XC01
      *a Зона нанесения мыльного раствора

      Нанесите мыльный раствор на поверхности соприкосновения между топливозаборником с бензонасосом и датчиком уровня топлива в сборе и крепежной деталью датчика топливного насоса.

      Note

      Закройте разъем топливозаборника с насосом и датчиком уровня топлива в сборе защитной клейкой лентой.

    2. B0042DTC01
      *a Вакуумный насос
      *b Канал (A)

      Установите вакуумный насос в канал (A) топливозаборника с бензонасосом и датчиком уровня топлива в сборе, как показано на рисунке.

    3. B0042WYC01
      *a Канал (A)
      *b Канал (B)
      *c Канал (C)
      *d Вакуумный насос

      Закройте канал (B), канал (C) и подайте сжатый воздух под давлением 5 кПа (0,1 кгс/см2, 0,7 фунта на кв. дюйм) в канал (A) с помощью вакуумного насоса, как показано на рисунке.

      Note

      Не превышайте необходимый объем подачи сжатого воздуха.

    4. Убедитесь, что поверхности соприкосновения между топливозаборником с бензонасосом и датчиком уровня топлива в сборе и крепежной деталью датчика топливного насоса герметичны.

      Note


      • Если появляются пузырьки воздуха, снимите и повторно установите крепежную деталь датчика топливного насоса.

      • Крепежную деталь датчика топливного насоса и установочную прокладку топливозаборника следует заменять новыми деталями после однократного использования.

      • При снятии и последующей установке крепежной детали датчика топливного насоса обязательно очистите ее мыльной водой, чтобы установочная прокладка топливозаборника не сошла с места и была установлена правильно.

  5. ПОДСОЕДИНИТЕ ТРУБКУ № 2, ОТВОДЯЩУЮ ПАРЫ ТОПЛИВА ИЗ ТОПЛИВНОГО БАКА, В СБОРЕ


    1. B0042D7C01
      *a Крепежная деталь

      Подсоедините трубку, отводящую пары топлива из топливного бака № 2 в сборе к топливозаборнику с бензонасосом и датчиком уровня топлива в сборе.

  6. ПОДСОЕДИНИТЕ ВЫХОДНОЙ ПАТРУБОК УГОЛЬНОГО АДСОРБЕРА № 1


    1. Подсоедините выходной патрубок угольного адсорбера № 1 к топливозаборник с бензонасосом и датчиком уровня топлива в сборе.

      Tech Tips

      После подсоединения трубки № 2, отводящей пары топлива из топливного бака, и выходного патрубка угольного адсорбера № 1 убедитесь в том, что трубка № 2, отводящая пары топлива из топливного бака, располагается под выходным патрубком угольного адсорбера № 1.

  7. ПОДСОЕДИНИТЕ ТРУБКУ № 1, ОТВОДЯЩУЮ ПАРЫ ТОПЛИВА, В СБОРЕ


    1. Подсоедините трубку № 1, отводящую пары топлива, в сборе к топливозаборнику с бензонасосом и датчиком уровня топлива в сборе, и надвиньте хомут, чтобы закрепить ее.

  8. ПОДСОЕДИНИТЕ ПРОВОД К ОТРИЦАТЕЛЬНОМУ ВЫВОДУ АККУМУЛЯТОРНОЙ БАТАРЕИ

    Note

    После подсоединения провода необходимо инициализировать некоторые системы.

    Нажмите здесь Click here

  9. ПРОВЕРЬТЕ, НЕТ ЛИ УТЕЧЕК ТОПЛИВА

    Нажмите здесь Click here

  10. УСТАНОВИТЕ КРЫШКУ ТЕХНОЛОГИЧЕСКОГО ОТВЕРСТИЯ ЗАДНЕГО ПОЛА


    1. B0044XE

      Подсоедините разъем топливного насоса

    2. B0044X6

      Установите крышку технологического отверстия заднего пола вместе с новой бутиловой лентой.

    3. Подсоедините 2 разъема.

  11. УСТАНОВИТЕ ПОДУШКУ ЗАДНЕГО СИДЕНЬЯ В СБОРЕ

    Нажмите здесь Click here