СИСТЕМА ПРЕДПУСКОВОГО ПОДОГРЕВА ПРОВЕРКА БЕЗ СНЯТИЯ С АВТОМОБИЛЯ

CAUTION / NOTICE / HINT

Note

Turn the ignition switch off and wait for 60 seconds or more before performing the following inspections.

PROCEDURE


  1. INSPECT ILLUMINATION TIME OF GLOW INDICATOR LIGHT


    1. Turn the ignition switch to ON and measure the length of time that the light remains illuminated.

      A00Y5UDC02
      *a Engine Coolant Temperature *b Second
      Light Illumination Time
      Refer to the graph and the table*1
      *1: Light illumination time changes depending on atmospheric pressure.
      Light Illumination Duration

      Engine Coolant Temperature

      °C (°F)

      Light Illumination Time

      (sec.)

      -20 (-4) 6
      0 (32) 3
      20 (68) 0.5

      If the result is not as specified, check the ECM, engine coolant temperature sensor, glow plug assembly and glow plug relay.

  2. INSPECT PRE-HEATING


    1. Turn the ignition switch to ON and measure the length of time that battery voltage is applied to the glow plug assembly.

      A00Y5FTC01
      *a Battery Voltage (V) *b Second
      *c Pre-heating Time (second) - -

      *1: Pre-heating time changes depending on the battery voltage and engine coolant temperature.

      If the result is not as specified, check the ECM, engine coolant temperature sensor, glow plug assembly and glow plug relay.

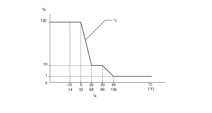
  3. INSPECT AFTER GLOW TIME


    1. Remove the glow plug relay.

    2. A00Y7Q3C01
      *a

      Front view of wire harness connector

      (to Glow Relay)

      After the engine starts, measure the length of time that battery voltage remains present.

      After Glow Time
      Tester Connection Condition Specified Condition
      A55-2 - Body ground Always Refer to the graph below*1
      A00YANWC02
      *a Water Temperature *b Second
      *c After Glow Time - -

      *1: After glow time changes depending on the atmospheric pressure and engine coolant temperature.

      If the result is not as specified, check the ECM, engine coolant temperature sensor, glow plug assembly and glow plug relay.