СИСТЕМА SFI, Diagnostic DTC:P0500

Код DTC Наименование DTC
P0500 Неисправность датчика скорости автомобиля "A"

ОПИСАНИЕ

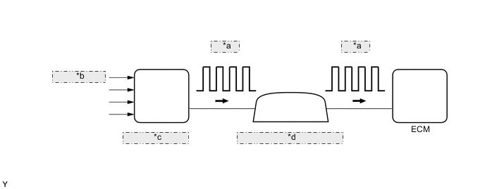
В автомобилях, оборудованных АБС (антиблокировочной системой), скорость определяется посредством ЭБУ системы противоскольжения (блока управления рабочими цилиндрами тормозов) и датчика частоты вращения колеса. Датчик скорости автомобиля контролирует частоту вращения колес и передает соответствующий сигнал в ЭБУ системы противоскольжения. ЭБУ системы противоскольжения преобразует принимаемые сигналы частоты вращения колеса в 4-импульсный сигнал и передает его в ECM через щиток приборов. ECM определяет скорость автомобиля по частоте этого импульсного сигнала.

Tech Tips


  • Сигнал скорости автомобиля, передаваемый из щитка приборов, используется в различных системах. Проверьте все устройства, которые могут иметь отношение к сигналу скорости.

  • Напряжение 12 В или 5 В выдается каждым ЭБУ, а затем подается в щиток приборов в сборе. Сигнал преобразуется в последовательность импульсов транзисторным преобразователем щитка приборов. Каждый ЭБУ управляет соответствующей системой при помощи импульсных сигналов.

  • При коротком замыкании в одном из ЭБУ или жгутов проводов, подключенных к ЭБУ, ни одна система, указанная в блок-схеме, не будет работать должным образом.

A01TAX5E61
*a 4-импульсный
*b От датчика скорости
*c ЭБУ системы противоскольжения
*d Щиток приборов в сборе
№ DTC Неисправность Условие обнаружения DTC Неисправный участок MIL Память
P0500 Неисправность датчика скорости автомобиля "A"

Во время движения автомобиля в ECM не подступает сигнал датчика скорости автомобиля.

(логика диагностирования за 1 поездку)


  • Обрыв или короткое замыкание в цепи сигнала скорости

  • Щиток приборов в сборе

  • ECM

Загорается Код DTC сохраняется

ОПИСАНИЕ РАБОТЫ СИСТЕМЫ КОНТРОЛЯ

Если сигнал скорости от щитка приборов отсутствует, хотя ECM определил, что автомобиль движется, ECM расценивает это как неисправность в цепи сигнала скорости. ЕСМ включает контрольную лампу MIL и регистрирует данный код DTC.

ПРИНЦИП РАБОТЫ СИСТЕМЫ КОНТРОЛЯ

Требуемые датчики/устройства (основные)

Датчик скорости автомобиля

Щиток приборов в сборе

ЭБУ системы противоскольжения

Требуемые датчики/устройства (связанные)

Датчик положения паркинга/нейтрали в сборе

Датчик температуры охлаждающей жидкости двигателя

Датчик положения коленчатого вала

Датчик положения дроссельной заслонки

Датчик массового расхода воздуха в сборе

Продолжительность работы Непрерывно

ТИПИЧНЫЕ УСЛОВИЯ СРАБАТЫВАНИЯ

Вращение задающей шестерни трансмиссии 300 об/мин или выше

ТИПИЧНЫЕ ПОРОГОВЫЕ ЗНАЧЕНИЯ НЕИСПРАВНОСТИ

Сигнал датчика скорости автомобиля Отсутствие сигнала

ПРОВЕРОЧНАЯ ПОЕЗДКА

A01TB7BE19
*1 24 км/час
*2 Холостой ход
*3 Зажигание включено
*4 Всего 30 с или более

  1. Подключите GTS к DLC3.

  2. Включите зажигание и GTS.

  3. Удалите коды DTC (даже если нет сохраненных DTC, выполните процедуру удаления DTC).

  4. Выключите зажигание и подождите не менее 30 секунд.

  5. Включите зажигание и GTS [A].

  6. Запустите двигатель.

  7. Совершите поездку на автомобиле со скоростью не менее 24 км/час (15 миль в час) общей продолжительностью не менее 30 секунд [B].

    CAUTION:

    Во время поездки в проверочном режиме соблюдайте все ограничения скорости и правила дорожного движения.

  8. Остановите автомобиль.

  9. Войдите в следующие меню: Powertrain / Engine and ECT / Trouble Codes [D].

  10. Считайте ожидающие обработки коды DTC.

    Tech Tips


    • Если выводятся ожидающие обработки DTC, система неисправна.

    • Если ожидающие обработки DTC не выводятся, выполните следующую процедуру.

  11. Войдите в следующие меню: Powertrain / Engine and ECT / Utility / All Readiness.

  12. Введите DTC: P0500.

  13. Проверьте результат проверки DTC.

    Дисплей GTS Описание
    NORMAL
    • Проверка DTC завершена

    • Cистема работает нормально

    ABNORMAL
    • Проверка DTC завершена

    • Нарушения в работе системы

    INCOMPLETE
    • Проверка DTC не завершена

    • Выполните поездку в проверочном режиме после создания условий регистрации DTC

    N/A
    • Невозможно выполнить проверку DTC

    • Количество кодов DTC, которые не соответствуют условиям регистрации DTC, достигло предела запоминающего устройства ЭБУ

    Tech Tips


    • Если результат проверки показывает NORMAL, система исправна.

    • Если результат проверки показывает ABNORMAL, система неисправна.

    • Если результат проверки показывает INCOMPLETE или N/A, выполните поездку в проверочном режиме и снова проверьте результат проверки DTC.

СХЕМА ЭЛЕКТРИЧЕСКИХ СОЕДИНЕНИЙ

A01T98PE01

ПРЕДОСТЕРЕЖЕНИЕ / ПРИМЕЧАНИЕ / УКАЗАНИЕ

Tech Tips

С помощью GTS считайте данные фиксированного набора параметров. Одновременно с записью в память кода DTC ECM сохраняет параметры состояния автомобиля и условий движения как данные фиксированного набора параметров. При поиске неисправностей фиксированные параметры позволяют определить, двигался ли автомобиль в момент возникновения неисправности или нет, был ли прогрет двигатель, каким было соотношение воздух-топливо (обедненным или обогащенным) и пр.

ПОРЯДОК ВЫПОЛНЕНИЯ


  1. СНИМИТЕ ПОКАЗАНИЯ GTS (СКОРОСТЬ АВТОМОБИЛЯ)


    1. Подключите GTS к DLC3.

    2. Включите зажигание и GTS.

    3. Войдите в следующие меню: Powertrain / Engine and ECT / Data List / All Data / Vehicle Speed.


      Powertrain > Engine and ECT > Data List
      Информация на дисплее прибора
      Vehicle Speed
    4. Совершите поездку на автомобиле.

    5. Считайте значение, отображаемое на GTS.

      Результат
      Результат Следующий шаг
      Значения, отображаемые на дисплее GTS и дисплее спидометра, не равны А
      Значения, отображаемые на дисплее GTS и дисплее спидометра, равны B

    B
    А
  2. ПРОВЕРЬТЕ ЖГУТ ПРОВОДОВ И РАЗЪЕМ (ЩИТОК ПРИБОРОВ В СБОРЕ – ЕСМ)


    1. Отсоедините разъем щитка приборов.

    2. Отсоедините разъем ЭБУ.

    3. Измерьте сопротивление в соответствии со значениями, приведенными в таблице ниже.

      Номинальное сопротивление
      Подключение диагностического прибора Условие Заданные условия
      E46-6 (+S) - A50-44 (SPD) Всегда Менее 1 Ом
      Результат
      Перейти к
      OK
      NG

    NG
    OK
  3. ПРОВЕРЬТЕ СИСТЕМУ ЩИТКА ПРИБОРОВ (ЦЕПЬ СИГНАЛА СКОРОСТИ)


    1. Проверьте цепи, по которым передаются сигналы скорости автомобиля в систему щитка приборов.

      Нажмите здесь Click here

      Результат
      Перейти к
      ДАЛЕЕ

    ДАЛЕЕ
  4. ПРОВЕРЬТЕ, УСТРАНЕНА ЛИ ДОЛЖНЫМ ОБРАЗОМ НЕИСПРАВНОСТЬ


    1. Подключите GTS к DLC3.

    2. Установите замок зажигания в положение ON (ВКЛ).

    3. Включите GTS.

    4. Удалите коды DTC.


      Powertrain > Engine and ECT > Clear DTCs
    5. Выключите зажигание и подождите не менее 30 с.

    6. Запустите двигатель.

    7. Включите GTS.

    8. Совершите проверочную поездку в порядке, рассмотренном в разделе "Поездка в проверочном режиме".

    9. Войдите в следующие меню: Powertrain / Engine and ECT / Trouble Codes.

    10. Считайте коды DTC.


      Powertrain > Engine and ECT > Trouble Codes

      Tech Tips

      Если DTC (ожидающие подтверждения DTC) не передаются в GTS, значит ремонт выполнен успешно.

      Результат
      Перейти к
      ДАЛЕЕ

    ДАЛЕЕ