СИСТЕМА SFI, Diagnostic DTC:P0327, P0328

Код DTC Наименование DTC
P0327 Низкий уровень сигнала на входе цепи датчика детонации 1 (ряд 1 или отдельный датчик)
P0328 Высокий уровень сигнала на входе цепи датчика детонации 1 (ряд 1 или отдельный датчик)

ОПИСАНИЕ

Структура плоского датчика детонации двигателя (нерезонансного типа) позволяет определять вибрацию в широком диапазоне частот: приблизительно от 5 до 15 кГц.

Для измерения детонации двигателя на блок цилиндров устанавливается датчик детонации.

Датчик детонации включает пьезоэлемент, который генерирует напряжение при деформации.

Напряжение формируется при вибрации блока цилиндров из-за детонации. Возникновение детонации двигателя может быть исключено посредством задержки угла опережения зажигания.

№ DTC Неисправность Условие обнаружения DTC Неисправный участок MIL Память
P0327 Низкий уровень сигнала на входе цепи датчика детонации 1 (ряд 1 или отдельный датчик) Выходное напряжение датчика детонации менее 0,5 В в течение 1 с (логика диагностирования за 1 поездку).
  • Короткое замыкание в цепи датчика детонации

  • Датчик детонации

  • ECM

Загорается Код DTC сохраняется
P0328 Высокий уровень сигнала на входе цепи датчика детонации 1 (ряд 1 или отдельный датчик) Выходное напряжение датчика детонации превышает 4,5 В в течение 1 с (логика диагностирования за 1 поездку).
  • Обрыв в цепи датчика детонации

  • Датчик детонации

  • ECM

Загорается Код DTC сохраняется

Tech Tips

При регистрации кода DTC P0327 или P0328 ECM переходит в аварийный режим работы. Во время работы в аварийном режиме значение угла опережения зажигания принимается, равное максимальному запаздыванию. Аварийный режим работы продолжается до тех пор, пока зажигание не будет выключено.


ОПИСАНИЕ РАБОТЫ СИСТЕМЫ КОНТРОЛЯ

Если выходное напряжение датчика детонации остается на низком или высоком уровне в течение более 1 с, ЕСМ определяет это как неисправность в цепи датчика и регистрирует DTC.

Контроль кодов DTC P0327 и P0328 включается через 5 с после запуска двигателя.

ПРИНЦИП РАБОТЫ СИСТЕМЫ КОНТРОЛЯ

Продолжительность работы Непрерывно

ПРОВЕРОЧНАЯ ПОЕЗДКА


  1. Подключите GTS к DLC3.

  2. Включите зажигание и GTS.

  3. Удалите коды DTC (даже если нет сохраненных DTC, выполните процедуру удаления DTC).

  4. Выключите зажигание и подождите не менее 30 секунд.

  5. Включите зажигание и GTS.

  6. Запустите двигатель и дайте ему поработать в течение 5 мин.

  7. Войдите в следующие меню: Powertrain / Engine and ECT / Trouble Codes.

  8. Считайте ожидающие обработки коды DTC.

    Tech Tips


    • Если выводятся ожидающие обработки DTC, система неисправна.

    • Если ожидающие обработки DTC не выводятся, выполните следующую процедуру.

  9. Войдите в следующие меню: Powertrain / Engine and ECT / Utility / All Readiness.

  10. Введите DTC: P0327 или P0328.

  11. Проверьте результат проверки DTC.

    Дисплей GTS Описание
    NORMAL
    • Проверка DTC завершена

    • Cистема работает нормально

    ABNORMAL
    • Проверка DTC завершена

    • Нарушения в работе системы

    INCOMPLETE
    • Проверка DTC не завершена

    • Выполните поездку в проверочном режиме после создания условий регистрации DTC

    N/A
    • Невозможно выполнить проверку DTC

    • Количество кодов DTC, которые не соответствуют условиям регистрации DTC, достигло предела запоминающего устройства ЭБУ

    Tech Tips


    • Если результат проверки показывает NORMAL, система исправна.

    • Если результат проверки показывает ABNORMAL, система неисправна.

    • Если результат проверки показывает INCOMPLETE или N/A, дайте двигателю поработать на холостом ходу в течение 5 мин и снова проверьте результат проверки DTC.

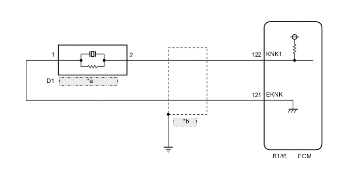
СХЕМА ЭЛЕКТРИЧЕСКИХ СОЕДИНЕНИЙ

A01TB77E31
*a Датчик детонации
*b Экранировано

ПРЕДОСТЕРЕЖЕНИЕ / ПРИМЕЧАНИЕ / УКАЗАНИЕ

Tech Tips

С помощью GTS считайте данные фиксированного набора параметров. Одновременно с записью в память кода DTC ECM сохраняет параметры состояния автомобиля и условий движения как данные фиксированного набора параметров. При поиске неисправностей фиксированные параметры позволяют определить, двигался ли автомобиль в момент возникновения неисправности или нет, был ли прогрет двигатель, каким было соотношение воздух-топливо (обедненным или обогащенным) и пр.

ПОРЯДОК ВЫПОЛНЕНИЯ


  1. СНИМИТЕ ПОКАЗАНИЯ GTS (ВЕЛИЧИНА СИГНАЛА ОБРАТНОЙ СВЯЗИ ПО ДЕТОНАЦИИ)


    1. Подключите GTS к DLC3.

    2. Запустите двигатель.

    3. Включите GTS.

    4. Прогрейте двигатель.

    5. Войдите в следующие меню: Powertrain / Engine and ECT / Data List / All Data / Knock Feedback Value.


      Powertrain > Engine and ECT > Data List
      Информация на дисплее прибора
      Knock Feedback Value
    6. Снимите показания во время движения автомобиля.

      OK
      Показания изменяются.

      Tech Tips

      Неисправность не проявляется Knock Feedback Value изменяется
      Неисправности проявляются Knock Feedback Value не изменяется

      Изменение значения обратной связи о детонации можно проверить при высокой нагрузке на двигатель, например, при включении системы кондиционирования или при увеличении частоты вращения коленчатого вала двигателя.

      Результат
      Следующий шаг
      OK
      NG

    OK
    NG
  2. ПРОВЕРЬТЕ НАПРЯЖЕНИЕ НА КОНТАКТЕ (ПИТАНИЕ ДАТЧИКА ДЕТОНАЦИИ)


    1. A01TDE9C14
      *a

      Вид спереди разъема со стороны жгута проводов:

      (к датчику детонации)

      Отсоедините разъем датчика детонации.

    2. Установите замок зажигания в положение ON (ВКЛ).

    3. Измерьте напряжение в соответствии со значениями, приведенными в таблице.

      Номинальное напряжение
      Подключение диагностического прибора Условие Заданные условия
      D1-2 - D1-1 Зажигание включено 4,5-5,5 В
      Результат
      Перейти к
      OK
      NG

    NG
    OK
  3. ПРОВЕРЬТЕ ДАТЧИК ДЕТОНАЦИИ


    1. Проверьте датчик детонации.

      Нажмите здесь Click here

      Tech Tips

      После замены датчика детонации выполните процедуру "Проверка после ремонта".

      Нажмите здесь Click here

      Результат
      Перейти к
      OK
      NG

    OK
    NG
  4. ПРОВЕРЬТЕ ЖГУТ ПРОВОДОВ И РАЗЪЕМ (ДАТЧИК ДЕТОНАЦИИ – ЕСМ)


    1. Отсоедините разъем датчика детонации.

    2. Отсоедините разъем ЭБУ.

    3. Измерьте сопротивление в соответствии со значениями, приведенными в таблице ниже.

      Номинальное сопротивление
      Подключение диагностического прибора Условие Заданные условия
      D1-2 - B186-122 (KNK1) Всегда Менее 1 Ом
      D1-1 - B186-121 (EKNK) Всегда Менее 1 Ом
      D1-2 или B186-122 (KNK1) - масса Всегда 10 кОм или более
      Результат
      Перейти к
      OK
      NG

    OK
    NG