ДАТЧИК ПОЛОЖЕНИЯ РАСПРЕДВАЛА УСТАНОВКА

ПОРЯДОК ВЫПОЛНЕНИЯ


  1. УСТАНОВИТЕ ДАТЧИК ПОЛОЖЕНИЯ КОЛЕНЧАТОГО ВАЛА № 1


    1. со стороны впускных каналов:


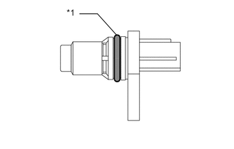
      1. B0043IEC02
        *1 Кольцевое уплотнение

        Нанесите на кольцевое уплотнение датчика тонкий слой моторного масла.

        Note

        В случае повторного применения датчика положения распредвала обязательно проверьте кольцевое уплотнение.

      2. Закрепите датчик положения коленчатого вала № 1 на крышке головки блока цилиндров болтом.

        Torque:
        10 Н*м  { 102 кгс*см, 7 фунт-сила-футов }

        Note


        • Если деталь ронялась или подвергалась сильному удару, замените ее.

        • При установке убедитесь, что кольцевое уплотнение не повреждено и не выскочило из установочного положения.

      3. Подсоедините разъем датчика положения коленчатого вала № 1.

    2. со стороны выпускных каналов:


      1. B0043IEC02
        *1 Кольцевое уплотнение

        Нанесите на кольцевое уплотнение датчика тонкий слой моторного масла.

        Note

        В случае повторного применения датчика положения распредвала обязательно проверьте кольцевое уплотнение.

      2. Закрепите датчик положения коленчатого вала № 1 на крышке головки блока цилиндров болтом.

        Torque:
        10 Н*м  { 102 кгс*см, 7 фунт-сила-футов }

        Note


        • Если деталь ронялась или подвергалась сильному удару, замените ее.

        • При установке убедитесь, что кольцевое уплотнение не повреждено и не выскочило из установочного положения.

      3. Подсоедините разъем датчика положения коленчатого вала № 1.

  2. ПРОВЕРЬТЕ, НЕТ ЛИ УТЕЧЕК МОТОРНОГО МАСЛА

  3. УСТАНОВИТЕ КРЫШКУ ГОЛОВКИ БЛОКА ЦИЛИНДРОВ № 2

    Нажмите здесь Click here