ЗВУКОВОЙ СИГНАЛ ПРОВЕРКА

ПОРЯДОК ВЫПОЛНЕНИЯ


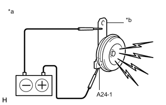
  1. ПРОВЕРЬТЕ ВЫСОКОЧАСТОТНЫЙ ЗВУКОВОЙ СИГНАЛ В СБОРЕ (для моделей с кузовом типа "хэтчбэк", "универсал")


    1. A012NEFC03
      *a

      Устройство с неподсоединенным жгутом проводов

      (Высокочастотный звуковой сигнал в сборе)

      *b Масса

      Подайте напряжение аккумуляторной батареи и проверьте работу высокочастотного звукового сигнала, используя таблицу ниже.

      OK
      Условия измерений Заданные условия

      Положительный (+) вывод аккумуляторной батареи → контакт A24-1

      Отрицательный (-) вывод аккумуляторной батареи → масса кузова

      Звуковой сигнал функционирует

      Если результат не соответствует норме, замените высокочастотный звуковой сигнал.

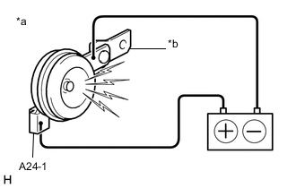
  2. ПРОВЕРЬТЕ НИЗКОЧАСТОТНЫЙ ЗВУКОВОЙ СИГНАЛ В СБОРЕ (для моделей с кузовом типа "седан")


    1. A012H27C23
      *a

      Устройство с неподсоединенным жгутом проводов

      (низкочастотный звуковой сигнал в сборе)

      *b Масса

      Подайте напряжение аккумуляторной батареи и проверьте работу низкочастотного звукового сигнала, используя таблицу ниже.

      OK
      Условия измерений Заданные условия

      Положительный (+) вывод аккумуляторной батареи → контакт A24-1

      Отрицательный (-) вывод аккумуляторной батареи → масса кузова

      Звуковой сигнал работает

      Если результат не соответствует требованиям, замените низкочастотный звуковой сигнал в сборе.