СИСТЕМА ОСВЕЩЕНИЯ Цепь фар ближнего света

ОПИСАНИЕ

Главный ЭБУ кузова (бортовой ЭБУ сети мультиплексной связи) управляет ближним светом фар.

СХЕМА СОЕДИНЕНИЙ


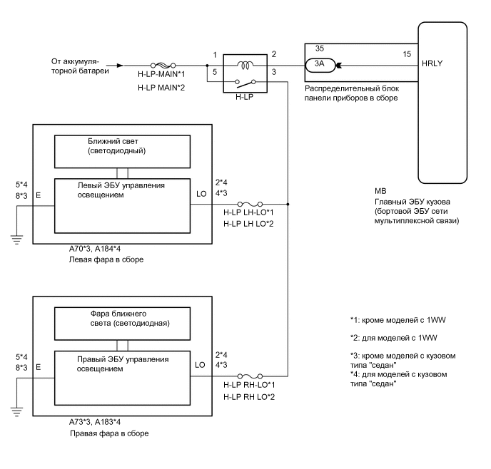
  1. Для моделей со светодиодными фарами

    A01T8ZRE11
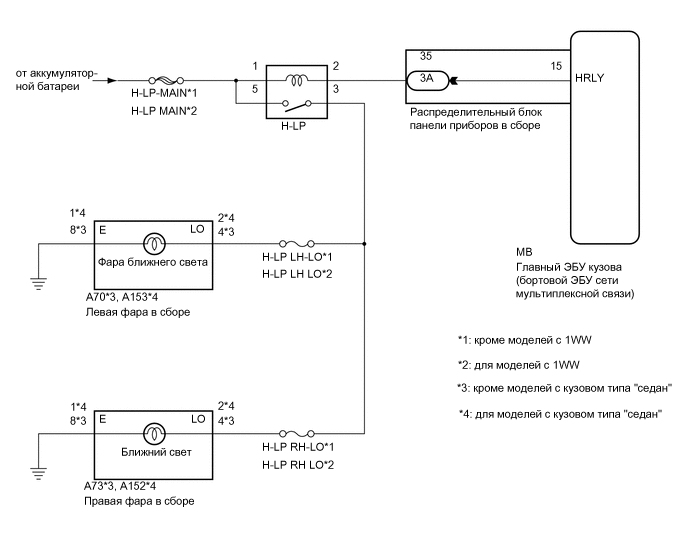
  2. Для моделей с галогенными фарами

    A01TAMAE11

ПРЕДОСТЕРЕЖЕНИЕ / ПРИМЕЧАНИЕ / УКАЗАНИЕ

Note

Перед выполнением последующей процедуры проверки проверьте плавкие предохранители цепей, относящихся к данной системе.

ПОРЯДОК ВЫПОЛНЕНИЯ


  1. ВЫПОЛНИТЕ АКТИВНУЮ ДИАГНОСТИКУ С ПОМОЩЬЮ GTS


    1. Подключите GTS к DLC3.

    2. Установите замок зажигания в положение ON (ВКЛ).

    3. Включите GTS.

    4. Войдите в следующие меню: Body Electrical / Main Body / Active Test.

    5. Выполните диагностику в режиме ACTIVE TEST в соответствии с указаниями на дисплее GTS.


      Body Electrical > Main Body > Active Test
      Информация на дисплее прибора Измеряемая величина Диапазон регулирования Замечание по диагностике
      Headlight Relay Реле фар (ближнего света) ON (ВКЛ) / OFF (ВЫКЛ) -

      Body Electrical > Main Body > Active Test
      Информация на дисплее прибора
      Headlight Relay
      OK
      Реле фар работает. (Фары ближнего света горят.)
      Результат
      Следующий шаг
      OK
      NG

    OK
    NG
  2. ПРОВЕРЬТЕ РЕЛЕ H-LP


    1. Извлеките реле H-LP из блока реле и распределительного блока моторного отсека в сборе.

    2. A01T9HXN04

      Измерьте сопротивление в соответствии со значениями, приведенными в таблице ниже.

      Номинальное сопротивление
      Подключение диагностического прибора Условие Заданные условия
      3 - 5 Напряжение не подается на контакты 1 и 2 10 кОм или более
      3 - 5 Напряжение подается на контакты 1 и 2 Менее 1 Ом
      Результат
      Следующий шаг
      OK
      NG

    NG
    OK
  3. ПРОВЕРЬТЕ ЖГУТ ПРОВОДОВ И РАЗЪЕМ (ПРЕДОХРАНИТЕЛЬ H-LP-MAIN – РЕЛЕ H-LP)


    1. Измерьте напряжение в соответствии со значениями, приведенными в таблице.

      Номинальное напряжение
      Подключение диагностического прибора Условие Заданные условия
      Контакт 1 реле - масса Всегда 11-14 В
      Контакт 5 реле - масса Всегда 11-14 В
      Результат
      Следующий шаг
      OK
      NG

    NG
    OK
  4. ПРОВЕРЬТЕ ЖГУТ ПРОВОДОВ И РАЗЪЕМ (РЕЛЕ H-LP – ЛЕВАЯ ФАРА В СБОРЕ И ПРАВАЯ ФАРА В СБОРЕ)


    1. для моделей со светодиодными фарами (кроме моделей с кузовом типа "седан"):


      1. Отсоедините разъем A70 левой фары.

      2. Отсоедините разъем A73 правой фары.

      3. Измерьте сопротивление в соответствии со значениями, приведенными в таблице ниже.

        Номинальное сопротивление
        Подключение диагностического прибора Условие Заданные условия
        Контакт 3 реле - A70-4 (LO) Всегда Менее 1 Ом
        Контакт 3 реле - A73-4 (LO) Всегда Менее 1 Ом
        Контакт 3 реле - масса Всегда 10 кОм или более
    2. для моделей со светодиодными фарами (для моделей с кузовом типа "седан"):


      1. Отсоедините разъем A184 левой фары в сборе.

      2. Отсоедините разъем A183 правой фары.

      3. Измерьте сопротивление в соответствии со значениями, приведенными в таблице ниже.

        Номинальное сопротивление
        Подключение диагностического прибора Условие Заданные условия
        Контакт 3 реле - A184-2 (LO) Всегда Менее 1 Ом
        Контакт 3 реле - A183-2 (LO) Всегда Менее 1 Ом
        Контакт 3 реле - масса Всегда 10 кОм или более
    3. для моделей с галогенными фарами (кроме моделей с кузовом типа "седан"):


      1. Отсоедините разъем A70 левой фары.

      2. Отсоедините разъем A73 правой фары.

      3. Измерьте сопротивление в соответствии со значениями, приведенными в таблице ниже.

        Номинальное сопротивление
        Подключение диагностического прибора Условие Заданные условия
        Контакт 3 реле - A70-4 (LO) Всегда Менее 1 Ом
        Контакт 3 реле - A73-4 (LO) Всегда Менее 1 Ом
        Контакт 3 реле - масса Всегда 10 кОм или более
    4. Для моделей с галогенными фарами (для моделей с кузовом типа "седан"):


      1. Отсоедините разъем A153 левой фары в сборе.

      2. Отсоедините разъем A152 правой фары в сборе.

      3. Измерьте сопротивление в соответствии со значениями, приведенными в таблице ниже.

        Номинальное сопротивление
        Подключение диагностического прибора Условие Заданные условия
        Контакт 3 реле - A153-2 (LO) Всегда Менее 1 Ом
        Контакт 3 реле - A152-2 (LO) Всегда Менее 1 Ом
        Контакт 3 реле - масса Всегда 10 кОм или более
      Результат
      Следующий шаг
      OK
      NG

    NG
    OK
  5. ПРОВЕРЬТЕ ЖГУТ ПРОВОДОВ И РАЗЪЕМ (РЕЛЕ H-LP - РАСПРЕДЕЛИТЕЛЬНЫЙ БЛОК ПАНЕЛИ ПРИБОРОВ)


    1. Отсоедините разъем 3A распределительного блока панели приборов.

    2. Измерьте сопротивление в соответствии со значениями, приведенными в таблице ниже.

      Номинальное сопротивление
      Контакты для подключения диагностического прибора Условие Номинальное значение
      Контакт 2 реле - 3A-35 Всегда Менее 1 Ом
      Контакт 2 реле - масса Всегда 10 кОм или более
      Результат
      Следующий шаг
      OK
      NG

    NG
    OK
  6. ПРОВЕРЬТЕ РАСПРЕДЕЛИТЕЛЬНЫЙ БЛОК ПАНЕЛИ ПРИБОРОВ В СБОРЕ


    1. Снимите распределительный блок панели приборов в сборе.

      Для моделей с левосторонним рулевым управлением: Нажмите здесь Click here

      Для моделей с правосторонним рулевым управлением: Нажмите здесь Click here

    2. Снимите главный ЭБУ кузова (бортовой ЭБУ сети мультиплексной связи) с распределительного блока панели приборов в сборе.

    3. Измерьте сопротивление в соответствии со значениями, приведенными в таблице ниже.

      A01TCPEC01
      *a

      Устройство с неподсоединенным жгутом проводов

      (Распределительный блок панели приборов в сборе)

      - -
      Номинальное сопротивление
      Подключение диагностического прибора Условие Заданные условия
      3A-35 - MB-15 (HRLY) Всегда Менее 1 Ом
      3A-35 - масса Всегда 10 кОм или более
      Результат
      Следующий шаг
      OK
      NG

    OK
    NG