СИСТЕМА ОСВЕЩЕНИЯ Цепь фар ближнего света

ОПИСАНИЕ

Главный ЭБУ кузова (бортовой ЭБУ сети мультиплексной связи) управляет ближним светом фар.

СХЕМА СОЕДИНЕНИЙ


  1. Для моделей с газоразрядными фарами

    A012LI8E01
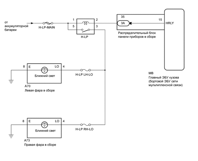
  2. Для моделей с галогенными фарами

    A012GAHE01

ПРЕДОСТЕРЕЖЕНИЕ / ПРИМЕЧАНИЕ / УКАЗАНИЕ

Note

Прежде чем переходить к следующей процедуре, проверьте плавкие предохранители и лампы, относящиеся к данной системе.

ПОРЯДОК ВЫПОЛНЕНИЯ


  1. ВЫПОЛНИТЕ АКТИВНУЮ ДИАГНОСТИКУ С ПОМОЩЬЮ GTS


    1. Подключите GTS к DLC3.

    2. Установите замок зажигания в положение ON (ВКЛ).

    3. Включите GTS.

    4. Войдите в следующие меню: Body Electrical / Main Body / Active Test.

    5. Убедитесь, что реле работает.


      Body Electrical > Main Body > Active Test
      Информация на дисплее прибора Измеряемая величина Диапазон регулирования Замечание по диагностике
      Headlight Relay Реле фар (ближнего света) ON (ВКЛ) / OFF (ВЫКЛ) -

      Body Electrical > Main Body > Active Test
      Информация на дисплее прибора
      Headlight Relay
      OK
      Реле фар работает. (Фары ближнего света горят.)
      Результат
      Следующий шаг
      OK
      NG

    OK
    NG
  2. ПРОВЕРЬТЕ РЕЛЕ H-LP


    1. Извлеките реле H-LP из блока реле и распределительного блока моторного отсека в сборе.

    2. A012J36N04

      Измерьте сопротивление в соответствии со значениями, приведенными в таблице ниже.

      Номинальное сопротивление
      Контакты для подключения диагностического прибора Условие Заданные условия
      3 - 5 Напряжение не подается на контакты 1 и 2 10 кОм или более
      3 - 5 Напряжение подается на контакты 1 и 2 Менее 1 Ом
      Результат
      Перейти К
      OK
      NG

    NG
    OK
  3. ПРОВЕРЬТЕ ЖГУТ ПРОВОДОВ И РАЗЪЕМ (ПРЕДОХРАНИТЕЛЬ H-LP-MAIN – РЕЛЕ H-LP)


    1. Измерьте напряжение в соответствии со значениями, приведенными в таблице ниже.

      Номинальное напряжение
      Подключение диагностического прибора Условие Заданные условия
      1 - масса Всегда 11-14 В
      5 - масса Всегда 11-14 В
      Результат
      Следующий шаг
      OK
      NG

    NG
    OK
  4. ПРОВЕРЬТЕ ЖГУТ ПРОВОДОВ И РАЗЪЕМ (РЕЛЕ H-LP – ЛЕВАЯ ФАРА В СБОРЕ И ПРАВАЯ ФАРА В СБОРЕ)


    1. Для моделей с газоразрядными фарами:


      1. Отсоедините разъем A78 левой фары.

      2. Отсоедините разъем A76 от правой фары.

      3. Измерьте сопротивление в соответствии со значениями, приведенными в таблице ниже.

        Номинальное сопротивление
        Подключение диагностического прибора Условие Заданные условия
        3 - A78-2 (LO) Всегда Менее 1 Ом
        3 - A76-2 (LO) Всегда Менее 1 Ом
        3 - масса Всегда 10 кОм или более
    2. Для моделей с галогенными фарами:


      1. Отсоедините разъем A70 левой фары.

      2. Отсоедините разъем A73 правой фары.

      3. Измерьте сопротивление в соответствии со значениями, приведенными в таблице ниже.

        Номинальное сопротивление
        Подключение диагностического прибора Условие Заданные условия
        3 - A70-4 (LO) Всегда Менее 1 Ом
        3 - A73-4 (LO) Всегда Менее 1 Ом
        3 - масса Всегда 10 кОм или более
      Результат
      Следующий шаг
      OK
      NG

    NG
    OK
  5. ПРОВЕРЬТЕ ЖГУТ ПРОВОДОВ И РАЗЪЕМ (РЕЛЕ H-LP - РАСПРЕДЕЛИТЕЛЬНЫЙ БЛОК ПАНЕЛИ ПРИБОРОВ)


    1. Отсоедините разъем 3A распределительного блока панели приборов.

    2. Измерьте сопротивление в соответствии со значениями, приведенными в таблице ниже.

      Номинальное сопротивление
      Подключение диагностического прибора Условие Номинальное сопротивление
      2 - 3A-35 Всегда Менее 1 Ом
      2 - масса Всегда 10 кОм или более
      Результат
      Перейти К
      OK
      NG

    NG
    OK
  6. ПРОВЕРЬТЕ РАСПРЕДЕЛИТЕЛЬНЫЙ БЛОК ПАНЕЛИ ПРИБОРОВ В СБОРЕ


    1. Снимите распределительный блок панели приборов в сборе.

      Для моделей с левосторонним рулевым управлением: Нажмите здесь Click here

      Для моделей с правосторонним рулевым управлением: Нажмите здесь Click here

    2. Снимите главный ЭБУ кузова (бортовой ЭБУ сети мультиплексной связи) с распределительного блока панели приборов в сборе.

    3. Измерьте сопротивление в соответствии со значениями, приведенными в таблице ниже.

      A012GVXC01
      *a

      Устройство с неподсоединенным жгутом проводов

      (распределительный блок панели приборов в сборе)

      - -
      Номинальное сопротивление
      Подключение диагностического прибора Условие Заданные условия
      3A-35 - MB-15 (HRLY) Всегда Менее 1 Ом
      3A-35 - масса Всегда 10 кОм или более
      Результат
      Перейти К
      OK
      NG

    OK
    NG