СИСТЕМА СТЕКЛООЧИСТИТЕЛЕЙ И СТЕКЛООМЫВАТЕЛЕЙ Сигнальная цепь датчика частоты вращения

ОПИСАНИЕ

Реле стеклоочистителя ветрового стекла в сборе получает сигнал скорости автомобиля от щитка приборов и управляет работой системы автоматического стеклоочистителя ветрового стекла.

Щиток приборов в сборе выдает напряжение величиной 12 В или 5 В, которое поступает в ЭБУ системы противоскольжения.

Каждым ЭБУ или реле выдается напряжение величиной 12 или 5 В, которое затем подается в щиток приборов в сборе.

Сигнал преобразуется в последовательность импульсов транзисторным преобразователем щитка приборов.

Каждый ЭБУ управляет соответствующей системой при помощи импульсных сигналов.

При коротком замыкании в одном из ЭБУ или жгуте проводов, подключенном к какому-либо ЭБУ, ни одна из систем, указанных в приведенной ниже блок-схеме, не будет работать должным образом.

СХЕМА ЭЛЕКТРИЧЕСКИХ СОЕДИНЕНИЙ


  1. Для моделей с 1NR-FE

    A012JX5E01
  2. Для моделей с 1ZR-FAE

    A012M4KE01
  3. для моделей с 1ND-TV

    A012I59E01
  4. Для моделей с 1AD-FTV

    A012I4SE01
  5. Для моделей с 1ZR-FE, 2ZR-FE

    A012L5GE01

ПОРЯДОК ВЫПОЛНЕНИЯ


  1. ПРОВЕРЬТЕ ЩИТОК ПРИБОРОВ В СБОРЕ (ФОРМУ ВЫХОДНОГО СИГНАЛА)


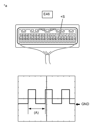
    1. A012F4BC02
      *a

      Устройство с подсоединенным жгутом проводов

      (щиток приборов в сборе)

      Проверьте форму выходного сигнала.


      1. Снимите щиток приборов в сборе с подсоединенным разъемом.

      2. Подключите осциллограф к контакту E46-6 (+S) и массе.

      3. Установите замок зажигания в положение ON (ВКЛ).

      4. Проверьте форму сигнала в соответствии с условиями, указанными в таблице ниже.

        Параметр / Устройство Значение
        Настройки прибора 5 В/дел., 20 мс/ дел.
        Состояние автомобиля Колесо вращается
        OK
        Форма сигнала соответствует показанной на рисунке.

        Tech Tips

        Когда система функционирует нормально, за один оборот колеса формируется 4 импульса. По мере увеличения скорости автомобиля период (A), отмеченный на рисунке, уменьшается.

      Результат
      Результат
      OK
      NG

    NG
    OK
  2. ПРОВЕРЬТЕ ЖГУТ ПРОВОДОВ И РАЗЪЕМ (РЕЛЕ СТЕКЛООЧИСТИТЕЛЯ ВЕТРОВОГО СТЕКЛА В СБОРЕ – ЩИТОК ПРИБОРОВ)


    1. Отсоедините разъем E95 реле стеклоочистителя ветрового стекла в сборе.

    2. Отсоедините разъем E46 щитка приборов в сборе.

    3. Измерьте сопротивление в соответствии со значениями, приведенными в таблице ниже.

      Номинальное сопротивление
      Подключение диагностического прибора Условие Заданные условия
      E95-24 (SPD) - E46-6 (+S) Всегда Менее 1 Ом
      Результат
      Результат
      OK
      NG

    OK
    NG