КРОНШТЕЙН ДВЕРИ БАГАЖНОГО ОТДЕЛЕНИЯ СНЯТИЕ С ЭКСПЛУАТАЦИИ

ПОРЯДОК ВЫПОЛНЕНИЯ


  1. УТИЛИЗИРУЙТЕ КРОНШТЕЙН ДВЕРИ БАГАЖНОГО ОТДЕЛЕНИЯ В СБОРЕ


    1. A00Y8VFE01

      Зажмите кронштейн двери багажного отделения в тисках в горизонтальном положении таким образом, чтобы шток поршня был выдвинут.

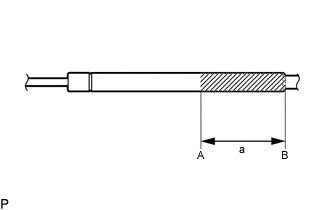
    2. Надев защитные очки, медленно разрежьте деталь ножовкой между точками A и B, как показано на рисунке, чтобы постепенно выпустить газ.

      Технические характеристики
      Область Измерение
      a 130 мм (5,12 дюйма)

      Note

      Хотя газ внутри кронштейна двери багажного отделения не имеет цвета, запаха и безвреден, опасность могут представлять разлетающиеся металлические частицы. Поэтому накройте кронштейн двери багажного отделения тканью или другим материалом.