СИСТЕМА ОБОГРЕВАТЕЛЕЙ СТЕКОЛ Система обогревателей заднего стекла не работает

ОПИСАНИЕ

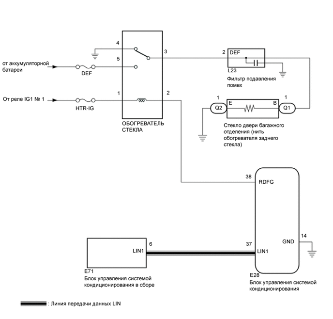
При нажатии выключателя обогревателя заднего стекла на панели управления системой кондиционирования в сборе в блок управления системой кондиционирования по шине LIN передается управляющий сигнал. При получении этого сигнала блок управления системой кондиционирования включает реле обогревателя стекла, и система обогревателей стекла работает.

СХЕМА ЭЛЕКТРИЧЕСКИХ СОЕДИНЕНИЙ

A012IUQE06

ПРЕДОСТЕРЕЖЕНИЕ / ПРИМЕЧАНИЕ / УКАЗАНИЕ

Note


  • Перед выполнением последующей процедуры проверки проверьте плавкие предохранители цепей, относящихся к данной системе.

  • Если напряжение аккумуляторной батареи становится низким, система обогрева заднего стекла выключается, и приоритет получает питание системы рулевого управления с электроусилителем.

ПОРЯДОК ВЫПОЛНЕНИЯ


  1. ПРОВЕРЬТЕ СИСТЕМУ КОНДИЦИОНИРОВАНИЯ


    1. Проверьте систему кондиционирования.

      Tech Tips

      Сигналы управления системой обогревателя стекла и сигналы управления системой кондиционирования передаются в блок управления системой кондиционирования по одной и той же шине системы передачи данных.

      OK
      Система кондиционирования работает нормально.
      Результат
      Перейти к
      OK
      NG

    NG
    OK
  2. ВЫПОЛНИТЕ АКТИВНУЮ ДИАГНОСТИКУ С ПОМОЩЬЮ GTS


    1. Подключите GTS к DLC3.

    2. Включите зажигание.

    3. Включите GTS.

    4. Войдите в следующие меню: Body Electrical / Air Conditioner / Active Test.

    5. Выполните диагностику в режиме ACTIVE TEST в соответствии с указаниями на дисплее GTS.


      Body Electrical > Air Conditioner > Active Test
      Информация на дисплее прибора Измеряемая величина Диапазон регулирования Замечание по диагностике
      Defogger Relay (Rear) Нити обогревателя заднего стекла OFF (ВЫКЛ) или ON (ВКЛ) -

      Body Electrical > Air Conditioner > Active Test
      Информация на дисплее прибора
      Defogger Relay (Rear)
      OK
      Система обогревателя стекла работает нормально.
      Результат
      Перейти к
      OK
      NG

    NG
    OK
  3. ЗАМЕНИТЕ БЛОК УПРАВЛЕНИЯ СИСТЕМОЙ КОНДИЦИОНИРОВАНИЯ


    1. Замените блок управления системы кондиционирования новым или заведомо исправным.

      Нажмите здесь Click here

    2. Убедитесь, что система обогревателей стекла работает нормально.

      OK
      Система обогревателя стекла работает нормально.
      Результат
      Следующий шаг
      OK
      NG

    OK
    NG
  4. ПРОВЕРЬТЕ РЕЛЕ ОБОГРЕВАТЕЛЯ ЗАДНЕГО СТЕКЛА


    1. Проверьте реле обогревателя заднего стекла.

      Нажмите здесь Click here

      Результат
      Следующий шаг
      OK
      NG

    NG
    OK
  5. ПРОВЕРЬТЕ ЖГУТ ПРОВОДОВ И РАЗЪЕМ (РЕЛЕ ОБОГРЕВАТЕЛЯ СТЕКЛА - РЕЛЕ IG1 № 1 И АККУМУЛЯТОРНАЯ БАТАРЕЯ)


    1. A012H37C02
      *1 Блок реле и распределительный блок моторного отсека в сборе
      *a Держатель реле обогревателя заднего стекла

      Извлеките реле обогревателя стекла из блока реле и распределительного блока моторного отсека в сборе.

    2. Измерьте напряжение в соответствии со значениями, приведенными в таблице.

      Номинальное напряжение
      Контакты для подключения диагностического прибора Условие Номинальное состояние
      Контакт -1 держателя реле обогревателя стекла - масса Зажигание включено 11–14 В
      Контакт -5 держателя реле обогревателя стекла - масса Всегда 11–14 В
      Результат
      Следующий шаг
      OK
      NG

    NG
    OK
  6. ПРОВЕРЬТЕ ЖГУТ ПРОВОДОВ И РАЗЪЕМ (РЕЛЕ ОБОГРЕВАТЕЛЯ СТЕКЛА – БЛОК УПРАВЛЕНИЯ СИСТЕМОЙ КОНДИЦИОНИРОВАНИЯ)


    1. A012H37C02
      *1 Блок реле и распределительный блок моторного отсека в сборе
      *a Держатель реле обогревателя заднего стекла

      Отсоедините разъем E28 блока управления системой кондиционирования.

    2. Измерьте сопротивление в соответствии со значениями, приведенными в таблице ниже.

      Номинальное сопротивление
      Подключение диагностического прибора Условие Заданные условия
      Контакт 2 реле держателя обогревателя заднего стекла - E28-38 (RDFG) Всегда Менее 1 Ом
      Контакт -2 держателя реле обогревателя стекла - масса Всегда 10 кОм или более
      Результат
      Следующий шаг
      OK
      NG

    NG
    OK
  7. ПРОВЕРЬТЕ БЛОК УПРАВЛЕНИЯ СИСТЕМОЙ КОНДИЦИОНИРОВАНИЯ


    1. A012ILPC10
      *a

      Устройство с подсоединенным жгутом проводов

      (блок управления системой кондиционирования)

      Подсоедините разъем E28 блока управления системой кондиционирования.

    2. Установите на место реле обогревателя стекла.

    3. Снимите блок управления системой кондиционирования в сборе, не отсоединяя его разъемы.

      Нажмите здесь Click here

    4. Измерьте напряжение в соответствии со значениями, приведенными в таблице.

      Номинальное напряжение
      Подключение диагностического прибора Условие Номинальное состояние
      E28-38 (RDFG) - E28-14 (GND) Зажигание включено, выключатель обогревателя заднего стекла выключен Менее 1 В
      E28-38 (RDFG) - E28-14 (GND) Зажигание включено, выключатель обогревателя заднего стекла выключен 11 - 14 В
      Результат
      Следующий шаг
      OK
      NG

    NG
    OK
  8. ПРОВЕРЬТЕ ЖГУТ ПРОВОДОВ И РАЗЪЕМ (СТЕКЛА ДВЕРИ БАГАЖНОГО ОТДЕЛЕНИЯ (НИТИ ОБОГРЕВАТЕЛЯ ЗАДНЕГО СТЕКЛА) – РЕЛЕ ОБОГРЕВАТЕЛЯ И МАССА)


    1. A012H37C02
      *1 Блок реле и распределительный блок моторного отсека в сборе
      *a Держатель реле обогревателя заднего стекла

      Отсоедините разъемы Q1 и Q2 стекла двери багажного отделения (нити обогревателя заднего стекла).

    2. Извлеките реле обогревателя стекла из блока реле и распределительного блока моторного отсека в сборе.

    3. Измерьте сопротивление в соответствии со значениями, приведенными в таблице ниже.

      Номинальное сопротивление
      Подключение диагностического прибора Условие Номинальное состояние
      Q1-1 (B) - Контакт 3 держателя реле обогревателя заднего стекла Всегда Менее 1 Ом
      Q2-1 (E) - масса Всегда Менее 1 Ом
      Q1-1 (B) - масса Всегда 10 кОм или более
      Результат
      Следующий шаг
      OK
      NG

    OK
    NG