СИСТЕМА УПРАВЛЕНИЯ ЭЛЕКТРИЧЕСКИМИ СТЕКЛОПОДЪЕМНИКАМИ (для моделей с функцией травмобезопасности только на окне двери водителя) ПРОВЕРКА РАБОТЫ СИСТЕМЫ


  1. ПРОВЕРЬТЕ ВЫКЛЮЧАТЕЛЬ БЛОКИРОВКИ СТЕКЛОПОДЪЕМНИКОВ

    A01LXMG

    Tech Tips

    Перед выполнением проверки работы выключателя блокировки стеклоподъемников убедитесь, что он выключен (нажат).


    1. Убедитесь, что когда нажат выключатель блокировки стеклоподъемников на главном выключателе электрических стеклоподъемников в сборе, стеклоподъемник двери переднего пассажира не работает.

    2. Убедитесь, что после повторного нажатия выключателя блокировки стеклоподъемников на главном выключателе электрических стеклоподъемников в сборе снова появляется возможность управлять стеклоподъемником двери переднего пассажира.

    3. ПРОВЕРЬТЕ ФУНКЦИЮ РУЧНОГО ПОДЪЕМА/ОПУСКАНИЯ


      1. Убедитесь, что стеклоподъемник окна двери водителя работает следующим образом:

    4. OK
      Условие Главный выключатель Управление переключателем Power Window
      Зажигание включено Выключатель освещения Наполовину поднят вверх Подъем (окно закрывается)
      Наполовину нажат вниз Опускание (окно открывается)
  2. Убедитесь, что стеклоподъемник двери переднего пассажира работает, как описано ниже.

    OK
    Условие Переключатель стеклоподъемника Управление переключателем Power Window

    • Зажигание включено

    • Выключатель блокировки электрических стеклоподъемников выключен

    Дверь переднего пассажира Оттянут вверх Подъем (окно закрывается)
    Нажат Опускание (окно открывается)
  • ПРОВЕРЬТЕ ФУНКЦИЮ АВТОМАТИЧЕСКОГО ПОДЪЕМА/ОПУСКАНИЯ


    1. Убедитесь, что стеклоподъемник окна двери водителя работает следующим образом:

      OK
      Условие Главный выключатель Управление переключателем Электрические стеклоподъемники
      Зажигание включено Выключатель освещения Поднят (функция одного касания) Автоматический подъем (окно закрывается)
      Нажат (функция одного касания) Автоматическое опускание (окно открывается)
  • ПРОВЕРЬТЕ ФУНКЦИЮ ДИСТАНЦИОННОГО РУЧНОГО ПОДЪЕМА/ОПУСКАНИЯ


    1. Убедитесь, что стеклоподъемник двери переднего пассажира работает, как описано ниже.

      OK
      Условие Главный выключатель Управление выключателем Электрические стеклоподъемники

      • Замок зажигания в положении ON (ВКЛ)

      • Выключатель блокировки электрических стеклоподъемников выключен

      Дверь переднего пассажира Оттянут вверх Подъем (окно закрывается)
      Нажат Опускание (окно открывается)
  • ПРОВЕРЬТЕ ФУНКЦИЮ УПРАВЛЕНИЯ СТЕКЛОПОДЪЕМНИКАМИ ПОСЛЕ ВЫКЛЮЧЕНИЯ ЗАЖИГАНИЯ


    1. Убедитесь в том, что главный выключатель электрических стеклоподъемников и переключатель электрического стеклоподъемника позволяют управлять всеми электрическими стеклоподъемниками после выключения зажигания.

      Tech Tips

      Когда выключатель блокировки стеклоподъемников включен, управление электрическими стеклоподъемниками, кроме стеклоподъемника двери водителя, невозможно. Поэтому выключите выключатель блокировки стеклоподъемников перед проверкой работы стеклоподъемников.

    2. Убедитесь, что функция управления при выключении питания не работает сразу после открывания двери со стороны водителя или переднего пассажира.

      Tech Tips

      Если при действующей функции управления при выключении зажигания во время автоматического управления стеклоподъемником открывается дверь водителя или переднего пассажира, стеклоподъемник продолжает работать.

    3. Убедитесь в том, что по истечении примерно 43 секунд с момента выключения зажигания управление всеми электрическими стеклоподъемниками блокируется.

  • ПРОВЕРЬТЕ ФУНКЦИЮ ТРАВМОБЕЗОПАСНОСТИ


    1. Проверьте основные функции.

      CAUTION:

      Не помещайте пальцы между рамой двери и дверным стеклом для проверки функции травмобезопасности. Кроме того, остерегайтесь защемления конечностей и других частей тела во время проверки.

      Tech Tips

      Функция травмобезопасности действует при автоматическом и ручном подъеме стекла во время работы двигателя или при включенном зажигании (ON (ВКЛ)), а также в течение примерно 43 с после выключения зажигания.


      1. Полностью откройте окно двери водителя.

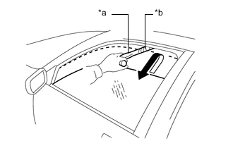
      2. A01LW8KC08
        *a Проверочная линейка
        *b Ткань

        Расположите обмотанный куском ткани деревянный брусок рядом с верхним краем окна.

      3. Приведите в действие функцию автоматического или ручного подъема и убедитесь, что когда брусок зажимается между стеклом и дверной рамой, стекло начинает опускаться, останавливаясь, когда размер проема оказывается равным примерно 200 мм (7,87 дюйма), либо приблизительно через 5 с.

        Tech Tips

        Если брусок зажимается при высоте проема не менее 75 мм (2,95 дюйма), стекло опускается примерно на 125 мм (4,93 дюйма), либо пока не пройдет приблизительно 2,5 с.

      4. Убедитесь, что во время опускания дверного стекла электрическим стеклоподъемником стекло невозможно поднять с помощью переключателя электрического стеклоподъемника.

  • ПРОВЕРЬТЕ СВЕТОДИОДНУЮ ПОДСВЕТКУ ГЛАВНОГО ВЫКЛЮЧАТЕЛЯ ЭЛЕКТРИЧЕСКИХ СТЕКЛОПОДЪЕМНИКОВ


    1. Проверьте, горит ли светодиод (на главном выключателе электрических стеклоподъемников).


      1. Убедитесь, что при включении зажигания загорается светодиод на главном выключателе электрических стеклоподъемников в сборе.