REFRIGERANT LINE INSTALLATION

PROCEDURE


  1. INSTALL PIPING CLAMP (w/ Sub-cool Accelerator)


    1. Remove the vinyl tape from the air conditioner tube assembly and air conditioner tube and accessory assembly.

    2. Sufficiently apply compressor oil to 2 new O-rings and the fitting surfaces of the air conditioner tube assembly.

      Compressor Oil
      ND-OIL 11 or equivalent
    3. Install the 2 O-rings to the air conditioner tube assembly.

    4. Install the air conditioner tube assembly to the air conditioner tube and accessory assembly.

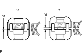
    5. A01SFP7C02
      *a Correct
      *b Incorrect
      *c No Gap
      *d Gap

      Install the piping clamp to the air conditioner tube and accessory assembly.

      Note

      Make sure that the piping clamp is engaged securely with no gap.

  2. CHARGE AIR CONDITIONING SYSTEM WITH REFRIGERANT (for HFO-1234yf(R1234yf))

    Click here

  3. WARM UP COMPRESSOR (for HFO-1234yf(R1234yf))

    Click here

  4. INSPECT FOR REFRIGERANT LEAK (for HFO-1234yf(R1234yf))

    Click here