REFRIGERANT LINE INSTALLATION

PROCEDURE


  1. INSTALL PIPING CLAMP


    1. Remove the vinyl tape from the open ends of the suction pipe sub-assembly and suction hose sub-assembly.

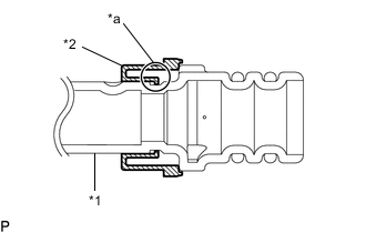
    2. A01KT76C01
      *1 Suction Hose Sub-assembly
      *2 Piping Clamp
      *a Groove

      Install a new piping clamp onto the suction hose sub-assembly.

      Note


      • Securely engage the inside step of the piping clamp in the suction hose sub-assembly groove.

      • Do not widen the opening of the piping clamp more than the diameter of the suction hose sub-assembly when installing it.

      • Do not install the piping clamp with the large diameter section in the wrong direction.

    3. Thoroughly coat 2 new O-rings and the contact surface of the suction hose sub-assembly with compressor oil.

      Compressor Oil
      ND-OIL 11 or equivalent
    4. Install the 2 O-rings onto the suction hose sub-assembly.

      Note

      Do not let foreign matter adhere to the O-rings or O-ring seals.

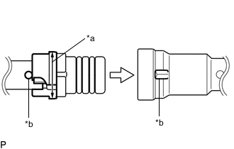
    5. A01KRKIC01
      *a Large Diameter Section of Piping Clamp
      *b Alignment Mark

      Engage the suction pipe sub-assembly and suction hose sub-assembly by matching the alignment marks.

      Note

      Engage the parts by holding the pipe, not the piping clamp.

    6. A01KSEKC01
      *a Large Diameter Section of Piping Clamp

      Securely insert the piping clamp to the point where the large diameter section of the piping clamp is covered by the suction pipe sub-assembly.

      Tech Tips


      • When inserting, make sure that a click sound is heard.

      • Check that the suction hose sub-assembly is securely inserted by pulling it.

  2. CHARGE AIR CONDITIONING SYSTEM WITH REFRIGERANT

    Click here

  3. WARM UP COMPRESSOR

    Click here

  4. INSPECT FOR REFRIGERANT LEAK

    Click here