КРАТКОЕ ОПИСАНИЕ ЩИТКА ПРИБОРОВ
Жидкокристаллический мультиинформационный дисплей сегментного типа
| *a | Пример индикации | *b | Тахометр |
| *c | Спидометр | *d | Жидкокристаллический мультиинформационный дисплей сегментного типа |
| *e | Кнопка переключателя ODO/TRIP DISP | *f | Указатель уровня топлива |
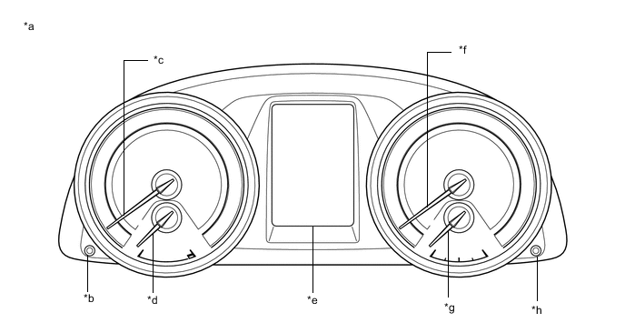
Жидкокристаллический мультиинформационный дисплей растрового типа
| *a | Пример индикации | *b | Выключатель DISP |
| *c | Тахометр | *d | Указатель температуры охлаждающей жидкости двигателя |
| *e | Жидкокристаллический мультиинформационный дисплей растрового типа | *f | Спидометр |
| *g | Указатель уровня топлива | *h | Кнопка переключателя ODO/TRIP |
ВХОДНЫЕ И ВЫХОДНЫЕ СИГНАЛЫ ЩИТКА ПРИБОРОВ
Контрольно-измерительный прибор
| Параметр / Устройство | Условие | Вход/выход | CAN/линия прямой связи | Сигнал | Устройство |
|---|---|---|---|---|---|
| Спидометр | Датчик | Вход | CAN | Скорость автомобиля (SP1) | Блок управления рабочими цилиндрами тормозов в сборе (ЭБУ системы противоскольжения) |
| - | Выход | CAN | Сигнал скорости автомобиля (от щитка приборов для других устройств) | Соответствующие ЭБУ | |
| Допустимое отклонение скорости A | ECM | ||||
| Допустимое отклонение скорости B | |||||
| Шина прямой связи | Импульсный сигнал скорости автомобиля | Соответствующие ЭБУ | |||
| Тахометр | Датчик | Вход | CAN | Данные о частоте вращения коленчатого вала двигателя | ECM |
| Указатель уровня топлива | Датчик | Вход | CAN | Скорость автомобиля (SP1) | Блок управления рабочими цилиндрами тормозов в сборе (ЭБУ системы противоскольжения) |
| Стартер | ECM | ||||
| Положение P селектора передач | |||||
| Положение N селектора передач | |||||
| Данные трансмиссии | |||||
| Выключатель стояночного тормоза в состоянии | Главный ЭБУ кузова (бортовой ЭБУ сети мультиплексной связи) | ||||
| Шина прямой связи | Уровень топлива | Датчик уровня топлива в сборе | |||
| Указатель температуры охлаждающей жидкости | Датчик | Вход | CAN | Температура охлаждающей жидкости | ECM |
| Шина прямой связи | Датчик/Выключатель охлаждающей жидкости | Тепловой выключатель* |
*: для моделей с системой рециркуляции тепла отработавших газов
Контрольная лампа или индикатор
| Параметр / Устройство | Условие | Вход/выход | CAN/линия прямой связи | Сигнал | Устройство |
|---|---|---|---|---|---|
| Индикатор перехода на повышенную или пониженную передачу*1, *2 | Загорается | Вход | CAN | переключение на более высокую передачу | ECM |
| переключение на более низкую передачу | |||||
| Стартер*7 | |||||
| Ручной запуск двигателя | ЭБУ запуска и останова двигателя*7 | ||||
| Предупреждение о зарядке*1 | Загорается | Вход | CAN | Контрольная лампа низкого заряда аккумуляторной батареи | ECM |
| Режим Eco | ЭБУ запуска и останова двигателя*7 | ||||
| Шина прямой связи | Контакт Charge L | Генератор в сборе*13 | |||
| Предупреждение о низком давлении моторного масла*1 | Загорается | Вход | CAN | Запрос запрета включения контрольной лампы давления масла | ЭБУ запуска и останова двигателя*7 |
| Запрос контрольной лампы низкого давления моторного масла | ECM*5 | ||||
| Шина прямой связи | Давление моторного масла | Контактный датчик давления моторного масла в сборе*3 | |||
| MIL (Контрольная лампа Check engine) | Загорается | Вход | Шина прямой связи | MIL (Контрольная лампа Check engine) | ECM |
| Индикатор режима Eco*1, *4 | Загорается | Вход | CAN | Индикатор экологичного режима | ECM |
| Оповещение о необходимости замены масла*1, *5 | Загорается/мигает | Вход | CAN | Контрольная лампа замены масла | ECM |
| Стартер | |||||
| - | Выход | CAN | Сброс системы контроля состояния масла | ECM | |
| Предупреждение о присутствии воды в отстойнике топлива*1, *5 | Загорается | Вход | Шина прямой связи | Датчик отстойника топлива | Датчик уровня |
| Предупреждение GLOW*5 | Загорается | Вход | CAN | Индикатор включения свечей накаливания | ECM |
| Предупреждение AFS OFF*6 | Загорается/мигает | Вход | CAN | Запрос контрольной лампы AFS OFF | ЭБУ устройства поворота фар в сборе |
| Контрольная лампа системы запуска и останова*1, *7 | Загорается/мигает | Вход | CAN | Запрос включения контрольной лампы режима ECO | ЭБУ запуска и останова двигателя |
| Ручной запуск двигателя | |||||
| Предупреждение о выключении системы запуска и останова*7 | Загорается/мигает | Вход | CAN | Запрос включения контрольной лампы отмены режима Eco | ЭБУ запуска и останова двигателя |
| Предупреждение о высокой температуре охлаждающей жидкости*1 | Загорается | Вход | CAN | Температура охлаждающей жидкости | ECM |
| Шина прямой связи | Тепловой выключатель | Датчик температуры*17 | |||
| Предупреждение SRS | Загорается | Вход | CAN | Запрос управления контрольной лампой SRS | Блок управления системы SRS |
| Режим проверки | ECM | ||||
| Предупреждение EPS | Загорается/мигает | Вход | CAN | Сигнал запроса для щитка приборов | ЭБУ рулевого управления с усилителем |
| Предупреждение об открытой двери*1 | Загорается | Вход | CAN | Выключатель освещения проема двери со стороны водителя | Главный ЭБУ кузова (бортовой ЭБУ сети мультиплексной связи) |
| Выключатель освещения проема двери переднего пассажира | |||||
| Выключатель освещения проема правой задней двери | |||||
| Выключатель освещения проема левой задней двери | |||||
| Выключатель освещения проема двери багажного отделения | |||||
| Скорость автомобиля (SP1) | Блок управления рабочими цилиндрами тормозов в сборе (ЭБУ системы противоскольжения) | ||||
| Контрольная лампа состояния тормозной системы | Загорается | Вход | CAN | Сигнал управления контрольной лампы состояния тормозной системы | Блок управления рабочими цилиндрами тормозов в сборе (ЭБУ системы противоскольжения) |
| Выключатель стояночного тормоза в состоянии | Главный ЭБУ кузова (бортовой ЭБУ сети мультиплексной связи) | ||||
| Шина прямой связи | Датчик уровня тормозной жидкости | Бачок главного цилиндра тормозной системы в сборе (датчик уровня тормозной жидкости) | |||
| Предупреждение о непристегнутом ремне безопасности водителя или переднего пассажира | Загорается/мигает | Вход | CAN | Выключатель пряжки ремня безопасности водителя | Главный ЭБУ кузова (бортовой ЭБУ сети мультиплексной связи) |
| Шина прямой связи | Выключатель пряжки ремня безопасности переднего пассажира |
|
|||
| Датчик присутствия пассажира на сиденье переднего пассажира | Подушка раздельного переднего сиденья (датчик присутствия пассажира) | ||||
| Индикатор регулируемого ограничителя скорости*1, *8 | Включается (горит зеленым/желтым светом) | Вход | CAN | Предупреждение регулируемого ограничителя скорости | ECM |
| Индикатор работы регулируемого ограничителя скорости | |||||
| Индикатор SET круиз-контроля*1, *9 | Загорается | Вход | CAN | Индикатор установки круиз-контроля | ECM |
| Главный индикатор круиз-контроля*1, *9 | Включается (горит зеленым светом) | Вход | CAN | Главная контрольная лампа круиз-контроля | ECM |
| Включается (горит желтым светом) | Контрольная лампа аварийного состояния круиз-контроля | ||||
| Индикатор автоматического включения дальнего света*10 | Включается (горит зеленым/желтым*1 светом) | Вход | CAN | Индикатор автоматического включения дальнего света | Главный ЭБУ кузова (бортовой ЭБУ сети мультиплексной связи) |
| Предупреждение TRC OFF*11 | Загорается | Вход | CAN | Контрольная лампа TRC OFF | Блок управления рабочими цилиндрами тормозов в сборе (ЭБУ системы противоскольжения) |
| Стартер | ECM | ||||
| Предупреждение VSC OFF*11 | Загорается | Вход | CAN | Контрольная лампа VSC OFF | Блок управления рабочими цилиндрами тормозов в сборе (ЭБУ системы противоскольжения) |
| Предупреждение SLIP*11 | Загорается/мигает | Вход | CAN | Контрольная лампа скольжения "SLIP" | Блок управления рабочими цилиндрами тормозов в сборе (ЭБУ системы противоскольжения) |
| Признак наличия управления системы VSC | |||||
| Контрольная лампа ABS: | Загорается/мигает | Вход | CAN | Управление контрольной лампой ABS | Блок управления рабочими цилиндрами тормозов в сборе (ЭБУ системы противоскольжения) |
| Индикатор режима Sport*4 | Загорается | Вход | CAN | Режим "Power" | ECM |
| Предупреждение механической трансмиссии "multimode"*12 | Загорается/мигает | Вход | Шина прямой связи | Запрос мигания контрольной лампы механической трансмиссии "multimode" | ЭБУ трансмиссии |
| Запрос включения контрольной лампы механической трансмиссии "multimode" | |||||
| Индикатор задних противотуманных фонарей | Загорается | Вход | Шина прямой связи | Запрос включения задних противотуманных фонарей | Реле FOG RR |
| Индикатор противотуманных фар*14 | Загорается | Вход | Шина прямой связи | Запрос включения передних противотуманных фар | Реле FOG FR |
| Предупреждение о низком уровне моторного масла*1, *5 | Загорается | Вход | CAN | Температура охлаждающей жидкости | ECM |
| Шина прямой связи | Уровень моторного масла | Датчик уровня моторного масла | |||
| Предупреждение об электронном ключе зажигания*1, *15 | Включается (горит зеленым/желтым светом) | Вход | CAN | Предупреждение интеллектуальной системы 1 | ЭБУ сертификации (ЭБУ электронного ключа питания в сборе) |
| Предупреждение о фильтре DPF*1, *5 | Загорается/мигает | Вход | CAN | Запрос контрольной лампы фильтра DPF | ECM |
| Предупреждение о низком уровне топлива | Загорается | Вход | Шина прямой связи | Уровень топлива | Датчик уровня топлива в сборе |
| Контрольная лампа включения дальнего света | Загорается | Вход | Шина прямой связи | Дальний свет | Реле переключателя света фар |
| Указатель поворота | Мигает | Вход | CAN | Запрос проблескового режима | Главный ЭБУ кузова (бортовой ЭБУ сети мультиплексной связи) |
| Признак мигающего режима аварийных ламп | Блок управления рабочими цилиндрами тормозов в сборе (ЭБУ системы противоскольжения) | ||||
| Шина прямой связи | Сигнал переключателя левого указателя поворота | Переключатель ближнего/дальнего света фар в сборе | |||
| Сигнал переключателя правого указателя поворота | |||||
| Выключатель аварийной сигнализации | Выключатель аварийной сигнализации в сборе | ||||
| - | Выход | CAN | Состояние переключателя указателей поворота | ЭБУ предупреждения о недопустимой дистанции*20 | |
| Шина прямой связи | Выходной сигнал индикатора левого указателя поворота | Все указатели поворота | |||
| Выходной сигнал индикатора правого указателя поворота | |||||
| Главная контрольная лампа аварийного состояния*16 | Загорается/мигает | Вход | CAN | Все предупреждения | Соответствующие ЭБУ |
| Шина прямой связи |
*1: для моделей с жидкокристаллическим мультиинформационным дисплеем сегментного типа
*2: для моделей с механической трансмиссией или механической трансмиссией "multimode"
*3: для моделей с бензиновым двигателем
*4: для моделей с бесступенчатой трансмиссией
*5: для моделей с дизельным двигателем
*6: для моделей с системой AFS (система адаптивного переднего освещения)
*7: для моделей с системой запуска и останова
*8: для моделей с системой ограничения скорости
*9: для моделей с системой круиз-контроля
*10: для моделей с системой автоматического включения дальнего света
*11: для моделей с VSC
*12: для моделей с механической трансмиссией "multimode"
*13: для моделей без ЭБУ генератора в сборе
*14: для моделей с передними противотуманными фарами
*15: для моделей с системой посадки и запуска
*16: для моделей с жидкокристаллическим мультиинформационным дисплеем растрового типа
*17: для моделей с системой рециркуляции тепла отработавших газов
*18: для моделей с левосторонним рулевым управлением
*19: для моделей с правосторонним рулевым управлением
*20: для моделей с упрощенной интеллектуальной системой помощи при парковке
Жидкокристаллический мультиинформационный дисплей сегментного типа
| Параметр / Устройство | Условие | Вход/выход | CAN/линия прямой связи | Сигнал | Устройство |
|---|---|---|---|---|---|
| Одометр | Отображаемый сегмент | Вход | CAN | Расчетное значение импульсного сигнала скорости автомобиля | Блок управления рабочими цилиндрами тормозов в сборе (ЭБУ системы противоскольжения) |
| Скорость автомобиля (SP1) | |||||
| Данные трансмиссии | ECM | ||||
| Шина прямой связи | Переключатель ODO/TRIP | Переключатель DISP (переключатель на рулевом колесе в сборе)*6 | |||
| - | Переключатель ODO/TRIP | Кнопка переключателя ODO/TRIP DISP (щиток приборов) | |||
| - | Выход | CAN | Одометр | ECM | |
| Главный ЭБУ кузова (бортовой ЭБУ сети мультиплексной связи) | |||||
| ЭБУ сертификации (ЭБУ электронного ключа питания в сборе) | |||||
| Блок одометра | ECM | ||||
| счетчик пути A / счетчик пути B | Отображаемый сегмент | Вход | CAN | Расчетное значение импульсного сигнала скорости автомобиля | Блок управления рабочими цилиндрами тормозов в сборе (ЭБУ системы противоскольжения) |
| Скорость автомобиля (SP1) | |||||
| Данные трансмиссии | ECM | ||||
| Шина прямой связи | Переключатель ODO/TRIP | Переключатель DISP (переключатель на рулевом колесе в сборе)*6 | |||
| Кнопка сброса счетчика пути TRIP | |||||
| - | Переключатель ODO/TRIP | Кнопка переключателя ODO/TRIP DISP (щиток приборов) | |||
| Кнопка сброса счетчика пути TRIP | |||||
| Время в режиме Eco*1 | Отображаемый сегмент | Вход | CAN | Признак режима Eco-run | ECM |
| Режим Eco | ЭБУ запуска и останова двигателя | ||||
| Время / одометр в режиме Eco*1 | Отображаемый сегмент | Вход | CAN | Признак режима Eco-run | ECM |
| Режим Eco | ЭБУ запуска и останова двигателя | ||||
| Шина прямой связи | Выключатель сброса | Переключатель DISP (переключатель на рулевом колесе в сборе)*6 | |||
| - | Выключатель сброса | Кнопка переключателя ODO/TRIP DISP (щиток приборов) | |||
| Общий средний расход топлива | Отображаемый сегмент | Вход | CAN | Данные о частоте вращения коленчатого вала двигателя | ECM |
| Расход топлива | |||||
| Расчетное значение импульсного сигнала скорости автомобиля | Блок управления рабочими цилиндрами тормозов в сборе (ЭБУ системы противоскольжения) | ||||
| Скорость автомобиля (SP1) | |||||
| Запрос сброса общего среднего расхода топлива | Радиоприемник с дисплеем в сборе*5 | ||||
| Шина прямой связи | Выключатель сброса | Переключатель DISP (переключатель на рулевом колесе в сборе)*6 | |||
| - | Выключатель сброса | Переключатель ODO/TRIP DISP (щиток приборов) | |||
| - | Выход | CAN | Сигнал 6 контрольной информации о поездке | Радиоприемник с дисплеем в сборе*5 | |
| Сигнал отображения контрольной информации о поездке (общий средний расход топлива) | |||||
| Расстояние, которое может проехать автомобиль | Отображаемый сегмент | Вход | CAN | Данные о частоте вращения коленчатого вала двигателя | ECM |
| Расход топлива | |||||
| Информация о типе двигателя 1, 2, 3, 4 | |||||
| Расчетное значение импульсного сигнала скорости автомобиля | Блок управления рабочими цилиндрами тормозов в сборе (ЭБУ системы противоскольжения) | ||||
| Шина прямой связи | Уровень топлива | Датчик уровня топлива в сборе | |||
| - | Выход | CAN | Сигнал 4 контрольной информации о поездке | Радиоприемник с дисплеем в сборе*5 | |
| Отображение контрольной информации о поездке (расстояние, которое может проехать автомобиль) | |||||
| Уровень подсветки щитка приборов | Уровень подсветки | Вход | Шина прямой связи | Уровень подсветки | Переключатель DISP (переключатель на рулевом колесе в сборе)*6 |
| Переключатель ODO/TRIP | |||||
| - | Уровень подсветки | Кнопка переключателя ODO/TRIP DISP (щиток приборов) | |||
| Переключатель ODO/TRIP | |||||
| - | Выход | CAN | Сигнал реостата | ЭБУ сертификации (ЭБУ электронного ключа питания в сборе) | |
| Выключение задних фонарей | Главный ЭБУ кузова (бортовой ЭБУ сети мультиплексной связи) | ||||
| Зона индикации режима Eco*2 | Отображаемый сегмент | Вход | CAN | Уровень зоны индикации Eco | ECM |
| Температура окружающего воздуха | Отображаемый сегмент | Вход | CAN | Расчетное значение импульсного сигнала скорости автомобиля | Блок управления рабочими цилиндрами тормозов в сборе (ЭБУ системы противоскольжения) |
| Скорость автомобиля (SP1) | |||||
| Шина прямой связи | Температура окружающего воздуха | Термистор в сборе | |||
| Переключатель ODO/TRIP | Переключатель DISP (переключатель на рулевом колесе в сборе)*6 | ||||
| - | Переключатель ODO/TRIP | Кнопка переключателя ODO/TRIP DISP (щиток приборов) | |||
| - | Выход | CAN | Отображаемые данные о температуре окружающего воздуха | Блок управления системой кондиционирования в сборе | |
| ЭБУ запуска и останова двигателя*1 | |||||
| Данные датчика температуры окружающего воздуха | Блок управления системой кондиционирования в сборе | ||||
| Положение селектора передач*2 | Отображаемый сегмент | Вход | CAN | Положение P селектора передач | ECM |
| Положение R селектора передач | |||||
| Положение N селектора передач | |||||
| Положение D селектора передач | |||||
| Передача | |||||
| Сигнал индикатора MODE | |||||
| Включение режима SPORT | |||||
| Диапазон температуры трансмиссионного масла | |||||
| Положение селектора передач*3 | Отображаемый сегмент | Вход | Шина прямой связи | Положение R селектора передач | ЭБУ трансмиссии |
| Положение N селектора передач | |||||
| Положение E селектора передач | |||||
| Положение M селектора передач | |||||
| Передача | |||||
| Индикатор режима Es | |||||
| Предельная скорость*4 | Отображаемый сегмент | Вход | CAN | Запрос мигания индикатора скорости автомобиля в режиме регулируемого ограничения скорости | ECM |
| Запрос отображения индикатора скорости автомобиля в режиме регулируемого ограничения скорости | |||||
| Скорость автомобиля в режиме регулируемого ограничения скорости | |||||
| Единица измерения скорости автомобиля для целей управления | |||||
| - | Выход | CAN | Сигнал 2 изменения единиц измерения (км/мили) | ECM |
*1: для моделей с системой запуска и останова
*2: для моделей с бесступенчатой трансмиссией
*3: для моделей с механической трансмиссией "multimode"
*4: для моделей с системой ограничения скорости
*5: для моделей с радиоприемником с дисплеем в сборе
*6: При наличии переключателей на рулевом колесе
Жидкокристаллический мультиинформационный дисплей растрового типа
| Параметр / Устройство | Условие | Вход/выход | CAN/линия прямой связи | Сигнал | Устройство |
|---|---|---|---|---|---|
| Одометр | Отображается | Вход | CAN | Расчетное значение импульсного сигнала скорости автомобиля | Блок управления рабочими цилиндрами тормозов в сборе (ЭБУ системы противоскольжения) |
| Скорость автомобиля (SP1) | |||||
| - | Переключатель ODO/TRIP | Кнопка переключателя ODO/TRIP (щиток приборов) | |||
| - | Выход | CAN | Одометр | ECM | |
| Главный ЭБУ кузова (бортовой ЭБУ сети мультиплексной связи) | |||||
| ЭБУ сертификации (ЭБУ электронного ключа питания в сборе) | |||||
| Блок одометра | ECM | ||||
| счетчик поездки A / счетчик поездки B | Отображается | Вход | CAN | Расчетное значение импульсного сигнала скорости автомобиля | Блок управления рабочими цилиндрами тормозов в сборе (ЭБУ системы противоскольжения) |
| Скорость автомобиля (SP1) | |||||
| Данные трансмиссии | ECM | ||||
| - | Переключатель ODO/TRIP | Кнопка переключателя ODO/TRIP (щиток приборов) | |||
| Кнопка сброса счетчика пути TRIP | |||||
| Время в режиме Eco*1 | Отображается | Вход | CAN | Признак режима Eco-run | ECM |
| Режим Eco | ЭБУ запуска и останова двигателя | ||||
| Время / одометр в режиме Eco*1 | Отображается | Вход | CAN | Признак режима Eco-run | ECM |
| Режим Eco | ЭБУ запуска и останова двигателя | ||||
| - | Выключатель сброса | Кнопка переключателя ODO/TRIP (щиток приборов) | |||
| Уровень подсветки щитка приборов | Уровень подсветки | Вход | CAN | Автоматический переключатель света фар | Главный ЭБУ кузова (бортовой ЭБУ сети мультиплексной связи) |
| - | Уровень подсветки | Кнопка переключателя ODO/TRIP (щиток приборов) | |||
| Переключатель ODO/TRIP | |||||
| - | Выход | CAN | Сигнал реостата | ЭБУ сертификации (ЭБУ электронного ключа зажигания в сборе)*8 | |
| Выключение задних фонарей | Главный ЭБУ кузова (бортовой ЭБУ сети мультиплексной связи) | ||||
| Положение селектора передач*4 | Отображается | Вход | CAN | Положение P селектора передач | ECM |
| Положение R селектора передач | |||||
| Положение N селектора передач | |||||
| Положение D селектора передач | |||||
| Передача | |||||
| Сигнал индикатора MODE | |||||
| Включение режима SPORT | |||||
| Диапазон температуры трансмиссионного масла | |||||
| Положение селектора передач*16 | Отображается | Вход | Шина прямой связи | Положение R селектора передач | ЭБУ трансмиссии |
| Положение N селектора передач | |||||
| Положение E селектора передач | |||||
| Положение M селектора передач | |||||
| Передача | |||||
| Индикатор режима Es | |||||
| Индикатор перехода на повышенную или пониженную передачу*9 | Отображается | Вход | CAN | переключение на более высокую передачу | ECM |
| переключение на более низкую передачу | |||||
| Стартер*1 | |||||
| Ручной запуск двигателя | ЭБУ запуска и останова двигателя*1 | ||||
| Температура окружающего воздуха | Отображается | Вход | CAN | Расчетное значение импульсного сигнала скорости автомобиля | Блок управления рабочими цилиндрами тормозов в сборе (ЭБУ системы противоскольжения) |
| Скорость автомобиля (SP1) | |||||
| Шина прямой связи | Температура окружающего воздуха | Термистор в сборе | |||
| - | Переключатель ODO/TRIP | Кнопка переключателя ODO/TRIP (щиток приборов) | |||
| - | Выход | CAN | Отображаемые данные о температуре окружающего воздуха | Блок управления системой кондиционирования в сборе | |
| ЭБУ запуска и останова двигателя*1 | |||||
| Данные датчика температуры окружающего воздуха | Блок управления системой кондиционирования в сборе | ||||
| Ice warning (Snow symbol) (предупреждение об обледенении дороги (символ снега)) | Отображается | Вход | CAN | Скорость автомобиля (SP1) | Блок управления рабочими цилиндрами тормозов в сборе (ЭБУ системы противоскольжения) |
| Шина прямой связи | Температура окружающего воздуха | Термистор в сборе | |||
| Предельная скорость*3 | Отображается | Вход | CAN | Запрос мигания индикатора скорости автомобиля в режиме регулируемого ограничения скорости | ECM |
| Запрос отображения индикатора скорости автомобиля в режиме регулируемого ограничения скорости | |||||
| Скорость автомобиля в режиме регулируемого ограничения скорости | |||||
| Единица измерения скорости автомобиля для целей управления | |||||
| - | Выход | CAN | Сигнал 2 изменения единиц измерения (км/мили) | ECM | |
| Индикатор режима Eco*4 | Отображается | Вход | CAN | Индикатор экологичного режима | ECM |
| Индикатор регулируемого ограничителя скорости*3 | Отображается | Вход | CAN | Предупреждение регулируемого ограничителя скорости | ECM |
| Индикатор работы регулируемого ограничителя скорости | |||||
| Главный индикатор круиз-контроля*5 | Отображается | Вход | CAN | Главная контрольная лампа круиз-контроля | ECM |
| Индикатор SET круиз-контроля*5 | Отображается | Вход | CAN | Индикатор установки круиз-контроля | ECM |
| Контрольная лампа системы запуска и останова*1 | Отображается | Вход | CAN | Признак режима Eco-run | ЭБУ запуска и останова двигателя |
| Индикатор S-IPA*6 | Отображается | Вход | CAN | Информация дисплея IPA | ЭБУ предупреждения о недопустимой дистанции |
| Общий средний расход топлива | Отображается | Вход | CAN | Данные о частоте вращения коленчатого вала двигателя | ECM |
| Расход топлива | |||||
| Расчетное значение импульсного сигнала скорости автомобиля | Блок управления рабочими цилиндрами тормозов в сборе (ЭБУ системы противоскольжения) | ||||
| Скорость автомобиля (SP1) | |||||
| Запрос сброса общего среднего расхода топлива | Радиоприемник с дисплеем в сборе*14 | ||||
| Шина прямой связи | Выключатель сброса | Переключатель DISP (переключатель на рулевом колесе в сборе)*15 | |||
| - | Кнопка переключателя DISP (щиток приборов) | ||||
| - | Выход | CAN | Сигнал 6 контрольной информации о поездке | Радиоприемник с дисплеем в сборе*14 | |
| Сигнал отображения контрольной информации о поездке (общий средний расход топлива) | |||||
| Текущий расход топлива | Отображается | Вход | CAN | Данные о частоте вращения коленчатого вала двигателя | ECM |
| Расход топлива | |||||
| Расчетное значение импульсного сигнала скорости автомобиля | Блок управления рабочими цилиндрами тормозов в сборе (ЭБУ системы противоскольжения) | ||||
| Скорость автомобиля (SP1) | |||||
| Шина прямой связи | Выключатель сброса | Переключатель DISP (переключатель на рулевом колесе в сборе)*15 | |||
| - | Кнопка переключателя DISP (щиток приборов) | ||||
| - | Выход | CAN | Сигнал 0 контрольной информации о поездке | Радиоприемник с дисплеем в сборе*14 | |
| Сигнал отображения контрольной информации о поездке (текущий расход топлива) | |||||
| Расстояние, которое может проехать автомобиль | Отображается | Вход | CAN | Данные о частоте вращения коленчатого вала двигателя | ECM |
| Расход топлива | |||||
| Информация о типе двигателя 1, 2, 3, 4 | |||||
| Расчетное значение импульсного сигнала скорости автомобиля | Блок управления рабочими цилиндрами тормозов в сборе (ЭБУ системы противоскольжения) | ||||
| Шина прямой связи | Уровень топлива | Датчик уровня топлива в сборе | |||
| - | Выход | CAN | Сигнал 4 контрольной информации о поездке | Радиоприемник с дисплеем в сборе*14 | |
| Отображение контрольной информации о поездке (расстояние, которое может проехать автомобиль) | |||||
| Средняя скорость автомобиля | Отображается | Вход | CAN | Данные о частоте вращения коленчатого вала двигателя | ECM |
| Расчетное значение импульсного сигнала скорости автомобиля | Блок управления рабочими цилиндрами тормозов в сборе (ЭБУ системы противоскольжения) | ||||
| Скорость автомобиля (SP1) | |||||
| - | Выход | CAN | Сигнал 1 контрольной информации о поездке | Радиоприемник с дисплеем в сборе*14 | |
| Отображение контрольной информации о поездке (средняя скорость автомобиля) | |||||
| Длительность поездки | Отображается | Вход | CAN | Данные о частоте вращения коленчатого вала двигателя | ECM |
| - | Выход | CAN | Отображение контрольной информации о поездке (время движения после запуска) | Радиоприемник с дисплеем в сборе*14 | |
| НАСТРОЙКИ | Отображается | - | - | - | - |
| Зона индикации режима Eco*4 | Отображается | Вход | CAN | Уровень зоны индикации Eco | ECM |
| Открывание | Отображается | - | - | - | - |
| Окончание | Отображается | - | - | - | - |
| IPA CANCELED, TAKE OVER, CHECK IPA" (система IPA отключена, примите управление, проверьте систему IPA)*6 | Отображается | Вход | CAN | Информация дисплея IPA | ЭБУ предупреждения о недопустимой дистанции |
| IPA CANCELED, TAKE OVER (система IPA отключена, примите управление)*6 | Отображается | Вход | CAN | Информация дисплея IPA | ЭБУ предупреждения о недопустимой дистанции |
| IPA SLOT NOT DETECTED, SPEED TOO HIGH (место для парковки не обнаружено, скорость слишком высока)*6 | Отображается | Вход | CAN | Информация дисплея IPA | ЭБУ предупреждения о недопустимой дистанции |
| IPA CANCELED, TAKE OVER, SPEED TOO HIGH (система IPA отключена, примите управление, скорость слишком высока)*6 | Отображается | Вход | CAN | Информация дисплея IPA | ЭБУ предупреждения о недопустимой дистанции |
| IPA CANCELED, TAKE OVER, DRIVER INTERVENED (система IPA отключена, примите управление, вмешательство водителя)*6 | Отображается | Вход | CAN | Информация дисплея IPA | ЭБУ предупреждения о недопустимой дистанции |
| IPA CANCELED, TAKE OVER, TRC/VSC IS OFF (система IPA отключена, примите управление, система TRC/VSC отключена)*6 | Отображается | Вход | CAN | Информация дисплея IPA | ЭБУ предупреждения о недопустимой дистанции |
| IPA CANCELED, TAKE OVER, TRC/ABS/VSC ACTIVATED (система IPA отключена, примите управление, система TRC/АБС/VSC включена)*6 | Отображается | Вход | CAN | Информация дисплея IPA | ЭБУ предупреждения о недопустимой дистанции |
| IPA CANCELED, TAKE OVER, TIMEOUT (система IPA отключена, примите управление, тайм-аут)*6 | Отображается | Вход | CAN | Информация дисплея IPA | ЭБУ предупреждения о недопустимой дистанции |
| IPA NOT AVAILABLE, SPEED TOO HIGH (система IPA недоступна, скорость слишком высока)*6 | Отображается | Вход | CAN | Информация дисплея IPA | ЭБУ предупреждения о недопустимой дистанции |
| IPA NOT AVAILABLE, TRC/VSC IS OFF (система IPA недоступна, система TRC/VSC отключена)*6 | Отображается | Вход | CAN | Информация дисплея IPA | ЭБУ предупреждения о недопустимой дистанции |
| CHECK IPA (проверьте систему IPA)*6 | Отображается | Вход | CAN | Информация дисплея IPA | ЭБУ предупреждения о недопустимой дистанции |
| IPA NOT AVAILABLE (система IPA недоступна)*6 | Отображается | Вход | CAN | Информация дисплея IPA | ЭБУ предупреждения о недопустимой дистанции |
| IPA NOT AVAILABLE, STOP THE VEHICLE, TURN WHEEL FROM LEFT END TO RIGHT END (система IPA недоступна, остановите автомобиль, поверните колесо из крайнего левого в крайнее правое положение)*6 | Отображается | Вход | CAN | Информация дисплея IPA | ЭБУ предупреждения о недопустимой дистанции |
| MEMORY ERROR (ошибка памяти)*6 | Отображается | Вход | CAN | Информация дисплея IPA | ЭБУ предупреждения о недопустимой дистанции |
| WRITE ZERO-POINT OF STEERING ANGLE (запись точки "нуля" угла поворота рулевого колеса)*6 | Отображается | Вход | CAN | Информация дисплея IPA | ЭБУ предупреждения о недопустимой дистанции |
| WRITE MAXIMUM STEERING ANGLE (запись максимального угла поворота рулевого колеса)*6 | Отображается | Вход | CAN | Информация дисплея IPA | ЭБУ предупреждения о недопустимой дистанции |
| END OF ADJUSTMENT (конец регулировки)*6 | Отображается | Вход | CAN | Информация дисплея IPA | ЭБУ предупреждения о недопустимой дистанции |
| Each door ajar (Все двери неплотно закрыты) | Отображается | Вход | CAN | Индикация открытой двери водителя | ЭБУ сертификации (ЭБУ электронного ключа зажигания в сборе)*8 |
| Индикация открытой двери переднего пассажира | |||||
| Индикация открытой правой задней двери | |||||
| Индикация открытой левой задней двери | |||||
| Выключатель освещения проема двери со стороны водителя | Главный ЭБУ кузова (бортовой ЭБУ сети мультиплексной связи) | ||||
| Выключатель освещения проема двери переднего пассажира | |||||
| Выключатель освещения проема правой задней двери | |||||
| Выключатель освещения проема левой задней двери | |||||
| Выключатель освещения проема двери багажного отделения | |||||
| Рулевое колесо | |||||
| Скорость автомобиля (SP1) | Блок управления рабочими цилиндрами тормозов в сборе (ЭБУ системы противоскольжения) | ||||
| Индикатор обнаружения датчика системы ультразвуковой локации*7 | Отображается | Вход | CAN | Запрос отображения на щитке приборов | ЭБУ предупреждения о недопустимой дистанции |
| Данные для центральной передней зоны | |||||
| Данные для правой передней зоны | |||||
| Данные для левой передней зоны | |||||
| Данные для центральной задней зоны | |||||
| Данные для правой задней зоны | |||||
| Данные для левой задней зоны | |||||
| CHECK SONAR SYSTEM (проверьте систему ультразвуковой локации)*7 | Отображается | Вход | CAN | Запрос отображения на щитке приборов | ЭБУ предупреждения о недопустимой дистанции |
| Запрос диагностики датчика | |||||
| Индикатор управления IPA*6 | Отображается | Вход | CAN | Информация дисплея IPA | ЭБУ предупреждения о недопустимой дистанции |
| CHECK SURROUNDINGS (проверьте окружающую обстановку)*6 | Отображается | Вход | CAN | Информация дисплея IPA | ЭБУ предупреждения о недопустимой дистанции |
| IPA FINISHED, TAKE OVER (система IPA завершила работу, примите управление)*6 | Отображается | Вход | CAN | Информация дисплея IPA | ЭБУ предупреждения о недопустимой дистанции |
| AUTO POWER OFF TO CONSERVE BATTERY (автоматическое выключение питания для экономии энергии аккумуляторной батареи)*8 | Отображается | Вход | CAN | Запрос сообщения для кнопочного запуска | ЭБУ сертификации (ЭБУ электронного ключа питания в сборе) |
| SHIFT TO P POSITION (переключитесь в положение P)*8 | Отображается | Вход | CAN | Запрос сообщения для кнопочного запуска | ЭБУ сертификации (ЭБУ электронного ключа питания в сборе) |
| Предупреждение интеллектуальной системы 2 | |||||
| RELEASE PARKING BRAKE (ОТПУСТИТЕ СТОЯНОЧНЫЙ ТОРМОЗ) | Отображается | Вход | CAN | Выключатель стояночного тормоза в состоянии | Главный ЭБУ кузова (бортовой ЭБУ сети мультиплексной связи) |
| Скорость автомобиля (SP1) | Блок управления рабочими цилиндрами тормозов в сборе (ЭБУ системы противоскольжения) | ||||
| KEY NOT DETECTED (ключ не обнаружен)*8 | Отображается | Вход | CAN | Предупреждение интеллектуальной системы 1 | ЭБУ сертификации (ЭБУ электронного ключа питания в сборе) |
| CHECK ENTRY & START SYSTEM (проверьте систему посадки и запуска)*8 | Отображается | Вход | CAN | Предупреждение интеллектуальной системы 1 | ЭБУ сертификации (ЭБУ электронного ключа питания в сборе) |
| Charge warning (Battery symbol) (предупреждение о зарядке (символ аккумуляторной батареи)) | Отображается | Вход | CAN | Контрольная лампа низкого заряда аккумуляторной батареи | ECM |
| Starter | |||||
| Режим Eco | ЭБУ запуска и останова двигателя*1 | ||||
| Шина прямой связи | Контакт Charge L | Генератор в сборе*17 | |||
| CHECK CRUISE CONTROL SYSTEM (проверьте систему круиз-контроля)*5 | Отображается | Вход | CAN | Контрольная лампа аварийного состояния круиз-контроля | ECM |
| CHECK CRUISE CONTROL SYSTEM (проверьте систему ограничения скорости)*3 | Отображается | Вход | CAN | Предупреждение регулируемого ограничителя скорости | ECM |
| Engine oil pressure low (Engine oil pressure low symbol) (низкое давление моторного масла (символ низкого давления моторного масла)) | Отображается | Вход | CAN | Запрос запрета включения контрольной лампы давления масла | ЭБУ запуска и останова двигателя*1 |
| Запрос контрольной лампы низкого давления моторного масла | ECM*12 | ||||
| Шина прямой связи | Давление моторного масла | Контактный датчик давления моторного масла в сборе*10 | |||
| TURN POWER OFF (выключите питание)*8 | Отображается | Вход | CAN | Предупреждение интеллектуальной системы 2 | ЭБУ сертификации (ЭБУ электронного ключа питания в сборе) |
| Запрос сообщения для кнопочного запуска | |||||
| KEY DETECTED IN VEHICLE (в автомобиле обнаружен ключ)*8 | Отображается | Вход | CAN | Предупреждение интеллектуальной системы 3 | ЭБУ сертификации (ЭБУ электронного ключа питания в сборе) |
| TURN LIGHTS OFF (выключите освещение) | Отображается | Вход | CAN | Выключатель освещения проема двери со стороны водителя | Главный ЭБУ кузова (бортовой ЭБУ сети мультиплексной связи) |
| Запрос включения задних фонарей | |||||
| DEPRESS BRAKE PEDAL, TOUCH ENGINE SWITCH WITH KEY (нажмите педаль тормоза, приложите ключ к выключателю зажигания)*2, *8 | Отображается | Вход | CAN | Предупреждение интеллектуальной системы 1 | ЭБУ сертификации (ЭБУ электронного ключа питания в сборе) |
| DEPRESS CLUTCH PEDAL, TOUCH ENGINE SWITCH WITH KEY (нажмите педаль сцепления, приложите ключ к выключателю зажигания)*8, *11 | Отображается | Вход | CAN | Предупреждение интеллектуальной системы 1 | ЭБУ сертификации (ЭБУ электронного ключа питания в сборе) |
| DEPRESS BRAKE PEDAL AND PUSH ENGINE SWITCH TO START (нажмите педаль тормоза, а затем нажмите на выключатель зажигания для запуска двигателя)*2, *8 | Отображается | Вход | CAN | Предупреждение интеллектуальной системы 3 | ЭБУ сертификации (ЭБУ электронного ключа питания в сборе) |
| Запрос сообщения для кнопочного запуска | |||||
| DEPRESS CLUTCH PEDAL AND PUSH ENGINE SWITCH TO START (нажмите педаль сцепления, а затем нажмите на выключатель зажигания для запуска двигателя)*8, *11 | Отображается | Вход | CAN | Предупреждение интеллектуальной системы 3 | ЭБУ сертификации (ЭБУ электронного ключа питания в сборе) |
| Запрос сообщения для кнопочного запуска | |||||
| SHIFT TO P POSITION TO START (переключитесь в положение P для запуска двигателя)*4, *8 | Отображается | Вход | CAN | Запрос сообщения для кнопочного запуска | ЭБУ сертификации (ЭБУ электронного ключа питания в сборе) |
| SHIFT TO N POSITION TO START (переключитесь в положение N для запуска двигателя)*8, *16 | Отображается | Вход | CAN | Запрос сообщения для кнопочного запуска | ЭБУ сертификации (ЭБУ электронного ключа питания в сборе) |
| STEERING LOCK ACTIVE (блокировка рулевого управления активна)*8 | Отображается | Вход | CAN | Предупреждение интеллектуальной системы 1 | ЭБУ сертификации (ЭБУ электронного ключа питания в сборе) |
| KEY BATTERY LOW (батарея ключа разряжена)*8 | Отображается | Вход | CAN | Предупреждение интеллектуальной системы 1 | ЭБУ сертификации (ЭБУ электронного ключа питания в сборе) |
| DRAIN WATER FROM FUEL FILTER (слейте воду из топливного фильтра)*12 | Отображается | Вход | Шина прямой связи | Датчик отстойника топлива | Датчик уровня |
| ENGINE OIL LOW (низкий уровень моторного масла)*12 | Отображается | Вход | CAN | Температура охлаждающей жидкости | ECM |
| Шина прямой связи | Уровень моторного масла | Датчик уровня моторного масла | |||
| CHECK AHB SYSTEM (проверьте систему AHB)*13 | Отображается | Вход | CAN | Индикатор автоматического включения дальнего света | Главный ЭБУ кузова (бортовой ЭБУ сети мультиплексной связи) |
| DPF FULL ENGINE SERVICE REQUIRED (сажевый фильтр забит, двигатель нуждается в обслуживании)*12 | Отображается | Вход | CAN | Запрос предупреждения о состоянии фильтра DPF | ECM |
| OIL MAINTENANCE REQUIRED SOON (замена масла потребуется в ближайшее время)*12 | Отображается | Вход | CAN | Контрольная лампа замены масла | ECM |
| Стартер*1 | |||||
| Ручной запуск двигателя | ЭБУ запуска и останова двигателя*1 | ||||
| OIL MAINTENANCE REQUIRED (требуется замена масла)*12 | Отображается | Вход | CAN | Контрольная лампа замены масла | ECM |
| Стартер*1 | |||||
| Ручной запуск двигателя | ЭБУ запуска и останова двигателя*1 | ||||
| RESETTING OIL MAINTENANCE DATA (сброс данных о замене масла)*12 | Отображается | - | - | - | - |
| - | Выход | CAN | Сброс системы контроля состояния масла | ECM | |
| RESETTING OF OIL MAINTENANCE DATA INCOMPLETE (сброс данных о замене масла не завершен)*12 | Отображается | - | - | - | - |
| POWER ON (питание включено)*8 | Отображается | Вход | CAN | Предупреждение интеллектуальной системы 1 | ЭБУ сертификации (ЭБУ электронного ключа питания в сборе) |
| Engine start possible condition (Smart key symbol) (запуск двигателя возможен (символ электронного ключа зажигания))*8 | Отображается | Вход | CAN | Предупреждение интеллектуальной системы 1 | ЭБУ сертификации (ЭБУ электронного ключа питания в сборе) |
| DPF FULL SEE OWNER'S MANUAL (сажевый фильтр забит, см. руководство)*12 | Отображается | Вход | CAN | Запрос контрольной лампы фильтра DPF | ECM |
| DPF MANUAL REGENERATION IN PROCESS (выполняется регенерация DPF в ручном режиме)*12 | Отображается | Вход | CAN | Запрос контрольной лампы фильтра DPF | ECM |
*1: для моделей с системой запуска и останова
*2: для моделей с механической трансмиссией "multimode" или бесступенчатой трансмиссией
*3: для моделей с системой ограничения скорости
*4: для моделей с бесступенчатой трансмиссией
*5: для моделей с системой круиз-контроля
*6: для моделей с упрощенной интеллектуальной системой помощи при парковке
*7: для моделей с сенсорной системой помощи при парковке TOYOTA
*8: для моделей с системой посадки и запуска
*9: для моделей с механической трансмиссией или механической трансмиссией "multimode"
*10: для моделей с бензиновым двигателем
*11: для моделей с механической трансмиссией
*12: для моделей с дизельным двигателем
*13: для моделей с системой автоматического включения дальнего света
*14: для моделей с радиоприемником с дисплеем в сборе
*15: При наличии переключателей на рулевом колесе
*16: для моделей с механической трансмиссией "multimode"
*17: для моделей без ЭБУ генератора
Buzzer
| Параметр / Устройство | Условие | Вход/выход | CAN/линия прямой связи | Сигнал | Устройство |
|---|---|---|---|---|---|
| IPA*1 | Издается 1 звуковой сигнал | Вход | CAN | Зуммер системы IPA | ЭБУ предупреждения о недопустимой дистанции |
| Подает два звуковых сигнала | |||||
| Издает прерывистый звуковой сигнал | |||||
| Задняя передача механической трансмиссии "multimode"*2 | Издается 1 звуковой сигнал | Вход | Шина прямой связи | Запрос включения зуммера заднего хода механической трансмиссии "multimode" | ЭБУ трансмиссии |
| Предупреждение системы VSC*3 | Издает прерывистый звуковой сигнал | Вход | CAN | Признак управления зуммером | Блок управления рабочими цилиндрами тормозов в сборе (ЭБУ системы противоскольжения) |
| Система запуска и останова*4 | Непрерывно издает звуковой сигнал | Вход | CAN | Запрос включения зуммера | ЭБУ запуска и останова двигателя |
| Предупреждение о непристегнутом ремне безопасности (со стороны водителя) | Издает прерывистый звуковой сигнал | Вход | CAN | Выключатель пряжки ремня безопасности водителя | Главный ЭБУ кузова (бортовой ЭБУ сети мультиплексной связи) |
| Выключатель освещения проема двери со стороны водителя | |||||
| Выключатель освещения проема двери переднего пассажира | |||||
| Положение R селектора передач | ECM | ||||
| Положение P селектора передач | |||||
| Скорость автомобиля (SP1) | Блок управления рабочими цилиндрами тормозов в сборе (ЭБУ системы противоскольжения) | ||||
| Предупреждение о непристегнутом ремне безопасности (со стороны переднего пассажира) | Издает прерывистый звуковой сигнал | Вход | CAN | Выключатель освещения проема двери со стороны водителя | Главный ЭБУ кузова (бортовой ЭБУ сети мультиплексной связи) |
| Выключатель освещения проема двери переднего пассажира | |||||
| Положение R селектора передач | ECM | ||||
| Положение P селектора передач | |||||
| Скорость автомобиля (SP1) | Блок управления рабочими цилиндрами тормозов в сборе (ЭБУ системы противоскольжения) | ||||
| Шина прямой связи | Выключатель пряжки ремня безопасности переднего пассажира |
|
|||
| Датчик присутствия пассажира на сиденье переднего пассажира | Подушка раздельного переднего сиденья (датчик присутствия пассажира) | ||||
| Предупреждение о непристегнутом ремне безопасности (для ремней безопасности задних сидений)*5 | Издает прерывистый звуковой сигнал | Вход | CAN | Положение P селектора передач | ECM |
| Выключатель стояночного тормоза в состоянии | Главный ЭБУ кузова (бортовой ЭБУ сети мультиплексной связи) | ||||
| Выключатель освещения проема правой задней двери | |||||
| Выключатель освещения проема левой задней двери | |||||
| Скорость автомобиля (SP1) | Блок управления рабочими цилиндрами тормозов в сборе (ЭБУ системы противоскольжения) | ||||
| Шина прямой связи | Выключатель пряжки ремня безопасности правого заднего сиденья | Замок правого ремня безопасности заднего сиденья в сборе | |||
| Выключатель пряжки ремня безопасности левого заднего сиденья | Левый замок ремня безопасности заднего сиденья с центральным ремнем в сборе | ||||
| Выключатель пряжки ремня безопасности центрального заднего сиденья | |||||
| Предупреждение о низком напряжении питания системы управления тормозами*3 | Издает прерывистый звуковой сигнал | Вход | CAN | Признак управления зуммером | Блок управления рабочими цилиндрами тормозов в сборе (ЭБУ системы противоскольжения) |
| Предупреждение EPS | Издается 1 звуковой сигнал | Вход | CAN | Сигнал запроса для щитка приборов | ЭБУ рулевого управления с усилителем |
| Предупреждение механической трансмиссии "multimode"*2 | Издает прерывистый звуковой сигнал | Вход | Шина прямой связи | Запрос включения предупредительного зуммера хода механической трансмиссии "multimode" | ЭБУ трансмиссии |
| Предупреждение об электронном ключе зажигания*6 | Непрерывно издает звуковой сигнал | Вход | CAN | Запрос непрерывного включения зуммера щитка приборов | ЭБУ сертификации (ЭБУ электронного ключа питания в сборе) |
| Издает прерывистый звуковой сигнал | Запрос прерывистого включения зуммера щитка приборов | ||||
| Издает прерывистый звуковой сигнал (не более 9 раз) | Запрос прерывистого включения зуммера щитка приборов (интервал 0,7 секунды) | ||||
| Издается 1 звуковой сигнал | Запрос однократного включения зуммера щитка приборов | ||||
| Предупреждение об оставлении ключа в замке зажигания*7 | Издает прерывистый звуковой сигнал | Вход | CAN | Переключатель ключа | Главный ЭБУ кузова (бортовой ЭБУ сети мультиплексной связи) |
| Выключатель освещения проема двери со стороны водителя | |||||
| Дверь водителя открыта при включенной передаче механической трансмиссии "multimode"*2 | Непрерывно издает звуковой сигнал | Вход | Шина прямой связи | Запрос включения зуммера предупреждения об открытой двери водителя при включенной передаче механической трансмиссии "multimode" | ЭБУ трансмиссии |
| Активная диагностика механической трансмиссии "multimode"*2 | Непрерывно издает звуковой сигнал | Вход | Шина прямой связи | Запрос включения зуммера активной диагностики механической трансмиссии "multimode" | ЭБУ трансмиссии |
| Предупреждение о температуре или о прекращении работы в режиме Crawl*3 | Издает прерывистый звуковой сигнал | Вход | CAN | Признак управления зуммером | Блок управления рабочими цилиндрами тормозов в сборе (ЭБУ системы противоскольжения) |
| Система помощи при подъеме по склону (сброс)*3 | Подает два звуковых сигнала | Вход | CAN | Признак управления зуммером | Блок управления рабочими цилиндрами тормозов в сборе (ЭБУ системы противоскольжения) |
| Система помощи при подъеме по склону (установка)*3 | Издается 1 звуковой сигнал | Вход | CAN | Признак управления зуммером | Блок управления рабочими цилиндрами тормозов в сборе (ЭБУ системы противоскольжения) |
| Система помощи при подъеме по склону (система исправна)*3 | Издает прерывистый звуковой сигнал | Вход | CAN | Признак управления зуммером | Блок управления рабочими цилиндрами тормозов в сборе (ЭБУ системы противоскольжения) |
| Система помощи при подъеме по склону (оповещение о завершении работы)*3 | Издает прерывистый звуковой сигнал | Вход | CAN | Признак управления зуммером | Блок управления рабочими цилиндрами тормозов в сборе (ЭБУ системы противоскольжения) |
| Предупреждение на мультиинформационном дисплее*8 | Издается 1 звуковой сигнал | Вход | CAN/линия прямой связи | Предупреждение мультиинформационного дисплея | Соответствующие ЭБУ |
| Завершение идентификации ключа иммобилайзера | Издается 1 звуковой сигнал | Вход | CAN | Завершение идентификации ключа иммобилайзера | ЭБУ сертификации (ЭБУ электронного ключа питания в сборе) |
| Предупреждение о движении с включенным стояночным тормозом | Издает прерывистый звуковой сигнал | Вход | CAN | Скорость автомобиля (SP1) | Блок управления рабочими цилиндрами тормозов в сборе (ЭБУ системы противоскольжения) |
| Выключатель стояночного тормоза в состоянии | Главный ЭБУ кузова (бортовой ЭБУ сети мультиплексной связи) | ||||
| Предупреждение о движении с неплотно закрытой дверью | Издает прерывистый звуковой сигнал | Вход | CAN | Выключатель освещения проема двери со стороны водителя | Главный ЭБУ кузова (бортовой ЭБУ сети мультиплексной связи) |
| Выключатель освещения проема двери переднего пассажира | |||||
| Выключатель освещения проема правой задней двери | |||||
| Выключатель освещения проема левой задней двери | |||||
| Выключатель освещения проема двери багажного отделения | |||||
| Скорость автомобиля (SP1) | Блок управления рабочими цилиндрами тормозов в сборе (ЭБУ системы противоскольжения) | ||||
| Отклонение переключения в спортивный режим*9 | Подает два звуковых сигнала | Вход | CAN | Зуммер блокировки | ECM |
| Отклонение переключения передачи механической трансмиссии "multimode"*2 | Подает два звуковых сигнала | Вход | Шина прямой связи | Запрос включения зуммера отклонения переключения передачи механической трансмиссии "multimode" | ЭБУ трансмиссии |
| Оповещение о невыключенном освещении | Непрерывно издает звуковой сигнал | Вход | CAN | Состояние системы освещения | Главный ЭБУ кузова (бортовой ЭБУ сети мультиплексной связи) |
| Выключатель освещения проема двери со стороны водителя | |||||
| Выключатель проблескового режима указателя поворота | Издает прерывистый звуковой сигнал | Вход | CAN | Запрос проблескового режима | Главный ЭБУ кузова (бортовой ЭБУ сети мультиплексной связи) |
| Признак мигающего режима аварийных ламп | Блок управления рабочими цилиндрами тормозов в сборе (ЭБУ системы противоскольжения)*3 | ||||
| Шина прямой связи | Сигнал переключателя левого указателя поворота | Переключатель ближнего/дальнего света фар в сборе | |||
| Сигнал переключателя правого указателя поворота | |||||
| Выключатель аварийной сигнализации | Выключатель аварийной сигнализации в сборе |
*1: для моделей с упрощенной интеллектуальной системой помощи при парковке
*2: для моделей с механической трансмиссией "multimode"
*3: для моделей с VSC
*4: для моделей с системой запуска и останова
*5: для моделей с функцией предупреждения о непристегнутых ремнях безопасности задних сидений
*6: для моделей с системой посадки и запуска
*7: для моделей без системы посадки и запуска
*8: для моделей с жидкокристаллическим мультиинформационным дисплеем растрового типа
*9: для моделей с бесступенчатой трансмиссией
*10: для моделей с левосторонним рулевым управлением
*11: для моделей с правосторонним рулевым управлением
Прочие
| Параметр / Устройство | Условие | Вход/выход | CAN/линия прямой связи | Сигнал | Устройство |
|---|---|---|---|---|---|
| Индикатор предупреждения о непристегнутом ремне безопасности заднего сиденья* | - | Вход | CAN | Выключатель освещения проема правой задней двери | Главный ЭБУ кузова (бортовой ЭБУ сети мультиплексной связи) |
| Выключатель освещения проема левой задней двери | |||||
| Коэффициент использования блокировки дверей | |||||
| Скорость автомобиля (SP1) | Блок управления рабочими цилиндрами тормозов в сборе (ЭБУ системы противоскольжения) | ||||
| Шина прямой связи | Выключатель пряжки ремня безопасности правого заднего сиденья | Правый замок ремня безопасности заднего сиденья с центральным ремнем в сборе | |||
| Выключатель пряжки ремня безопасности левого заднего сиденья | Левый замок ремня безопасности заднего сиденья с центральным ремнем в сборе | ||||
| Выключатель пряжки ремня безопасности центрального заднего сиденья | |||||
| Загорается | Выход | Шина прямой связи | Выключатель пряжки ремня безопасности правого заднего сиденья | Сигнальная лампа в сборе | |
| Выключатель пряжки ремня безопасности левого заднего сиденья | |||||
| Выключатель пряжки ремня безопасности центрального заднего сиденья |
*: для моделей с функцией предупреждения о непристегнутых ремнях безопасности задних сидений
БЛОК-СХЕМА ЖИДКОКРИСТАЛЛИЧЕСКОГО МУЛЬТИИНФОРМАЦИОННОГО ДИСПЛЕЯ РАСТРОВОГО ТИПА
Блок-схема жидкокристаллического мультиинформационного дисплея растрового типа
| *a | Условия выполняются. | *b | Условия не выполняются. |
| *c | Выбор экрана или параметры с помощью кнопки DISP. | *d | При выдаче нескольких запросов на индикацию информация отображается последовательно. |
| *e | В течение некоторого времени после выключения зажигания отображаются показания одометра. | - | - |
ОПИСАНИЕ ПРЕДУПРЕЖДАЮЩЕЙ ИНДИКАЦИИ
| Приоритет | Название системы / (функция автомобиля) | Главная контрольная лампа аварийного состояния ●: Загорается ○: Мигает |
Buzzer (*1) | Дисплей | Уровень |
|---|---|---|---|---|---|
| 1 | Упрощенная интеллектуальная система помощи при парковке | - | * | IPA CANCELED, TAKE OVER, CHECK IPA (система IPA отключена, примите управление, проверьте систему IPA) | Рекомендация |
| - | * | IPA CANCELED, TAKE OVER (система IPA отключена, примите управление) | Рекомендация | ||
| - | * | IPA SLOT NOT DETECTED, SPEED TOO HIGH (место для парковки не обнаружено, скорость слишком высока) | Рекомендация | ||
| - | * | IPA CANCELED, TAKE OVER, SPEED TOO HIGH (система IPA отключена, примите управление, скорость слишком высока) | Рекомендация | ||
| - | * | IPA CANCELED, TAKE OVER, DRIVER INTERVENED (система IPA отключена, примите управление, вмешательство водителя) | Рекомендация | ||
| - | * | IPA CANCELED, TAKE OVER, TRC/VSC IS OFF (система IPA отключена, примите управление, система TRC/VSC отключена) | Рекомендация | ||
| - | * | IPA CANCELED, TAKE OVER, TRC/ABS/VSC ACTIVATED (система IPA отключена, примите управление, система TRC/АБС/VSC включена) | Рекомендация | ||
| - | * | IPA CANCELED, TAKE OVER, TIMEOUT (система IPA отключена, примите управление, тайм-аут) | Рекомендация | ||
| - | * | IPA NOT AVAILABLE, SPEED TOO HIGH (система IPA недоступна, скорость слишком высока) | Рекомендация | ||
| - | * | IPA NOT AVAILABLE, TRC/VSC IS OFF (система IPA недоступна, система TRC/VSC отключена) | Рекомендация | ||
| - | * | CHECK IPA (проверьте систему IPA) | Рекомендация | ||
| - | * | IPA NOT AVAILABLE (система IPA недоступна) | Рекомендация | ||
| - | * | IPA NOT AVAILABLE, STOP THE VEHICLE, TURN WHEEL FROM LEFT END TO RIGHT END (система IPA недоступна, остановите автомобиль, поверните колесо из крайнего левого в крайнее правое положение) | Рекомендация | ||
| - | * | MEMORY ERROR (ошибка памяти) | Рекомендация | ||
| - | * | WRITE ZERO-POINT OF STEERING ANGLE (запись точки "нуля" угла поворота рулевого колеса) | Рекомендация | ||
| - | * | WRITE MAXIMUM STEERING ANGLE (запись максимального угла поворота рулевого колеса) | Рекомендация | ||
| - | * | END OF ADJUSTMENT (конец регулировки) | Рекомендация | ||
| 2 | (Предупреждение о состоянии всех дверей (автомобиль движется)) | - | * | Each door ajar (Все двери неплотно закрыты) | Caution (предостережение) |
| (Предупреждение о состоянии всех дверей (автомобиль неподвижен)) | - | - | Each door ajar (Все двери неплотно закрыты) | Caution (предостережение) | |
| Сенсорная система помощи при парковке TOYOTA | - | - | Индикатор обнаружения объекта системой ультразвуковой локации | Caution (предостережение) | |
| ● | ○ | CHECK SONAR SYSTEM (проверьте систему ультразвуковой локации) | Caution (предостережение) | ||
| Упрощенная интеллектуальная система помощи при парковке | - | * | Индикатор управления IPA | Рекомендация | |
| - | * | ПРОВЕРЬТЕ ОКРУЖАЮЩИЕ УСЛОВИЯ | Рекомендация | ||
| Упрощенная интеллектуальная система помощи при парковке | - | * | IPA FINISHED, TAKE OVER (система IPA завершила работу, примите управление) | Рекомендация | |
| 3 | Система посадки и запуска | - | - | AUTO POWER OFF TO CONSERVE BATTERY (автоматическое выключение питания для экономии энергии аккумуляторной батареи) | Caution (предостережение) |
| 4 | Система посадки и запуска | ○ | * | SHIFT TO P POSITION (переключитесь в положение P) | Caution (предостережение) |
| 5 | (Стояночный тормоз) | ○ | - | RELEASE PARKING BRAKE (ОТПУСТИТЕ СТОЯНОЧНЫЙ ТОРМОЗ) | Caution (предостережение) |
| Система посадки и запуска | - | - | KEY NOT DETECTED (ключ не обнаружен) | Caution (предостережение) | |
| 6 | Система посадки и запуска | ○ | * | CHECK ENTRY & START SYSTEM (ПРОВЕРЬТЕ СИСТЕМУ ПОСАДКИ И ЗАПУСКА) | Caution (предостережение) |
| 7 | Система зарядки | - | - | Charge warning (Battery symbol) (предупреждение о зарядке (символ аккумуляторной батареи)) | Caution (предостережение) |
| 8 | Система круиз-контроля | ● | ○ | CHECK CRUISE CONTROL SYSTEM (проверьте систему круиз-контроля) | Caution (предостережение) |
| Система ограничителя скорости | ● | ○ | CHECK SPEED LIMITER SYSTEM (проверьте систему ограничения скорости) | Caution (предостережение) | |
| (Контактный датчик давления моторного масла) | - | - | Engine oil pressure low (Engine oil pressure low symbol) (низкое давление моторного масла (символ низкого давления моторного масла)) | Caution (предостережение) | |
| 9 | Система посадки и запуска | ○ | * | TURN POWER OFF (выключите питание) | Caution (предостережение) |
| ○ | ○ | KEY DETECTED IN VEHICLE (в автомобиле обнаружен ключ) | Caution (предостережение) | ||
| Система освещения | ○ | * | TURN LIGHTS OFF (выключите освещение) | Caution (предостережение) | |
| Система посадки и запуска | ○ | * | DEPRESS BRAKE PEDAL, TOUCH ENGINE SWITCH WITH KEY (нажмите педаль сцепления, приложите ключ к выключателю зажигания) | Caution (предостережение) | |
| ○ | * | DEPRESS CLUTCH PEDAL, TOUCH ENGINE SWITCH WITH KEY (НАЖМИТЕ ПЕДАЛЬ СЦЕПЛЕНИЯ, ПРИЛОЖИТЕ КЛЮЧ К ВЫКЛЮЧАТЕЛЮ ЗАЖИГАНИЯ) | Caution (предостережение) | ||
| ○ | * | DEPRESS BRAKE PEDAL AND PUSH ENGINE SWITCH TO START (нажмите педаль тормоза, а затем нажмите на выключатель зажигания для запуска двигателя) | Caution (предостережение) | ||
| ○ | * | DEPRESS CLUTCH PEDAL AND PUSH ENGINE SWITCH TO START (НАЖМИТЕ ПЕДАЛЬ СЦЕПЛЕНИЯ, А ЗАТЕМ НАЖМИТЕ НА ВЫКЛЮЧАТЕЛЬ ЗАЖИГАНИЯ ДЛЯ ЗАПУСКА ДВИГАТЕЛЯ) | Caution (предостережение) | ||
| ○ | ○ | SHIFT TO P POSITION TO START (переключитесь в положение P для запуска двигателя) | Caution (предостережение) | ||
| ○ | ○ | SHIFT TO N POSITION TO START (переключитесь в положение N для запуска двигателя) | Caution (предостережение) | ||
| 10 | Система блокировки рулевого управления | ○ | - | STEERING LOCK ACTIVE (блокировка рулевого управления включена) | Caution (предостережение) |
| 11 | Система посадки и запуска | ● | * | KEY BATTERY LOW (батарея ключа разряжена) | Caution (предостережение) |
| Топливная система | ● | ○/* | DRAIN WATER FROM FUEL FILTER (слейте воду из топливного фильтра) | Caution (предостережение) | |
| (Датчик уровня моторного масла) | ● | ○ | ENGINE OIL LOW (низкий уровень моторного масла) | Caution (предостережение) | |
| Система автоматического включения дальнего света | ● | ○ | CHECK AHB SYSTEM (проверьте систему AHB) | Caution (предостережение) | |
| (DPF) | ● | - | DPF FULL ENGINE SERVICE REQUIRED (сажевый фильтр забит, двигатель нуждается в обслуживании) | Caution (предостережение) | |
| 12 | Система измерительных приборов и индикаторов | - | - | OIL MAINTENANCE REQUIRED SOON (замена моторного масла потребуется в самое ближайшее время) | Рекомендация |
| - | - | OIL MAINTENANCE REQUIRED (требуется замена моторного масла) | Рекомендация | ||
| - | - | RESETTING OIL MAINTENANCE DATA (сброс данных о замене масла) | Рекомендация | ||
| - | - | RESETING OF OIL MAINTENANCE DATA INCOMPLETE (сброс данных о замене моторного масла не завершен) | Рекомендация | ||
| Система посадки и запуска | - | - | POWER ON (питание включено) | Caution (предостережение) | |
| - | - | Engine start possible condition (Smart key symbol) (запуск двигателя возможен (символ электронного ключа зажигания)) | Caution (предостережение) | ||
| (DPF) | - | - | DPF FULL SEE OWNER'S MANUAL (сажевый фильтр забит, см. руководство) | Рекомендация | |
| - | - | DPF MANUAL REGENERATION IN PROCESS (выполняется регенерация DPF в ручном режиме) | Рекомендация |
*: Специализированный зуммер издает звуковой сигнал в зависимости от состояния
*1: Зуммеры, связанные с главной контрольной лампой аварийного состояния
ОТОБРАЖЕНИЕ ПРЕДУПРЕЖДЕНИЙ
Ниже показаны все предупреждающие сообщения для жидкокристаллического мультиинформационного дисплея растрового типа.
Tech Tips
Экраны на рисунках могут отличаться от экранов, отображаемых в конкретном автомобиле, из-за различия технических характеристик автомобилей.