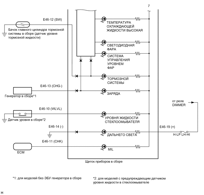
СИСТЕМА ИЗМЕРИТЕЛЬНЫХ ПРИБОРОВ И ИНДИКАТОРОВ СХЕМА СИСТЕМЫ


  1. Щиток приборов (жидкокристаллический мультиинформационный дисплей сегментного типа)

    A01TA2LE12
    A01TBIZE03
    A01TAS2E02
    A01TB5LE01
    A01TD4EE01
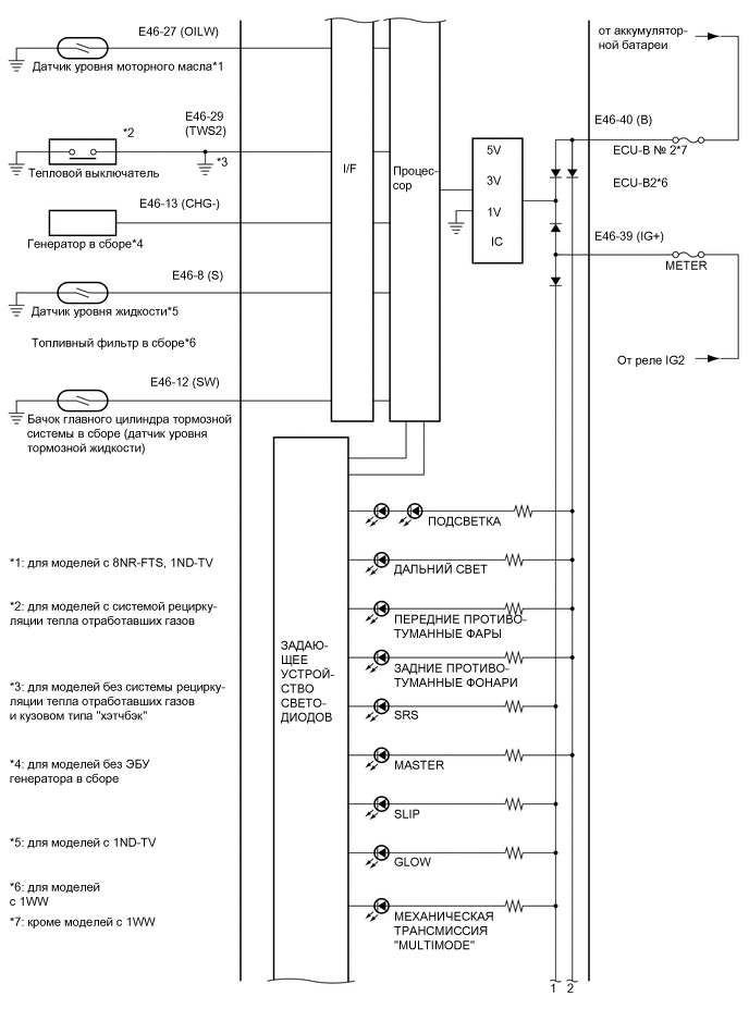
  2. Щиток приборов (мультиинформационный дисплей (цветной))

    A01TCKUE01
    A01TDT3E01
    A01TB1UE01
    A01TCERE01