АВАРИЙНАЯ СИРЕНА В СБОРЕ ПРОВЕРКА

ПОРЯДОК ВЫПОЛНЕНИЯ


  1. ПРОВЕРЬТЕ АВАРИЙНУЮ СИРЕНУ В СБОРЕ


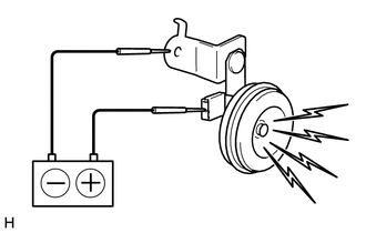
    1. A00YA6E

      Проверьте работу аварийной сирены в сборе.

      OK
      Подключение аккумуляторной батареи Заданные условия

      Положительный (+) вывод аккумуляторной батареи → контакт 1

      Отрицательный (-) вывод аккумуляторной батареи → корпус аварийной сирены

      Звуковой сигнал функционирует

      Если результат проверки не отвечает требованиям, замените аварийную сирену в сборе.