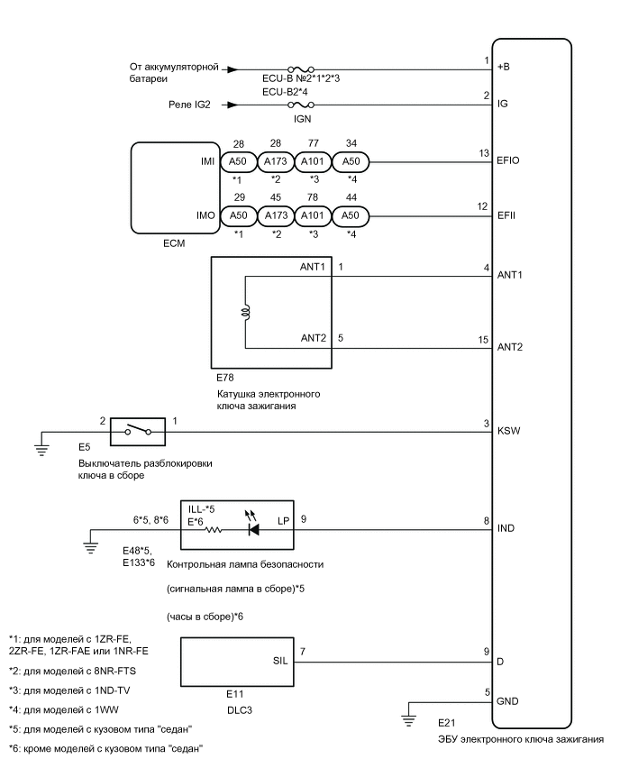
СИСТЕМА ИММОБИЛАЙЗЕРА (для моделей без системы посадки и запуска) СХЕМА СИСТЕМЫ

A01LVBVE02