TIRE PRESSURE WARNING SYSTEM, Diagnostic DTC:C2177/77

DTC Code DTC Name
C2177/77 Initialization not Completed

DESCRIPTION

Initialization is necessary if one of the following occurs:


DTC No. Detection Item DTC Detection Condition Trouble Area Note
C2177/77 Initialization not Completed

All conditions below are met:


  • During initialization

  • Tire pressure warning valve and transmitter is not in stop mode

  • Signal is not received from tire pressure warning valve and transmitter for 20 minutes or more

  • Vehicle speed is more than 37 km/h (23 mph) for 20 minutes or more


  • Tire pressure warning valve and transmitter

  • Wire harness or connector

  • Tire pressure warning ECU and receiver

-

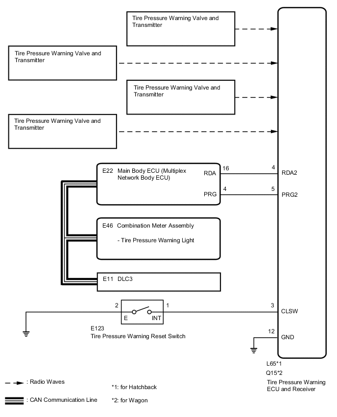
WIRING DIAGRAM

A01G2JRE09

CAUTION / NOTICE / HINT

Note


  • When replacing the tire pressure warning ECU and receiver, read the transmitter IDs stored in the old ECU using the GTS and write them down before removal.

  • It is necessary to perform initialization after registration Click here of the transmitter IDs into the tire pressure warning ECU and receiver if the ECU and/or one of the valve and transmitters has been replaced.

PROCEDURE


  1. CHECK FREQUENCY RECEIVING CONDITION


    1. Check that the following conditions are not met:


      1. Facilities or devices that use similar radio frequencies are located in the vicinity of the vehicle.

        Tech Tips

        If the vehicle is located in an area such as the one described above, the tire pressure warning light may illuminate after blinking for 1 minute due to interfering radio frequencies.

      2. Devices using similar radio frequencies are used in the vehicle.

        OK
        Facilities or devices that use similar radio frequencies are not located in the vicinity of the vehicle.

        Tech Tips

        Radio transmissions may be interrupted due to the surroundings, or devices installed by the user.

      Result
      Proceed to
      OK
      NG

    NG
    OK
  2. PERFORM INITIALIZATION


    1. Perform initialization.

      Click here

      Result
      Proceed to
      NEXT

    NEXT
  3. CONFIRM TIRE INFLATION PRESSURE (DATA LIST)


    1. Turn the power switch off.

    2. Connect the GTS to the DLC3.

    3. Turn the power switch on (IG).

    4. Turn the GTS on.

    5. Enter the following menus: Chassis / Tire Pressure Monitor / Data List.

    6. Check the values by referring to the table below.


      Chassis > Tire Pressure Monitor > Data List
      Tester Display Measurement Item Range Normal Condition Diagnostic Note
      ID 1 Tire Inflation Pressure ID1 tire inflation pressure

      min.: Absolute pressure (abs) / 0 kPa (0 kgf/cm2, 0 psi), Relative pressure (Gauge) / 0 kPa (0 kgf/cm2, 0 psi)

      max.: Absolute pressure (abs) / 480 kPa (4.9 kgf/cm2, 70 psi), Relative pressure (Gauge) / 380 kPa (3.9 kgf/cm2, 55 psi)

      Actual tire inflation pressure If N/A is displayed, data has not been received.*1
      ID 2 Tire Inflation Pressure ID2 tire inflation pressure

      min.: Absolute pressure (abs) / 0 kPa (0 kgf/cm2, 0 psi), Relative pressure (Gauge) / 0 kPa (0 kgf/cm2, 0 psi)

      max.: Absolute pressure (abs) / 480 kPa (4.9 kgf/cm2, 70 psi), Relative pressure (Gauge) / 380 kPa (3.9 kgf/cm2, 55 psi)

      Actual tire inflation pressure If N/A is displayed, data has not been received.*1
      ID 3 Tire Inflation Pressure ID3 Tire Inflation Pressure

      min.: Absolute pressure (abs) / 0 kPa (0 kgf/cm2, 0 psi), Relative pressure (Gauge) / 0 kPa (0 kgf/cm2, 0 psi)

      max.: Absolute pressure (abs) / 480 kPa (4.9 kgf/cm2, 70 psi), Relative pressure (Gauge) / 380 kPa (3.9 kgf/cm2, 55 psi)

      Actual tire inflation pressure If N/A is displayed, data has not been received.*1
      ID 4 Tire Inflation Pressure ID4 Tire Inflation Pressure

      min.: Absolute pressure (abs) / 0 kPa (0 kgf/cm2, 0 psi), Relative pressure (Gauge) / 0 kPa (0 kgf/cm2, 0 psi)

      max.: Absolute pressure (abs) / 480 kPa (4.9 kgf/cm2, 70 psi), Relative pressure (Gauge) / 380 kPa (3.9 kgf/cm2, 55 psi)

      Actual tire inflation pressure If N/A is displayed, data has not been received.*1

      Chassis > Tire Pressure Monitor > Data List
      Tester Display
      ID 1 Tire Inflation Pressure
      ID 2 Tire Inflation Pressure
      ID 3 Tire Inflation Pressure
      ID 4 Tire Inflation Pressure

      Tech Tips


      • *1: It may take a few minutes until the values are displayed.

      • When an "ID Tire Inflation Pressure" value has not changed, reset the tire pressure to the appropriate specified value and rotate the tire 90 to 270 degrees. Then rapidly release the tire pressure and recheck the value.

      Result
      Result Proceed to
      All tire pressure readings are equal to specified values. A
      Tire pressure values are not displayed. B

    A
    B