СИСТЕМА ПРЕДУПРЕЖДЕНИЯ О НЕПРИСТЕГНУТОМ РЕМНЕ БЕЗОПАСНОСТИ Неисправность контрольной лампы ремней безопасности задних сидений

ОПИСАНИЕ

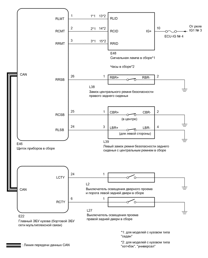
Главный ЭБУ кузова (бортовой ЭБУ сети мультиплексной связи) определяет, открыта или закрыта какая-либо задняя дверь, исходя из состояния выключателей освещения проемов левой и правой дверей, а затем передает сигнал состояния задней двери в щиток приборов в сборе. Щиток приборов определяет состояние ремня безопасности заднего сиденья. Контрольные лампы ремней безопасности задних сидений на сигнальной лампа в сборе*1 или часах в сборе*2 загораются и гаснут в соответствии с состоянием задних дверей, скоростью автомобиля и состоянием ремней безопасности задних сидений.


СХЕМА СОЕДИНЕНИЙ

B0042S4E07

ПРЕДОСТЕРЕЖЕНИЕ / ПРИМЕЧАНИЕ / УКАЗАНИЕ

Note


  • Система предупреждения о непристегнутом ремне безопасности использует систему передачи данных CAN. Прежде всего, убедитесь в отсутствии неисправностей в системе передачи данных CAN. См. раздел "Порядок поиска неисправностей".

    Нажмите здесь Click here

  • Перед выполнением последующей процедуры проверки проверьте плавкие предохранители цепей, относящихся к данной системе.

ПОРЯДОК ВЫПОЛНЕНИЯ


  1. СНИМИТЕ ПОКАЗАНИЯ GTS (ВЫКЛЮЧАТЕЛЬ ОСВЕЩЕНИЯ ПРОЕМА ЗАДНЕЙ ДВЕРИ)


    1. Подключите GTS к DLC3.

    2. Установите замок зажигания в положение ON (ВКЛ).

    3. Включите GTS.

    4. Войдите в следующие меню: Body Electrical / Main Body / Data List.

    5. Снимите показания с дисплея GTS в режиме DATA LIST.


      Body Electrical > Main Body > Data List
      Информация на дисплее прибора Измеряемая величина Диапазон Нормальное состояние Замечание по диагностике
      RR Door Courtesy SW Выключатель освещения проема правой задней двери ON (ВКЛ) или OFF (ВЫКЛ)

      ON (ВКЛ): Правая задняя дверь открыта

      OFF (ВЫКЛ): Правая задняя дверь закрыта

      -
      RL Door Courtesy SW Выключатель освещения проема задней двери в сборе (для левой двери) ON (ВКЛ) или OFF (ВЫКЛ)

      ON (ВКЛ): Левая задняя дверь открыта

      OFF (ВЫКЛ): Левая задняя дверь закрыта

      -

      Body Electrical > Main Body > Data List
      Информация на дисплее прибора
      RR Door Courtesy SW
      RL Door Courtesy SW
      OK
      Информация на экране GTS изменяется точно в соответствии с состоянием задней двери.
      Результат
      Перейти к
      OK (для моделей с кузовом типа "седан") А
      OK (для моделей с кузовом типа "хэтчбэк", "универсал") B
      NG C

    B
    C
    А
  2. ПРОВЕРЬТЕ ПРЕДУПРЕЖДЕНИЕ О НЕПРИСТЕГНУТОМ РЕМНЕ БЕЗОПАСНОСТИ ЗАДНЕГО СИДЕНЬЯ


    1. B00451YC01
      *1 Контрольная лампа ремней безопасности задних сидений (сигнальная лампа в сборе)
      *a Левая сторона
      *b Центр
      *c Правая сторона

      Проверьте работу функции предупреждения о непристегнутых ремнях безопасности передних сидений.

      Результат
      Результат Следующий шаг
      Контрольные лампы ремней безопасности задних сидений работают нормально А
      Контрольные лампы ремней безопасности сидений (всех) не работают надлежащим образом B
      Контрольная лампа ремня безопасности заднего сиденья (правого) не работает надлежащим образом C
      Контрольная лампа ремня безопасности заднего сиденья (центрального) не работает надлежащим образом D
      Контрольная лампа ремня безопасности заднего сиденья (левого) не работает надлежащим образом E

    А
    C
    D
    E
    B
  3. ВЫПОЛНИТЕ АКТИВНУЮ ДИАГНОСТИКУ С ПОМОЩЬЮ GTS (REAR SEAT BELT WARNING LIGHT)


    1. Подключите GTS к DLC3.

    2. Установите замок зажигания в положение ON (ВКЛ).

    3. Включите GTS.

    4. Войдите в следующие меню: Body Electrical / Combination Meter / Active Test.

    5. Выполните диагностику в режиме ACTIVE TEST в соответствии с указаниями на дисплее GTS.


      Body Electrical > Combination Meter > Active Test
      Информация на дисплее прибора Измеряемая величина Диапазон регулирования Замечание по диагностике
      Rear Seat Belt Контрольная лампа ремня безопасности заднего сиденья OFF (ВЫКЛ) / ON (ВКЛ) -

      Body Electrical > Combination Meter > Active Test
      Информация на дисплее прибора
      Rear Seat Belt
      Результат
      Результат Перейти К
      Контрольные лампы ремней безопасности сидений не работают надлежащим образом А
      Контрольные лампы ремней безопасности задних сидений работают нормально B

    B
    А
  4. ПРОВЕРЬТЕ ЖГУТ ПРОВОДОВ И РАЗЪЕМ (АККУМУЛЯТОРНАЯ БАТАРЕЯ - СИГНАЛЬНАЯ ЛАМПА В СБОРЕ)


    1. Отсоедините разъем E48 сигнальной лампы в сборе.

    2. Измерьте напряжение в соответствии со значениями, приведенными в таблице.

      Номинальное напряжение
      Подключение диагностического прибора Условие Заданные условия
      E48-10 (IG+) - масса Зажигание включено 11 - 14 В
      Результат
      Следующий шаг
      OK
      NG

    NG
    OK
  5. ПРОВЕРЬТЕ ЖГУТ ПРОВОДОВ И РАЗЪЕМ (СИГНАЛЬНАЯ ЛАМПА В СБОРЕ - ЩИТОК ПРИБОРОВ)


    1. Подсоедините разъем E48 сигнальной лампы в сборе.

    2. Отсоедините разъем E46 щитка приборов в сборе.

    3. Измерьте напряжение в соответствии со значениями, приведенными в таблице.

      Номинальное напряжение
      Подключение диагностического прибора Условие Заданные условия
      E46-1 (RLMT) - масса Зажигание включено 11 - 14 В
      E46-2 (RCMT) - масса Зажигание включено 11 - 14 В
      E46-3 (RRMT) - масса Зажигание включено 11 - 14 В
      Результат
      Следующий шаг
      OK
      NG

    OK
    NG
  6. СНИМИТЕ ПОКАЗАНИЯ GTS (ДЛЯ ВЫКЛЮЧАТЕЛЯ ПРЯЖКИ ПРАВОГО ЗАДНЕГО РЕМНЯ БЕЗОПАСНОСТИ)


    1. Подключите GTS к DLC3.

    2. Установите замок зажигания в положение ON (ВКЛ).

    3. Включите GTS.

    4. Войдите в следующие меню: Body Electrical / Combination Meter / Data List.

    5. Снимите показания с дисплея GTS в режиме DATA LIST.


      Body Electrical > Combination Meter > Data List
      Информация на дисплее прибора Измеряемая величина Диапазон Нормальное состояние Замечание по диагностике
      2nd-Row Seatbelt Buckle (R) Сигнал выключателя пряжки правого ремня безопасности заднего сиденья ON (ВКЛ) или OFF (ВЫКЛ)

      OFF (ВЫКЛ): Ремень безопасности правого заднего сиденья пристегнут

      ON (ВКЛ): Правый ремень безопасности заднего сиденья не пристегнут

      -

      Body Electrical > Combination Meter > Data List
      Информация на дисплее прибора
      2nd-Row Seatbelt Buckle (R)
      Результат
      Результат Следующий шаг
      Значения ON (ВКЛ) и OFF (ВЫКЛ), отображаемые на экране GTS, не соответствуют состоянию ремня безопасности заднего сиденья А
      На дисплее GTS в зависимости от состояния ремня безопасности заднего сиденья отображается "ON (ВКЛ)" или "OFF (ВЫКЛ)". B

    B
    А
  7. ПРОВЕРЬТЕ ЖГУТ ПРОВОДОВ И РАЗЪЕМ (ЩИТОК ПРИБОРОВ В СБОРЕ - ЗАМОК РЕМНЯ БЕЗОПАСНОСТИ ПРАВОГО ЗАДНЕГО СИДЕНЬЯ С ЦЕНТРАЛЬНЫМ РЕМНЕМ В СБОРЕ - МАССА)


    1. Отсоедините разъем E46 щитка приборов в сборе.

    2. Отсоедините разъем L38 замка правого ремня безопасности заднего сиденья с центральным ремнем в сборе.

    3. Измерьте сопротивление в соответствии со значениями, приведенными в таблице ниже.

      Номинальное сопротивление
      Подключение диагностического прибора Условие Заданные условия
      E46-26 (RRSB) - L38-1 (RBR+) Всегда Менее 1 Ом
      E46-26 (RRSB) - масса Всегда 10 кОм или более
      L38-2 (RBR-) - масса Всегда Менее 1 Ом
      Результат
      Перейти к
      OK
      NG

    OK
    NG
  8. ВЫПОЛНИТЕ АКТИВНУЮ ДИАГНОСТИКУ С ПОМОЩЬЮ GTS (REAR SEAT BELT WARNING LIGHT)


    1. Подключите GTS к DLC3.

    2. Установите замок зажигания в положение ON (ВКЛ).

    3. Включите GTS.

    4. Войдите в следующие меню: Body Electrical / Combination Meter / Active Test.

    5. Выполните диагностику в режиме ACTIVE TEST в соответствии с указаниями на дисплее GTS.


      Body Electrical > Combination Meter > Active Test
      Информация на дисплее прибора Измеряемая величина Диапазон регулирования Замечание по диагностике
      Rear Seat Belt Контрольная лампа ремня безопасности заднего сиденья OFF (ВЫКЛ) / ON (ВКЛ) -

      Body Electrical > Combination Meter > Active Test
      Информация на дисплее прибора
      Rear Seat Belt
      Результат
      Результат Перейти к
      Контрольная лампа ремня безопасности заднего сиденья не работает надлежащим образом А
      Контрольная лампа ремня безопасности заднего сиденья работает нормально. B

    B
    А
  9. ПРОВЕРЬТЕ ЖГУТ ПРОВОДОВ И РАЗЪЕМ (СИГНАЛЬНАЯ ЛАМПА В СБОРЕ - ЩИТОК ПРИБОРОВ)


    1. Отсоедините разъем E46 щитка приборов в сборе.

    2. Отсоедините разъем E48 сигнальной лампы в сборе.

    3. Измерьте сопротивление в соответствии со значениями, приведенными в таблице ниже.

      Номинальное сопротивление
      Подключение диагностического прибора Условие Заданные условия
      E46-3 (RRMT) - E48-3 (RRID) Всегда Менее 1 Ом
      E46-3 (RRMT) - масса Всегда 10 кОм или более
      Результат
      Перейти к
      OK
      NG

    OK
    NG
  10. СНИМИТЕ ПОКАЗАНИЯ GTS (ДЛЯ ВЫКЛЮЧАТЕЛЯ ПРЯЖКИ ЦЕНТРАЛЬНОГО ЗАДНЕГО РЕМНЯ БЕЗОПАСНОСТИ)


    1. Подключите GTS к DLC3.

    2. Установите замок зажигания в положение ON (ВКЛ).

    3. Включите GTS.

    4. Войдите в следующие меню: Body Electrical / Combination Meter / Data List.

    5. Снимите показания с дисплея GTS в режиме DATA LIST.


      Body Electrical > Combination Meter > Data List
      Информация на дисплее прибора Измеряемая величина Диапазон Нормальное состояние Замечание по диагностике
      2nd-Row Seatbelt Buckle (C) Сигнал выключателя пряжки центрального ремня безопасности заднего сиденья ON (ВКЛ) или OFF (ВЫКЛ)

      OFF (ВЫКЛ): Центральный ремень безопасности заднего сиденья пристегнут

      ON (ВКЛ): Центральный ремень безопасности заднего сиденья не пристегнут

      -

      Body Electrical > Combination Meter > Data List
      Информация на дисплее прибора
      2nd-Row Seatbelt Buckle (C)
      Результат
      Результат Перейти к
      Значения ON (ВКЛ) и OFF (ВЫКЛ), отображаемые на экране GTS, не соответствуют состоянию ремня безопасности заднего сиденья А
      На дисплее GTS в зависимости от состояния ремня безопасности заднего сиденья отображается "ON (ВКЛ)" или "OFF (ВЫКЛ)". B

    B
    А
  11. ПРОВЕРЬТЕ ЖГУТ ПРОВОДОВ И РАЗЪЕМ (ЩИТОК ПРИБОРОВ В СБОРЕ - ЗАМОК РЕМНЯ БЕЗОПАСНОСТИ ЛЕВОГО ЗАДНЕГО СИДЕНЬЯ С ЦЕНТРАЛЬНЫМ РЕМНЕМ В СБОРЕ (ДЛЯ ЦЕНТРАЛЬНОГО) - МАССА)


    1. Отсоедините разъем E46 щитка приборов в сборе.

    2. Отсоедините разъем L39 замка левого ремня безопасности заднего сиденья с центральным ремнем в сборе.

    3. Измерьте сопротивление в соответствии со значениями, приведенными в таблице ниже.

      Номинальное сопротивление
      Подключение диагностического прибора Условие Заданные условия
      E46-25 (RCSB) - L39-1 (CBR+) Всегда Менее 1 Ом
      E46-25 (RCSB) - масса Всегда 10 кОм или более
      L39-2 (CBR-) - масса Всегда Менее 1 Ом
      Результат
      Следующий шаг
      OK
      NG

    OK
    NG
  12. ВЫПОЛНИТЕ АКТИВНУЮ ДИАГНОСТИКУ С ПОМОЩЬЮ GTS (REAR SEAT BELT WARNING LIGHT)


    1. Подключите GTS к DLC3.

    2. Установите замок зажигания в положение ON (ВКЛ).

    3. Включите GTS.

    4. Войдите в следующие меню: Body Electrical / Combination Meter / Active Test.

    5. Выполните диагностику в режиме ACTIVE TEST в соответствии с указаниями на дисплее GTS.


      Body Electrical > Combination Meter > Active Test
      Информация на дисплее прибора Измеряемая величина Диапазон регулирования Замечание по диагностике
      Rear Seat Belt Контрольная лампа ремня безопасности заднего сиденья OFF (ВЫКЛ) / ON (ВКЛ) -

      Body Electrical > Combination Meter > Active Test
      Информация на дисплее прибора
      Rear Seat Belt
      Результат
      Результат Перейти к
      Контрольная лампа ремня безопасности заднего сиденья не работает надлежащим образом A
      Контрольная лампа ремня безопасности заднего сиденья работает нормально. B

    B
    A
  13. ПРОВЕРЬТЕ ЖГУТ ПРОВОДОВ И РАЗЪЕМ (СИГНАЛЬНАЯ ЛАМПА В СБОРЕ - ЩИТОК ПРИБОРОВ)


    1. Отсоедините разъем E46 щитка приборов в сборе.

    2. Отсоедините разъем E48 сигнальной лампы в сборе.

    3. Измерьте сопротивление в соответствии со значениями, приведенными в таблице ниже.

      Номинальное сопротивление
      Подключение диагностического прибора Условие Заданные условия
      E46-2 (RCMT) - E48-2 (RCID) Всегда Менее 1 Ом
      E46-2 (RCMT) - масса Всегда 10 кОм или более
      Результат
      Перейти к
      OK
      NG

    OK
    NG
  14. СНИМИТЕ ПОКАЗАНИЯ GTS (ДЛЯ ВЫКЛЮЧАТЕЛЯ ПРЯЖКИ ЛЕВОГО ЗАДНЕГО РЕМНЯ БЕЗОПАСНОСТИ)


    1. Подключите GTS к DLC3.

    2. Установите замок зажигания в положение ON (ВКЛ).

    3. Включите GTS.

    4. Войдите в следующие меню: Body Electrical / Combination Meter / Data List.


      Body Electrical > Combination Meter > Data List
      Информация на дисплее прибора Измеряемая величина Диапазон Нормальное состояние Замечание по диагностике
      2nd-Row Seatbelt Buckle (L) Сигнал выключателя пряжки левого ремня безопасности заднего сиденья ON (ВКЛ) или OFF (ВЫКЛ)

      OFF (ВЫКЛ): Ремень безопасности левого заднего сиденья пристегнут

      ON (ВКЛ): Левый ремень безопасности заднего сиденья не пристегнут

      -

      Body Electrical > Combination Meter > Data List
      Информация на дисплее прибора
      2nd-Row Seatbelt Buckle (L)
    5. Снимите показания с дисплея GTS в режиме DATA LIST.

      Результат
      Результат Следующий шаг
      Значения ON (ВКЛ) и OFF (ВЫКЛ), отображаемые на экране GTS, не соответствуют состоянию ремня безопасности заднего сиденья А
      На дисплее GTS в зависимости от состояния ремня безопасности заднего сиденья отображается "ON (ВКЛ)" или "OFF (ВЫКЛ)". B

    B
    А
  15. ПРОВЕРЬТЕ ЖГУТ ПРОВОДОВ И РАЗЪЕМ (ЩИТОК ПРИБОРОВ В СБОРЕ - ЗАМОК РЕМНЯ БЕЗОПАСНОСТИ ЛЕВОГО ЗАДНЕГО СИДЕНЬЯ С ЦЕНТРАЛЬНЫМ РЕМНЕМ В СБОРЕ (ДЛЯ ЛЕВОГО) - МАССА)


    1. Отсоедините разъем E46 щитка приборов в сборе.

    2. Отсоедините разъем L39 замка левого ремня безопасности заднего сиденья с центральным ремнем в сборе.

    3. Измерьте сопротивление в соответствии со значениями, приведенными в таблице ниже.

      Номинальное сопротивление
      Подключение диагностического прибора Условие Заданные условия
      E46-24 (RLSB) - L39-3 (LBR+) Всегда Менее 1 Ом
      E46-24 (RLSB) - масса Всегда 10 кОм или более
      L39-4 (LBR-) - масса Всегда Менее 1 Ом
      Результат
      Следующий шаг
      OK
      NG

    OK
    NG
  16. ВЫПОЛНИТЕ АКТИВНУЮ ДИАГНОСТИКУ С ПОМОЩЬЮ GTS (REAR SEAT BELT WARNING LIGHT)


    1. Подключите GTS к DLC3.

    2. Установите замок зажигания в положение ON (ВКЛ).

    3. Включите GTS.

    4. Войдите в следующие меню: Body Electrical / Combination Meter / Active Test.

    5. Выполните диагностику в режиме ACTIVE TEST в соответствии с указаниями на дисплее GTS.


      Body Electrical > Combination Meter > Active Test
      Информация на дисплее прибора Измеряемая величина Диапазон регулирования Замечание по диагностике
      Rear Seat Belt Контрольная лампа ремня безопасности заднего сиденья OFF (ВЫКЛ) / ON (ВКЛ) -

      Body Electrical > Combination Meter > Active Test
      Информация на дисплее прибора
      Rear Seat Belt
      Результат
      Результат Перейти к
      Контрольная лампа ремня безопасности заднего сиденья не работает надлежащим образом А
      Контрольная лампа ремня безопасности заднего сиденья работает нормально. B

    B
    А
  17. ПРОВЕРЬТЕ ЖГУТ ПРОВОДОВ И РАЗЪЕМ (СИГНАЛЬНАЯ ЛАМПА В СБОРЕ - ЩИТОК ПРИБОРОВ)


    1. Отсоедините разъем E46 щитка приборов в сборе.

    2. Отсоедините разъем E48 сигнальной лампы в сборе.

    3. Измерьте сопротивление в соответствии со значениями, приведенными в таблице ниже.

      Номинальное сопротивление
      Подключение диагностического прибора Условие Заданные условия
      E46-1 (RLMT) - E48-1 (RLID) Всегда Менее 1 Ом
      E46-1 (RLMT) - масса Всегда 10 кОм или более
      Результат
      Перейти к
      OK
      NG

    OK
    NG
  18. ПРОВЕРЬТЕ ПРЕДУПРЕЖДЕНИЕ О НЕПРИСТЕГНУТОМ РЕМНЕ БЕЗОПАСНОСТИ ЗАДНЕГО СИДЕНЬЯ


    1. B00451YC01
      *1 Контрольная лампа ремней безопасности задних сидений (часы в сборе)
      *a Левая сторона
      *b Центр
      *c Правая сторона

      Проверьте работу функции предупреждения о непристегнутых ремнях безопасности передних сидений.

      Результат
      Результат Перейти к
      Контрольные лампы ремней безопасности задних сидений работают нормально А
      Контрольные лампы ремней безопасности сидений (всех) не работают надлежащим образом B
      Контрольная лампа ремня безопасности заднего сиденья (правого) не работает надлежащим образом C
      Контрольная лампа ремня безопасности заднего сиденья (центрального) не работает надлежащим образом D
      Контрольная лампа ремня безопасности заднего сиденья (левого) не работает надлежащим образом E

    А
    C
    D
    E
    B
  19. ВЫПОЛНИТЕ АКТИВНУЮ ДИАГНОСТИКУ С ПОМОЩЬЮ GTS (REAR SEAT BELT WARNING LIGHT)


    1. Подключите GTS к DLC3.

    2. Установите замок зажигания в положение ON (ВКЛ).

    3. Включите GTS.

    4. Войдите в следующие меню: Body Electrical / Combination Meter / Active Test.

    5. Выполните диагностику в режиме ACTIVE TEST в соответствии с указаниями на дисплее GTS.


      Body Electrical > Combination Meter > Active Test
      Информация на дисплее прибора Измеряемая величина Диапазон регулирования Замечание по диагностике
      Rear Seat Belt Контрольная лампа ремня безопасности заднего сиденья OFF (ВЫКЛ) / ON (ВКЛ) -

      Body Electrical > Combination Meter > Active Test
      Информация на дисплее прибора
      Rear Seat Belt
      Результат
      Результат Следующий шаг
      Контрольные лампы ремней безопасности сидений не работают надлежащим образом А
      Контрольные лампы ремней безопасности задних сидений работают нормально B

    B
    А
  20. ПРОВЕРЬТЕ ЖГУТ ПРОВОДОВ И РАЗЪЕМ (АККУМУЛЯТОРНАЯ БАТАРЕЯ - ЧАСЫ В СБОРЕ)


    1. Отсоедините разъем E48 часов в сборе.

    2. Измерьте напряжение в соответствии со значениями, приведенными в таблице.

      Номинальное напряжение
      Подключение диагностического прибора Условие Заданные условия
      E48-10 (IG+) - масса Зажигание включено 11-14 В
      Результат
      Перейти к
      OK
      NG

    NG
    OK
  21. ПРОВЕРЬТЕ ЖГУТ ПРОВОДОВ И РАЗЪЕМ (ЧАСЫ В СБОРЕ - ЩИТОК ПРИБОРОВ В СБОРЕ)


    1. Подсоедините разъем E48 часов в сборе.

    2. Отсоедините разъем E46 щитка приборов в сборе.

    3. Измерьте напряжение в соответствии со значениями, приведенными в таблице.

      Номинальное напряжение
      Подключение диагностического прибора Условие Заданные условия
      E46-1 (RLMT) - масса Зажигание включено 11-14 В
      E46-2 (RCMT) - масса Зажигание включено 11-14 В
      E46-3 (RRMT) - масса Зажигание включено 11-14 В
      Результат
      Следующий шаг
      OK
      NG

    OK
    NG
  22. СНИМИТЕ ПОКАЗАНИЯ GTS (ДЛЯ ВЫКЛЮЧАТЕЛЯ ПРЯЖКИ ПРАВОГО ЗАДНЕГО РЕМНЯ БЕЗОПАСНОСТИ)


    1. Подключите GTS к DLC3.

    2. Установите замок зажигания в положение ON (ВКЛ).

    3. Включите GTS.

    4. Войдите в следующие меню: Body Electrical / Combination Meter / Data List.

    5. Снимите показания с дисплея GTS в режиме DATA LIST.


      Body Electrical > Combination Meter > Data List
      Информация на дисплее прибора Измеряемая величина Диапазон Нормальное состояние Замечание по диагностике
      2nd-Row Seatbelt Buckle (R) Сигнал выключателя пряжки правого ремня безопасности заднего сиденья ON (ВКЛ) или OFF (ВЫКЛ)

      ON (ВКЛ): Ремень безопасности правого заднего сиденья пристегнут

      OFF (ВЫКЛ): Правый ремень безопасности заднего сиденья не пристегнут

      -

      Body Electrical > Combination Meter > Data List
      Информация на дисплее прибора
      2nd-Row Seatbelt Buckle (R)
      Результат
      Результат Перейти к
      Значения ON (ВКЛ) и OFF (ВЫКЛ), отображаемые на экране GTS, не соответствуют состоянию ремня безопасности заднего сиденья А
      На дисплее GTS в зависимости от состояния ремня безопасности заднего сиденья отображается "ON (ВКЛ)" или "OFF (ВЫКЛ)". B

    B
    А
  23. ПРОВЕРЬТЕ ЖГУТ ПРОВОДОВ И РАЗЪЕМ (ЩИТОК ПРИБОРОВ В СБОРЕ - ЗАМОК РЕМНЯ БЕЗОПАСНОСТИ ПРАВОГО ЗАДНЕГО СИДЕНЬЯ С ЦЕНТРАЛЬНЫМ РЕМНЕМ В СБОРЕ - МАССА)


    1. Отсоедините разъем E46 щитка приборов в сборе.

    2. Отсоедините разъем L38 замка правого ремня безопасности заднего сиденья с центральным ремнем в сборе.

    3. Измерьте сопротивление в соответствии со значениями, приведенными в таблице ниже.

      Номинальное сопротивление
      Подключение диагностического прибора Условие Заданные условия
      E46-26 (RRSB) - L38-1 (RBR+) Всегда Менее 1 Ом
      E46-26 (RRSB) - масса Всегда 10 кОм или более
      L38-2 (RBR-) - масса Всегда Менее 1 Ом
      Результат
      Перейти к
      OK
      NG

    OK
    NG
  24. ВЫПОЛНИТЕ АКТИВНУЮ ДИАГНОСТИКУ С ПОМОЩЬЮ GTS (REAR SEAT BELT WARNING LIGHT)


    1. Подключите GTS к DLC3.

    2. Установите замок зажигания в положение ON (ВКЛ).

    3. Включите GTS.

    4. Войдите в следующие меню: Body Electrical / Combination Meter / Active Test.

    5. Выполните диагностику в режиме ACTIVE TEST в соответствии с указаниями на дисплее GTS.


      Body Electrical > Combination Meter > Active Test
      Информация на дисплее прибора Измеряемая величина Диапазон регулирования Замечание по диагностике
      Rear Seat Belt Контрольная лампа ремня безопасности заднего сиденья OFF (ВЫКЛ) / ON (ВКЛ) -

      Body Electrical > Combination Meter > Active Test
      Информация на дисплее прибора
      Rear Seat Belt
      Результат
      Результат Следующий шаг
      Контрольная лампа ремня безопасности заднего сиденья не работает надлежащим образом А
      Контрольная лампа ремня безопасности заднего сиденья работает нормально. B

    B
    А
  25. ПРОВЕРЬТЕ ЖГУТ ПРОВОДОВ И РАЗЪЕМ (ЧАСЫ В СБОРЕ - ЩИТОК ПРИБОРОВ В СБОРЕ)


    1. Отсоедините разъем E46 щитка приборов в сборе.

    2. Отсоедините разъем E48 часов в сборе.

    3. Измерьте сопротивление в соответствии со значениями, приведенными в таблице ниже.

      Номинальное сопротивление
      Подключение диагностического прибора Условие Заданные условия
      E46-3 (RRMT) - E48-15 (RRID) Всегда Менее 1 Ом
      E46-3 (RRMT) - масса Всегда 10 кОм или более
      Результат
      Перейти к
      OK
      NG

    OK
    NG
  26. СНИМИТЕ ПОКАЗАНИЯ GTS (ДЛЯ ВЫКЛЮЧАТЕЛЯ ПРЯЖКИ ЦЕНТРАЛЬНОГО ЗАДНЕГО РЕМНЯ БЕЗОПАСНОСТИ)


    1. Подключите GTS к DLC3.

    2. Установите замок зажигания в положение ON (ВКЛ).

    3. Включите GTS.

    4. Войдите в следующие меню: Body Electrical / Combination Meter / Data List.

    5. Снимите показания с дисплея GTS в режиме DATA LIST.


      Body Electrical > Combination Meter > Data List
      Информация на дисплее прибора Измеряемая величина Диапазон Нормальное состояние Замечание по диагностике
      2nd-Row Seatbelt Buckle (C) Сигнал выключателя пряжки центрального ремня безопасности заднего сиденья ON (ВКЛ) или OFF (ВЫКЛ)

      ON (ВКЛ): Центральный ремень безопасности заднего сиденья пристегнут

      OFF (ВЫКЛ): Центральный ремень безопасности заднего сиденья не пристегнут

      -

      Body Electrical > Combination Meter > Data List
      Информация на дисплее прибора
      2nd-Row Seatbelt Buckle (C)
      Результат
      Результат Перейти к
      Значения ON (ВКЛ) и OFF (ВЫКЛ), отображаемые на экране GTS, не соответствуют состоянию ремня безопасности заднего сиденья А
      На дисплее GTS в зависимости от состояния ремня безопасности заднего сиденья отображается "ON (ВКЛ)" или "OFF (ВЫКЛ)". B

    B
    А
  27. ПРОВЕРЬТЕ ЖГУТ ПРОВОДОВ И РАЗЪЕМ (ЩИТОК ПРИБОРОВ В СБОРЕ - ЗАМОК РЕМНЯ БЕЗОПАСНОСТИ ЛЕВОГО ЗАДНЕГО СИДЕНЬЯ С ЦЕНТРАЛЬНЫМ РЕМНЕМ В СБОРЕ (ДЛЯ ЦЕНТРАЛЬНОГО) - МАССА)


    1. Отсоедините разъем E46 щитка приборов в сборе.

    2. Отсоедините разъем L39 замка левого ремня безопасности заднего сиденья с центральным ремнем в сборе.

    3. Измерьте сопротивление в соответствии со значениями, приведенными в таблице ниже.

      Номинальное сопротивление
      Подключение диагностического прибора Условие Заданные условия
      E46-25 (RCSB) - L39-1 (CBR+) Всегда Менее 1 Ом
      E46-25 (RCSB) - масса Всегда 10 кОм или более
      L39-2 (CBR-) - масса Всегда Менее 1 Ом
      Результат
      Перейти к
      OK
      NG

    OK
    NG
  28. ВЫПОЛНИТЕ АКТИВНУЮ ДИАГНОСТИКУ С ПОМОЩЬЮ GTS (REAR SEAT BELT WARNING LIGHT)


    1. Подключите GTS к DLC3.

    2. Установите замок зажигания в положение ON (ВКЛ).

    3. Включите GTS.

    4. Войдите в следующие меню: Body Electrical / Combination Meter / Active Test.

    5. Выполните диагностику в режиме ACTIVE TEST в соответствии с указаниями на дисплее GTS.


      Body Electrical > Combination Meter > Active Test
      Информация на дисплее прибора Измеряемая величина Диапазон регулирования Замечание по диагностике
      Rear Seat Belt Контрольная лампа ремня безопасности заднего сиденья OFF (ВЫКЛ) / ON (ВКЛ) -

      Body Electrical > Combination Meter > Active Test
      Информация на дисплее прибора
      Rear Seat Belt
      Результат
      Результат Перейти к
      Контрольная лампа ремня безопасности заднего сиденья не работает надлежащим образом A
      Контрольная лампа ремня безопасности заднего сиденья работает нормально. B

    B
    A
  29. ПРОВЕРЬТЕ ЖГУТ ПРОВОДОВ И РАЗЪЕМ (ЧАСЫ В СБОРЕ - ЩИТОК ПРИБОРОВ В СБОРЕ)


    1. Отсоедините разъем E46 щитка приборов в сборе.

    2. Отсоедините разъем E48 сигнальной лампы в сборе.

    3. Измерьте сопротивление в соответствии со значениями, приведенными в таблице ниже.

      Номинальное сопротивление
      Подключение диагностического прибора Условие Заданные условия
      E46-2 (RCMT) - E48-14 (RCID) Всегда Менее 1 Ом
      E46-2 (RCMT) - масса Всегда 10 кОм или более
      Результат
      Следующий шаг
      OK
      NG

    OK
    NG
  30. СНИМИТЕ ПОКАЗАНИЯ GTS (ДЛЯ ВЫКЛЮЧАТЕЛЯ ПРЯЖКИ ЛЕВОГО ЗАДНЕГО РЕМНЯ БЕЗОПАСНОСТИ)


    1. Подключите GTS к DLC3.

    2. Установите замок зажигания в положение ON (ВКЛ).

    3. Включите GTS.

    4. Войдите в следующие меню: Body Electrical / Combination Meter / Data List.


      Body Electrical > Combination Meter > Data List
      Информация на дисплее прибора Измеряемая величина Диапазон Нормальное состояние Замечание по диагностике
      2nd-Row Seatbelt Buckle (L) Сигнал выключателя пряжки левого ремня безопасности заднего сиденья ON (ВКЛ) или OFF (ВЫКЛ)

      ON (ВКЛ): Ремень безопасности левого заднего сиденья пристегнут

      OFF (ВЫКЛ): Левый ремень безопасности заднего сиденья не пристегнут

      -

      Body Electrical > Combination Meter > Data List
      Информация на дисплее прибора
      2nd-Row Seatbelt Buckle (L)
    5. Снимите показания с дисплея GTS в режиме DATA LIST.

      Результат
      Результат Следующий шаг
      Значения ON (ВКЛ) и OFF (ВЫКЛ), отображаемые на экране GTS, не соответствуют состоянию ремня безопасности заднего сиденья А
      На дисплее GTS в зависимости от состояния ремня безопасности заднего сиденья отображается "ON (ВКЛ)" или "OFF (ВЫКЛ)". B

    B
    А
  31. ПРОВЕРЬТЕ ЖГУТ ПРОВОДОВ И РАЗЪЕМ (ЩИТОК ПРИБОРОВ В СБОРЕ - ЗАМОК РЕМНЯ БЕЗОПАСНОСТИ ЛЕВОГО ЗАДНЕГО СИДЕНЬЯ С ЦЕНТРАЛЬНЫМ РЕМНЕМ В СБОРЕ (ДЛЯ ЛЕВОГО) - МАССА)


    1. Отсоедините разъем E46 щитка приборов в сборе.

    2. Отсоедините разъем L39 замка левого ремня безопасности заднего сиденья с центральным ремнем в сборе.

    3. Измерьте сопротивление в соответствии со значениями, приведенными в таблице ниже.

      Номинальное сопротивление
      Подключение диагностического прибора Условие Заданные условия
      E46-24 (RLSB) - L39-3 (LBR+) Всегда Менее 1 Ом
      E46-24 (RLSB) - масса Всегда 10 кОм или более
      L39-4 (LBR-) - масса Всегда Менее 1 Ом
      Результат
      Перейти к
      OK
      NG

    OK
    NG
  32. ВЫПОЛНИТЕ АКТИВНУЮ ДИАГНОСТИКУ С ПОМОЩЬЮ GTS (REAR SEAT BELT WARNING LIGHT)


    1. Подключите GTS к DLC3.

    2. Установите замок зажигания в положение ON (ВКЛ).

    3. Включите GTS.

    4. Войдите в следующие меню: Body Electrical / Combination Meter / Active Test.

    5. Выполните диагностику в режиме ACTIVE TEST в соответствии с указаниями на дисплее GTS.


      Body Electrical > Combination Meter > Active Test
      Информация на дисплее прибора Измеряемая величина Диапазон регулирования Замечание по диагностике
      Rear Seat Belt Контрольная лампа ремня безопасности заднего сиденья OFF (ВЫКЛ) / ON (ВКЛ) -

      Body Electrical > Combination Meter > Active Test
      Информация на дисплее прибора
      Rear Seat Belt
      Результат
      Результат Перейти к
      Контрольная лампа ремня безопасности заднего сиденья не работает надлежащим образом А
      Контрольная лампа ремня безопасности заднего сиденья работает нормально. B

    B
    А
  33. ПРОВЕРЬТЕ ЖГУТ ПРОВОДОВ И РАЗЪЕМ (ЧАСЫ В СБОРЕ - ЩИТОК ПРИБОРОВ В СБОРЕ)


    1. Отсоедините разъем E46 щитка приборов в сборе.

    2. Отсоедините разъем E48 сигнальной лампы в сборе.

    3. Измерьте сопротивление в соответствии со значениями, приведенными в таблице ниже.

      Номинальное сопротивление
      Подключение диагностического прибора Условие Заданные условия
      E46-1 (RLMT) - E48-13 (RLID) Всегда Менее 1 Ом
      E46-1 (RLMT) - масса Всегда 10 кОм или более
      Результат
      Перейти к
      OK
      NG

    OK
    NG