ILLUSTRATION
| *A | Type A | *B | Type B |
| *1 | EGR VALVE WITH COOLER ASSEMBLY | *2 | EGR PIPE ASSEMBLY |
| *3 | WIRE HARNESS SUPPORT | *4 | WATER HOSE |
| *5 | GASKET | *6 | STUD BOLT |
|
N*m (kgf*cm, ft.*lbf): Specified torque | ● | Non-reusable part |
ILLUSTRATION
| *A | w/ Stud Bolt | *B | w/o Stud Bolt |
| *1 | FUEL VAPOR FEED PIPE | *2 | INTAKE MANIFOLD |
| *3 | THROTTLE BODY ASSEMBLY | *4 | VACUUM SWITCHING VALVE ASSEMBLY |
| *5 | WIRE HARNESS SUPPORT | *6 | NO. 1 INTAKE MANIFOLD TO HEAD GASKET |
| *7 | THROTTLE BODY GASKET | - | - |
|
N*m (kgf*cm, ft.*lbf): Specified torque | ● | Non-reusable part |
ILLUSTRATION
| *1 | IGNITION COIL ASSEMBLY | *2 | NO. 3 WATER BY-PASS HOSE |
| *3 | ENGINE OIL LEVEL DIPSTICK GUIDE | *4 | ENGINE OIL LEVEL DIPSTICK |
| *5 | O-RING | - | - |
|
N*m (kgf*cm, ft.*lbf): Specified torque | ● | Non-reusable part |
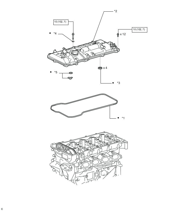
ILLUSTRATION
| *1 | CYLINDER HEAD COVER GASKET | *2 | CYLINDER HEAD COVER SUB-ASSEMBLY |
| *3 | SPARK PLUG TUBE GASKET | *4 | SEAL WASHER |
| *5 | GASKET | - | - |
|
N*m (kgf*cm, ft.*lbf): Specified torque | ● | Non-reusable part |
ILLUSTRATION
| *1 | TIMING CHAIN COVER SUB-ASSEMBLY | *2 | TIMING CHAIN COVER OIL SEAL |
| *3 | ENGINE MOUNTING BRACKET RH | *4 | NO. 1 CHAIN TENSIONER ASSEMBLY |
| *5 | OIL FILTER BRACKET | *6 | O-RING |
| *7 | CRANKSHAFT PULLEY | *8 | SEAL WASHER |
| *9 | BRACKET | *10 | GASKET |
| *11 | STUD BOLT | - | - |
|
N*m (kgf*cm, ft.*lbf): Specified torque | ● | Non-reusable part |
|
MP grease | |
Adhesive 1324 |
|
Do not apply lubricants to the threaded parts | ★ | Precoated part |
ILLUSTRATION
| *1 | CHAIN SUB-ASSEMBLY | *2 | CHAIN TENSIONER SLIPPER |
| *3 | CRANKSHAFT POSITION SENSOR | *4 | CRANKSHAFT TIMING GEAR KEY |
| *5 | CRANKSHAFT TIMING SPROCKET | *6 | NO. 1 CHAIN VIBRATION DAMPER |
| *7 | NO. 1 CRANKSHAFT POSITION SENSOR PLATE | *8 | NO. 2 CHAIN VIBRATION DAMPER |
| *9 | OIL PUMP DRIVE SHAFT GEAR | *10 | NO. 2 CHAIN SUB-ASSEMBLY |
| *11 | CHAIN DAMPER SPRING | *12 | CHAIN TENSIONER PLATE |
| *13 | OIL PUMP DRIVE GEAR | *14 | O-RING |
|
N*m (kgf*cm, ft.*lbf): Specified torque | ● | Non-reusable part |
ILLUSTRATION
| *1 | NO. 2 OIL PAN SUB-ASSEMBLY | *2 | OIL PAN DRAIN PLUG |
| *3 | OIL PUMP ASSEMBLY | *4 | GASKET |
|
N*m (kgf*cm, ft.*lbf): Specified torque | ● | Non-reusable part |
ILLUSTRATION
| *1 | OIL PUMP COVER SUB-ASSEMBLY | *2 | OIL PUMP RELIEF VALVE |
| *3 | OIL PUMP BODY | *4 | OIL PUMP RELIEF VALVE SPRING |
| *5 | OIL PUMP RELIEF VALVE PLUG | *6 | OIL PUMP DRIVE ROTOR |
| *7 | OIL PUMP DRIVEN ROTOR | - | - |
|
N*m (kgf*cm, ft.*lbf): Specified torque | - | - |