АУДИОВИЗУАЛЬНАЯ СИСТЕМА (для моделей с радиоприемником и дисплеем с кузовом типа "седан") Цепь микрофона между микрофоном и радиоприемником

ОПИСАНИЕ



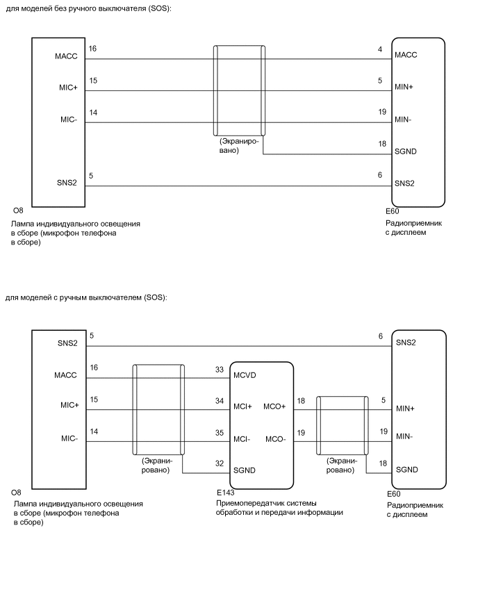
СХЕМА ЭЛЕКТРИЧЕСКИХ СОЕДИНЕНИЙ

A01T9M9E35

ПОРЯДОК ВЫПОЛНЕНИЯ


  1. ПРОВЕРЬТЕ МИКРОФОН (ПРОВЕРКА РАБОТЫ)


    1. A01T942

      Войдите в экран "Microphone Check" (проверка микрофона). См. операцию "Проверьте микрофон" в разделе "Проверка работы".

      Нажмите здесь Click here

    2. Говоря в микрофон, убедитесь в том, что индикатор входного уровня микрофона изменяется в соответствии с поступающим голосом.

      OK
      Проверьте правильность результата.
      Результат
      Результат Следующий шаг
      OK А

      NG

      (для моделей без ручного выключателя (SOS))

      B

      NG

      (для моделей с ручным выключателем (SOS))

      C

    А
    C
    B
  2. ПРОВЕРЬТЕ ЖГУТ ПРОВОДОВ И РАЗЪЕМ (РАДИОПРИЕМНИК С ДИСПЛЕЕМ В СБОРЕ – ЛАМПА ИНДИВИДУАЛЬНОГО ОСВЕЩЕНИЯ В СБОРЕ (МИКРОФОН ТЕЛЕФОНА В СБОРЕ))


    1. Отсоедините разъем E60 радиоприемника с дисплеем в сборе.

    2. Отсоедините разъем O8 лампы индивидуального освещения в сборе (микрофона телефона в сборе).

    3. Измерьте сопротивление в соответствии со значениями, приведенными в таблице ниже.

      Номинальное сопротивление
      Подключение диагностического прибора Условие Заданные условия
      E60-6 (SNS2) - O8-5 (SNS2) Всегда Менее 1 Ом
      E60-4 (MACC) - O8-16 (MACC) Всегда Менее 1 Ом
      E60-5 (MIN+) - O8-15 (MIC+) Всегда Менее 1 Ом
      E60-19 (MIN-) - O8-14 (MIC-) Всегда Менее 1 Ом
      E60-6 (SNS2) или O8-5 (SNS2) - масса Всегда 10 кОм или более
      E60-4 (MACC) или O8-16 (MACC) - масса Всегда 10 кОм или более
      E60-5 (MIN+) или- O8-15 (MIC+) - масса Всегда 10 кОм или более
      E60-19 (MIN-) или O8-14 (MIC-) - масса Всегда 10 кОм или более
      E60-18 (SGND) - масса Всегда 10 кОм или более
      Результат
      Перейти к
      OK
      NG

    NG
    OK
  3. ПРОВЕРЬТЕ РАДИОПРИЕМНИК С ДИСПЛЕЕМ В СБОРЕ


    1. Подсоедините разъем E60 радиоприемника с дисплеем в сборе.

    2. Подсоедините разъем O8 лампы индивидуального освещения в сборе (микрофона телефона в сборе).

    3. A01TBEUC24
      *a

      Устройство с подсоединенным жгутом проводов

      (Радиоприемник с дисплеем в сборе)

      Измерьте напряжение в соответствии со значениями, приведенными в таблице.

      Номинальное напряжение
      Подключение диагностического прибора Условие Заданные условия
      E60-4 (MACC) - масса Замок зажигания в положении ACC 4 - 6 В
    4. Измерьте сопротивление в соответствии со значениями, приведенными в таблице ниже.

      Номинальное сопротивление
      Подключение диагностического прибора Условие Заданные условия
      E60-18 (SGND) - масса Всегда Менее 1 Ом
      E60-19 (MIN-) - масса Всегда Менее 1 Ом
      Результат
      Перейти к
      OK
      NG

    NG
    OK
  4. ПРОВЕРЬТЕ ЛАМПУ ИНДИВИДУАЛЬНОГО ОСВЕЩЕНИЯ В СБОРЕ (МИКРОФОН ТЕЛЕФОНА В СБОРЕ)


    1. Снимите лампу индивидуального освещения в сборе (микрофона телефона в сборе).

      Нажмите здесь Click here

    2. A01T9ZZC01
      *a

      Устройство с неподсоединенным жгутом проводов

      (Лампа индивидуального освещения в сборе (микрофон телефона в сборе))

      Измерьте сопротивление в соответствии со значениями, приведенными в таблице ниже.

      Номинальное сопротивление
      Подключение диагностического прибора Условие Заданные условия
      5 (SNS2) - 14 (MIC-) Всегда Менее 1 Ом
      Результат
      Перейти к
      OK
      NG

    NG
    OK
  5. ПРОВЕРЬТЕ ЛАМПУ ИНДИВИДУАЛЬНОГО ОСВЕЩЕНИЯ В СБОРЕ (МИКРОФОН ТЕЛЕФОНА В СБОРЕ)


    1. Подсоедините разъем E60 радиоприемника с дисплеем в сборе.

    2. Подсоедините разъем O8 лампы индивидуального освещения в сборе (микрофона телефона в сборе).

    3. Поверните замок зажигания в положение ACC.

    4. A01T8VTC01
      *a

      Устройство с подсоединенным жгутом проводов

      (Лампа индивидуального освещения в сборе (микрофон телефона в сборе))

      Подключите осциллограф к контактам 15 (MIC+) и 14 (MIC-) разъема O8 лампы индивидуального освещения (микрофона телефона).

    5. Проверьте форму сигнала лампы индивидуального освещения (микрофона телефона) с помощью осциллографа.

      Результат
      Результат Следующий шаг
      Выводится сигнал, форма которого синхронизирована с голосовым сигналом, поступающим на лампу индивидуального освещения (телефон с микрофоном в сборе). А
      Не выводится сигнал, форма которого синхронизирована с голосовым сигналом, поступающим на лампу индивидуального освещения (телефон с микрофоном в сборе). B

    А
    B
  6. ЗАМЕНИТЕ МИКРОФОН ТЕЛЕФОНА В СБОРЕ


    1. Замените микрофон телефона в сборе.

      Нажмите здесь Click here

    2. Проверьте, проявляется ли такая же неисправность снова.

      Результат
      Результат Следующий шаг
      Неисправность не повторяется (восстанавливается нормальная работа). А
      Неисправность проявляется снова. B

    А
    B
  7. ПРОВЕРЬТЕ ЖГУТ ПРОВОДОВ И РАЗЪЕМ (РАДИОПРИЕМНИК С ДИСПЛЕЕМ В СБОРЕ – ЛАМПА ИНДИВИДУАЛЬНОГО ОСВЕЩЕНИЯ В СБОРЕ (МИКРОФОН ТЕЛЕФОНА В СБОРЕ))


    1. Отсоедините разъем E60 радиоприемника с дисплеем в сборе.

    2. Отсоедините разъем O8 лампы индивидуального освещения в сборе (микрофона телефона в сборе).

    3. Измерьте сопротивление в соответствии со значениями, приведенными в таблице ниже.

      Номинальное сопротивление
      Подключение диагностического прибора Условие Заданные условия
      E60-6 (SNS2) - O8-5 (SNS2) Всегда Менее 1 Ом
      E60-6 (SNS2) или O8-5 (SNS2) - масса Всегда 10 кОм или более
      Результат
      Перейти к
      OK
      NG

    NG
    OK
  8. ПРОВЕРЬТЕ ЖГУТ ПРОВОДОВ И РАЗЪЕМ (ПРИЕМОПЕРЕДАТЧИК СИСТЕМЫ ОБРАБОТКИ И ПЕРЕДАЧИ ИНФОРМАЦИИ — ЛАМПА ИНДИВИДУАЛЬНОГО ОСВЕЩЕНИЯ В СБОРЕ (МИКРОФОН ТЕЛЕФОНА В СБОРЕ))


    1. Отсоедините разъем E143 приемопередатчика системы обработки и передачи информации.

    2. Отсоедините разъем O8 лампы индивидуального освещения в сборе (микрофона телефона в сборе).

    3. Измерьте сопротивление в соответствии со значениями, приведенными в таблице ниже.

      Номинальное сопротивление
      Подключение диагностического прибора Условие Заданные условия
      E143-33 (MCVD) - O8-16 (MACC) Всегда Менее 1 Ом
      E143-34 (MCI+) - O8-15 (MIC+) Всегда Менее 1 Ом
      E143-35 (MCI-) - O8-14 (MIC-) Всегда Менее 1 Ом
      E143-33 (MCVD) или O8-16 (MACC) - масса Всегда 10 кОм или более
      E143-34 (MCI+) или O8-15 (MIC+) - масса Всегда 10 кОм или более
      E143-35 (MCI-) или O8-14 (MIC-) - масса Всегда 10 кОм или более
      E143-32 (SGND) - масса Всегда 10 кОм или более
      Результат
      Перейдите к
      OK
      NG

    NG
    OK
  9. ПРОВЕРЬТЕ ЖГУТ ПРОВОДОВ И РАЗЪЕМ (РАДИОПРИЕМНИК С ДИСПЛЕЕМ В СБОРЕ - ПРИЕМОПЕРЕДАТЧИК СИСТЕМЫ ОБРАБОТКИ И ПЕРЕДАЧИ ИНФОРМАЦИИ)


    1. Отсоедините разъем E60 радиоприемника с дисплеем в сборе.

    2. Отсоедините разъем E143 приемопередатчика системы обработки и передачи информации.

    3. Измерьте сопротивление в соответствии со значениями, приведенными в таблице ниже.

      Номинальное сопротивление
      Подключение диагностического прибора Условие Заданные условия
      E60-5 (MIN+) - E143-18 (MCO+) Всегда Менее 1 Ом
      E60-19 (MIN-) - E143-19 (MCO-) Всегда Менее 1 Ом
      E60-5 (MIN+) или E143-18 (MCO+) - масса Всегда 10 кОм или более
      E60-19 (MIN-) или E143-19 (MCO-) - масса Всегда 10 кОм или более
      E60-18 (SGND) - масса Всегда 10 кОм или более
      Результат
      Следующий шаг
      OK
      NG

    NG
    OK
  10. ПРОВЕРЬТЕ РАДИОПРИЕМНИК С ДИСПЛЕЕМ В СБОРЕ


    1. Отсоедините разъем E143 приемопередатчика системы обработки и передачи информации.

    2. A01T9EQC32
      *a

      Устройство с подсоединенным жгутом проводов

      (Радиоприемник с дисплеем в сборе)

      Измерьте сопротивление в соответствии со значениями, приведенными в таблице ниже.

      Номинальное сопротивление
      Контакты для подключения диагностического прибора Условие Заданные условия
      E60-18 (SGND) - масса Всегда Менее 1 Ом
      E60-19 (MIN-) - масса Всегда Менее 1 Ом
      Результат
      Перейти к
      OK
      NG

    NG
    OK
  11. ПРОВЕРЬТЕ ПРИЕМОПЕРЕДАТЧИК СИСТЕМЫ ОБРАБОТКИ И ПЕРЕДАЧИ ИНФОРМАЦИИ


    1. Подсоедините разъем E143 приемопередатчика системы обработки и передачи информации.

    2. A01TC28C36
      *a

      Устройство с подсоединенным жгутом проводов

      (приемопередатчик системы обработки и передачи информации)

      Измерьте напряжение в соответствии со значениями, приведенными в таблице.

      Номинальное напряжение
      Контакты для подключения диагностического прибора Условие Заданные условия
      E143-33 (MCVD) - масса Замок зажигания в положении ACC 4 - 6 В
    3. Измерьте сопротивление в соответствии со значениями, приведенными в таблице ниже.

      Номинальное сопротивление
      Контакты для подключения диагностического прибора Условие Заданные условия
      E143-32 (SGND) - масса Всегда Менее 1 Ом
      E143-35 (MCI-) - масса Всегда Менее 1 Ом
      Результат
      Перейдите к
      OK
      NG

    NG
    OK
  12. ПРОВЕРЬТЕ ЛАМПУ ИНДИВИДУАЛЬНОГО ОСВЕЩЕНИЯ В СБОРЕ (МИКРОФОН ТЕЛЕФОНА В СБОРЕ)


    1. Снимите лампу индивидуального освещения в сборе (микрофона телефона в сборе).

      Нажмите здесь Click here

    2. A01T9ZZC01
      *a

      Устройство с неподсоединенным жгутом проводов

      (Лампа индивидуального освещения в сборе (микрофон телефона в сборе))

      Измерьте сопротивление в соответствии со значениями, приведенными в таблице ниже.

      Номинальное сопротивление
      Контакты для подключения диагностического прибора Условие Заданные условия
      5 (SNS2) - 14 (MIC-) Всегда Менее 1 Ом
      Результат
      Перейти к
      OK
      NG

    NG
    OK
  13. ПРОВЕРЬТЕ ЛАМПУ ИНДИВИДУАЛЬНОГО ОСВЕЩЕНИЯ В СБОРЕ (МИКРОФОН ТЕЛЕФОНА В СБОРЕ)


    1. Подсоедините разъем E60 радиоприемника с дисплеем в сборе.

    2. Подсоедините разъем O8 лампы индивидуального освещения в сборе (микрофона телефона в сборе).

    3. Подсоедините разъем E143 приемопередатчика системы обработки и передачи информации.

    4. Поверните замок зажигания в положение ACC.

    5. A01T8VTC01
      *a

      Устройство с подсоединенным жгутом проводов

      (Лампа индивидуального освещения в сборе (микрофон телефона в сборе))

      Подключите осциллограф к контактам 15 (MIC+) и 14 (MIC-) разъема O8 лампы индивидуального освещения (микрофона телефона).

    6. Проверьте форму сигнала лампы индивидуального освещения (микрофона телефона) с помощью осциллографа.

      Результат
      Результат Следующий шаг
      Выводится сигнал, форма которого синхронизирована с голосовым сигналом, поступающим на лампу индивидуального освещения (телефон с микрофоном в сборе). А
      Не выводится сигнал, форма которого синхронизирована с голосовым сигналом, поступающим на лампу индивидуального освещения (телефон с микрофоном в сборе). B

    А
    B
  14. ЗАМЕНИТЕ МИКРОФОН ТЕЛЕФОНА В СБОРЕ


    1. Замените микрофон телефона в сборе.

      Нажмите здесь Click here

    2. Проверьте, проявляется ли такая же неисправность снова.

      Результат
      Результат Следующий шаг
      Неисправность не повторяется (восстанавливается нормальная работа). А
      Неисправность проявляется снова. B

    А
    B