АУДИОВИЗУАЛЬНАЯ СИСТЕМА (для моделей с радиоприемником и дисплеем с кузовом типа "седан") Цепь освещения

ОПИСАНИЕ

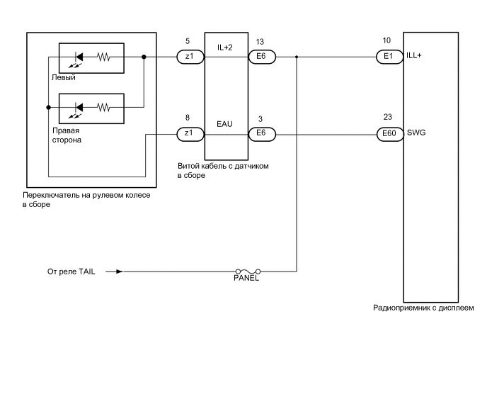
Когда переключатель освещения находится в положении TAIL или HEAD, подается питание для подсветки радиоприемника с дисплеем в сборе и переключателя на рулевом колесе в сборе.

СХЕМА ЭЛЕКТРИЧЕСКИХ СОЕДИНЕНИЙ

A01T94LE01

ПРЕДОСТЕРЕЖЕНИЕ / ПРИМЕЧАНИЕ / УКАЗАНИЕ

Note


  • Автомобиль оборудован дополнительной системой (пассивной) безопасности (SRS), в которую входят такие устройства, как подушки безопасности. Прежде чем приступать к обслуживанию (включая снятие и установку деталей), изучите меры предосторожности при работе с системой SRS.

    Нажмите здесь Click here

  • Перед выполнением последующей процедуры проверки проверьте плавкие предохранители цепей, относящихся к данной системе.

ПОРЯДОК ВЫПОЛНЕНИЯ


  1. ПРОВЕРЬТЕ СВЕЧЕНИЕ


    1. Проверьте, включается ли подсветка радиоприемника с дисплеем в сборе, переключателя на рулевом колесе в сборе, переключателя отопителя и других устройств (выключателя аварийной сигнализации, датчика положения селектора передач и т.д.), когда переключатель освещения устанавливается в положение HEAD или TAIL.

      Результат
      Результат Следующий шаг
      Включается подсветка всех устройств, кроме переключателя на рулевом колесе в сборе. А
      Включается подсветка всех устройств, кроме радиоприемника с дисплеем в сборе. B
      Подсветка не включается (для радиоприемника с дисплеем в сборе, выключателя аварийной сигнализации, переключателя отопителя и т.д.). C

    B
    C
    А
  2. ПРОВЕРЬТЕ ЖГУТ ПРОВОДОВ И РАЗЪЕМ (СИГНАЛ ПОДСВЕТКИ)


    1. Отсоедините разъем E6 витого кабеля с датчиком в сборе.

    2. Измерьте напряжение в соответствии со значениями, приведенными в таблице.

      Номинальное напряжение
      Контакты для подключения диагностического прибора Условие Заданные условия
      E6-13 (IL+2) - масса Переключатель освещения в положении TAIL или HEAD 11-14 В
      Результат
      Перейти к
      OK
      NG

    NG
    OK
  3. ПРОВЕРЬТЕ ПЕРЕКЛЮЧАТЕЛИ НА РУЛЕВОМ КОЛЕСЕ


    1. Снимите переключатели на рулевом колесе в сборе.

      Нажмите здесь Click here

    2. Подсоедините положительный (+) вывод аккумуляторной батареи к контакту 5 (IL+2), а отрицательный (-) – к контакту 8 (EAU) разъема переключателя на рулевом колесе в сборе.

      A01TDLSC03
      *a

      Устройство с неподсоединенным жгутом проводов

      (переключатели на рулевом колесе в сборе)

      - -
    3. Проверьте, что подсветка переключателя на рулевом колесе включается.

      OK
      Подсветка переключателя на рулевом колесе горит.
      Результат
      Следующий шаг
      OK
      NG

    NG
    OK
  4. ПРОВЕРЬТЕ ВИТОЙ КАБЕЛЬ С ДАТЧИКОМ В СБОРЕ


    1. Снимите витой кабель с датчиком в сборе.

      Нажмите здесь Click here

    2. A01TAW9C46
      *a

      Устройство с неподсоединенным жгутом проводов

      (Витой кабель с датчиком в сборе)

      *b Со стороны переключателей на рулевом колесе в сборе
      *c Со стороны проводки автомобиля

      Измерьте сопротивление в соответствии со значениями, приведенными в таблице ниже.

      Номинальное сопротивление
      Подключение диагностического прибора Условие Заданные условия
      z1-5 (IL+2) - E6-13 (IL+2) Центр 3 Ом или менее
      2,5 оборота влево
      2,5 оборота вправо
      z1-8 (EAU) - E6-3 (EAU) Центр 3 Ом или менее
      2,5 оборота влево
      2,5 оборота вправо
    3. Установите витой кабель с датчиком в сборе в центральное положение и поверните его на 2,5 оборота по часовой стрелке. Затем измерьте сопротивление в соответствии со значениями, приведенными в таблице ниже, поворачивая витой кабель с датчиком в сборе на 5 оборотов против часовой стрелки.

      Номинальное сопротивление
      Подключение диагностического прибора Условие Заданные условия
      z1-5 (IL+2) - E6-13 (IL+2) Всегда 3 Ом или менее
      z1-8 (EAU) - E6-3 (EAU) Всегда 3 Ом или менее

      Note


      • Нажмите и удерживайте замок, расположенный в центре витого кабеля с датчиком в сборе, чтобы повернуть витой кабель с датчиком в сборе.

      • Витой кабель с датчиком в сборе является важной частью системы подушек безопасности (SRS). Неправильно снятый или установленный витой кабель с датчиком в сборе может стать причиной неразвертывания подушки безопасности.

      • Никогда не поворачивайте витой кабель с датчиком в сборе больше, чем требуется, иначе можно повредить его.

      Результат
      Перейти к
      OK
      NG

    OK
    NG
  5. ПРОВЕРЬТЕ ЖГУТ ПРОВОДОВ И РАЗЪЕМ (СИГНАЛ ПОДСВЕТКИ)


    1. Отсоедините разъем E1 радиоприемника с дисплеем в сборе.

    2. Измерьте напряжение в соответствии со значениями, приведенными в таблице.

      Номинальное напряжение
      Подключение диагностического прибора Условие Заданные условия
      E1-10 (ILL+) - масса Переключатель освещения в положении TAIL или HEAD 11-14 В
      Результат
      Перейти к
      OK
      NG

    OK
    NG