ВЕНТИЛЬ СИСТЕМЫ ПРЕДУПРЕЖДЕНИЯ О НЕНАДЛЕЖАЩЕМ ДАВЛЕНИИ В ШИНАХ УСТАНОВКА

ПРЕДОСТЕРЕЖЕНИЕ / ПРИМЕЧАНИЕ / УКАЗАНИЕ

Note


  • При установке вентиля и передатчика системы предупреждения о ненадлежащем давлении в шинах обязательно используйте новые уплотнительную втулку и золотник.

  • Проверьте, не повреждены ли шайба и гайка, и при необходимости замените их.

  • Необходимо соблюдать осторожность, чтобы не повредить покрытую уретаном обратную сторону вентиля системы предупреждения о ненадлежащем давлении в шинах и передатчика (поверхность, противоположную стороне с идентификационным кодом) каким-либо острым предметом.

  • Запишите идентификационный номер перед установкой.

  • Убедитесь в отсутствии масла, воды или смазочных материалов вокруг отверстия в ободе, вентиля и передатчика системы предупреждения о ненадлежащем давлении в шинах, шайбы и гайки. Несоблюдение данного указания может привести к ненадежной установке узла.

  • Используйте только колпачок вентиля шины указанного типа. При использовании несоответствующего колпачка вентиля шины его может заклинить в вентиле с передатчиком системы предупреждения о ненадлежащем давлении в шинах.

ПОРЯДОК ВЫПОЛНЕНИЯ


  1. УСТАНОВИТЕ ВЕНТИЛЬ И ПЕРЕДАТЧИК СИСТЕМЫ ПРЕДУПРЕЖДЕНИЯ О НЕНАДЛЕЖАЩЕМ ДАВЛЕНИИ В ШИНАХ


    1. Установите новую уплотнительную втулку на вентиль и передатчик системы предупреждения о ненадлежащем давлении в шинах.

      Note

      Новый вентиль с передатчиком системы предупреждения о ненадлежащем давлении в шинах поставляется с установленной уплотнительной втулкой. Не допускайте установки дополнительной уплотнительной втулки.

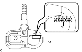
    2. A01LYRRC02
      *a Поверхность с текстом
      *b 7-значный идентификационный номер передатчика

      Запишите 7-значный идентификационный номер передатчика, как показано на рисунке.

    3. Вставьте вентиль с передатчиком системы предупреждения о ненадлежащем давлении в шинах вместе с уплотнительной втулкой изнутри обода колесного диска.

      Note


      • Убедитесь, что вентиль с передатчиком системы предупреждения о ненадлежащем давлении в шинах установлены так, что видна штампованная поверхность. Если установить вентиль и передатчик системы предупреждения о ненадлежащем давлении в шинах обратной стороной, он может быть поврежден или не будет передавать сигналы при движении с большой скоростью.

      • Убедитесь в отсутствии деформации и повреждений вентиля с передатчиком системы предупреждения о ненадлежащем давлении в шинах.

      • Убедитесь в отсутствии посторонних веществ на уплотнительной втулке и вокруг отверстия в ободе.

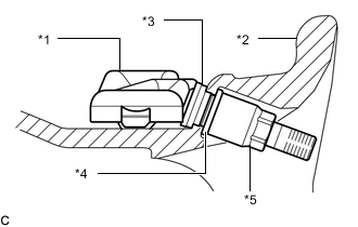
    4. A01LX8YC01
      *1 Вентиль и передатчик системы предупреждения о ненадлежащем давлении в шинах
      *2 Обод колесного диска
      *3 Уплотнительная шайба
      *4 Шайба
      *5 Гайка

      Установите шайбу на вентиль и передатчик системы предупреждения о ненадлежащем давлении в шинах с наружной стороны обода и затяните гайку.

      Torque:
      4,0 Н*м  { 41 кгс*см, 35 фунт-сила-дюймов }

      Note


      • После затяжки гайки с заданным моментом дополнительная затяжка не требуется.

      • Убедитесь в отсутствии инородного материала на уплотнительной втулке, шайбе и гайке.

    5. A01LYLFC01
      *1 Обод колесного диска
      *a Крепежный инструмент шиномонтажного станка
      *b 60°
      A01M03W Направление вращения обода колесного диска
      A01LWAG Зона для вентиля и передатчика системы предупреждения о ненадлежащем давлении в шинах

      Установите шину и колесный диск на шиномонтажный станок, как показано на рисунке.

      Note


      • Расположите основную часть корпуса вентиля и передатчика системы предупреждения о ненадлежащем давлении в шинах в области, показанной на рисунке.

      • Если расположить вентиль и передатчик системы предупреждения о ненадлежащем давлении в шинах за пределами указанной области, узел может быть зажат бортом шины, что приведет к его повреждению.

    6. Нанесите достаточное количество мыльного раствора или аналогичного средства на борт шины и обод колесного диска.

      Note

      Никогда не наносите мыльный раствор или аналогичное средство непосредственно на вентиль с передатчиком системы предупреждения о ненадлежащем давлении в шинах.

    7. Используя шиномонтажный станок, установите шину на колесный диск.

      Note


      • Позаботьтесь о том, чтобы борт шины и крепежный инструмент не задевали вентиль с передатчиком системы предупреждения о ненадлежащем давлении в шинах.

      • Убедитесь, что вентиль с передатчиком системы предупреждения о ненадлежащем давлении в шинах не зажат бортом шины и ободом колесного диска.

    8. Установите новый золотник.

    9. Снова затяните гайку с номинальным моментом затяжки.

      Torque:
      4,0 Н*м  { 41 кгс*см, 35 фунт-сила-дюймов }

      Note

      После затяжки гайки с заданным моментом дополнительная затяжка не требуется.

    10. С помощью мыльного раствора или аналогичного средства проверьте окружающую поверхность вентиля с передатчиком системы предупреждения о ненадлежащем давлении в шинах на наличие утечек воздуха.


      1. В случае утечки воздуха через золотник нажмите на золотник несколько раз для удаления инородного материала. При необходимости замените золотник.

      2. При наличии утечки воздуха вокруг вентиля с передатчиком системы предупреждения о ненадлежащем давлении в шинах убедитесь, что уплотнительная втулка, шайба и гайка не деформированы, не повреждены и не загрязнены инородным материалом. При необходимости замените уплотнительную втулку, шайбу или гайку.

    11. Установите колпачок вентиля шины.

  2. УСТАНОВИТЕ КОЛЕСО В СБОРЕ

    Torque:
    103 Н*м  { 1050 кгс*см, 76 фунт-сила-футов }
  3. УСТАНОВИТЕ ЗАПАСНОЕ КОЛЕСО (для моделей с полноразмерным запасным колесом)

  4. ПРОВЕРЬТЕ ШИНЫ

    Нажмите здесь Click here

  5. ЗАФИКСИРУЙТЕ ИДЕНТИФИКАТОР ПЕРЕДАТЧИКА

    Нажмите здесь Click here

  6. ПРОВЕРЬТЕ СИСТЕМУ ПРЕДУПРЕЖДЕНИЯ О НЕНАДЛЕЖАЩЕМ ДАВЛЕНИИ В ШИНАХ

    Нажмите здесь Click here

  7. ВЫПОЛНИТЕ ИНИЦИАЛИЗАЦИЮ

    Нажмите здесь Click here