СИСТЕМА ПРЕДУПРЕЖДЕНИЯ О НЕНАДЛЕЖАЩЕМ ДАВЛЕНИИ В ШИНАХ, Diagnostic DTC:B1247

Код DTC Наименование DTC
B1247 Прекращение обмена данными с приемником системы предупреждения о ненадлежащем давлении в шинах

ОПИСАНИЕ

Главный ЭБУ кузова (бортовой ЭБУ сети мультиплексной связи) и ЭБУ с приемником системы предупреждения о ненадлежащем давлении в шинах соединяются 2 линиями прямой связи, которые они используют для обмена данными друг с другом.

№ DTC Неисправность Условие обнаружения DTC Неисправный участок Примечание
B1247 Прекращение обмена данными с приемником системы предупреждения о ненадлежащем давлении в шинах В режиме диагностики не удается принять надлежащий сигнал RDA в течение 10 с после передачи сигнала PRG от главного ЭБУ кузова (бортового ЭБУ сети мультиплексной связи).
  • ЭБУ и приемник системы предупреждения о ненадлежащем давлении в шинах

  • Жгут проводов или разъем

  • Главный ЭБУ кузова (бортовой ЭБУ сети мультиплексной связи)

Этот DTC для главного ЭБУ кузова (бортового ЭБУ сети мультиплексной связи)

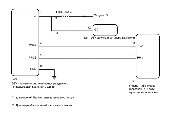
СХЕМА ЭЛЕКТРИЧЕСКИХ СОЕДИНЕНИЙ

A012JJAE01

ПРЕДОСТЕРЕЖЕНИЕ / ПРИМЕЧАНИЕ / УКАЗАНИЕ

Note


  • В случае замены ЭБУ и приемника системы предупреждения о ненадлежащем давлении в шинах перед их снятием считайте значения идентификаторов передатчиков, сохраненные в ЭБУ, с помощью GTS и запишите их.

  • После замены ЭБУ необходимо выполнить инициализацию, предварительно зарегистрировав Click here идентификаторы передатчиков в ЭБУ с приемником системы предупреждения о ненадлежащем давлении в шинах.

Tech Tips

Перед выполнением следующей процедуры проверки проверьте предохранители цепей, относящихся к данной системе.

ПОРЯДОК ВЫПОЛНЕНИЯ


  1. ПРОВЕРЬТЕ ЖГУТ ПРОВОДОВ И РАЗЪЕМ (ГЛАВНЫЙ ЭБУ КУЗОВА (БОРТОВОЙ ЭБУ СЕТИ МУЛЬТИПЛЕКСНОЙ СВЯЗИ) - ЭБУ И ПРИЕМНИК СИСТЕМЫ ПРЕДУПРЕЖДЕНИЯ О НЕНАДЛЕЖАЩЕМ ДАВЛЕНИИ В ШИНАХ)


    1. Отсоедините разъем L70 ЭБУ с приемником системы предупреждения о ненадлежащем давлении в шинах.

    2. Отсоедините разъем E22 главного ЭБУ кузова (бортового ЭБУ сети мультиплексной связи).

    3. Измерьте сопротивление в соответствии со значениями, приведенными в таблице ниже.

      Номинальное сопротивление
      Подключение диагностического прибора Условие Заданные условия
      L70-4 (RDA2) - E22-16 (RDA) Всегда Менее 1 Ом
      L70-4 (RDA2) или E22-16 (RDA) - масса Всегда 10 кОм или более
      Результат
      Перейти к
      OK
      NG

    NG
    OK
  2. ПРОВЕРЬТЕ ЖГУТ ПРОВОДОВ И РАЗЪЕМ (ИСТОЧНИК ПИТАНИЯ ЭБУ И ПРИЕМНИКА СИСТЕМЫ ПРЕДУПРЕЖДЕНИЯ О НЕНАДЛЕЖАЩЕМ ДАВЛЕНИИ В ШИНАХ)


    1. A012FI5C20
      *a

      Вид спереди разъема со стороны жгута проводов:

      (к ЭБУ и приемнику системы предупреждения о ненадлежащем давлении в шинах)

      Измерьте сопротивление в соответствии со значениями, приведенными в таблице ниже.

      Номинальное сопротивление
      Подключение диагностического прибора Условие Заданные условия
      L70-12 (GND) - масса Всегда Менее 1 Ом
    2. Измерьте напряжение в соответствии со значениями, приведенными в таблице.

      Номинальное напряжение
      Подключение диагностического прибора Условие Заданные условия
      L70-1 (IG) - масса Зажигание включено 10–16 В
      Результат
      Перейти к
      OK
      NG

    NG
    OK
  3. ЗАМЕНИТЕ ЭБУ И ПРИЕМНИК СИСТЕМЫ ПРЕДУПРЕЖДЕНИЯ О НЕНАДЛЕЖАЩЕМ ДАВЛЕНИИ В ШИНАХ


    1. Замените ЭБУ с приемником системы предупреждения о ненадлежащем давлении в шинах.

      Нажмите здесь Click here

      Результат
      Следующий шаг
      ДАЛЕЕ

    ДАЛЕЕ
  4. ПРОВЕРЬТЕ, ВЫВОДЯТСЯ ЛИ DTC


    1. Сбросьте коды DTC.

      Нажмите здесь Click here


      Body Electrical > Main Body > Clear DTCs
    2. Выключите зажигание.

    3. Установите замок зажигания в положение ON (ВКЛ).

    4. Проверьте наличие кодов DTC.

      Нажмите здесь Click here


      Body Electrical > Main Body > Trouble Codes
      OK
      DTC B1247 не выводится.
      Результат
      Перейти К
      OK
      NG

    OK
    NG