ПЕРЕДНИЙ АМОРТИЗАТОР СНЯТИЕ С ЭКСПЛУАТАЦИИ

ПОРЯДОК ВЫПОЛНЕНИЯ


  1. СНЯТИЕ С ЭКСПЛУАТАЦИИ ПЕРЕДНЕГО АМОРТИЗАТОРА В СБОРЕ


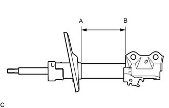
    1. Полностью выдвиньте шток переднего амортизатора.

    2. A01LZ62N03

      С помощью дрели просверлите отверстие в цилиндре между точками А и В, как показано на рисунке, чтобы выпустить газ.

      CAUTION:

      При сверлении осколки металла могут разлетаться в разные стороны, поэтому всегда используйте соответствующее защитное оборудование и соблюдайте осторожность.

      Tech Tips

      Газ является бесцветным, непахучим и нетоксичным.