ПЕРЕДНИЙ АМОРТИЗАТОР УСТАНОВКА

ПРЕДОСТЕРЕЖЕНИЕ / ПРИМЕЧАНИЕ / УКАЗАНИЕ

Tech Tips


  • Порядок выполнения работ одинаков для правой и левой стороны.

  • Ниже рассмотрен порядок выполнения работ для левой стороны.

ПОРЯДОК ВЫПОЛНЕНИЯ


  1. УСТАНОВИТЕ НИЖНЮЮ ИЗОЛИРУЮЩУЮ ПРОКЛАДКУ ПЕРЕДНЕЙ ЦИЛИНДРИЧЕСКОЙ ВИНТОВОЙ ПРУЖИНЫ


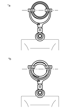
    1. B0044EKC05
      *a Установочный штифт
      *b Нажатие
      *c Захват

      Установите нижнюю изолирующую прокладку передней цилиндрической винтовой пружины на передний амортизатор в сборе.

      Note


      • При установке нижней изолирующей прокладки передней цилиндрической винтовой пружины расположите ее в углублении чашки пружины и совместите установочный штифт с отверстием.

      • При установке нижней изолирующей прокладки передней цилиндрической винтовой пружины следите за тем, чтобы она не была зажата захватом переднего амортизатора в сборе.

  2. УСТАНОВИТЕ БУФЕР ХОДА СЖАТИЯ ПЕРЕДНЕЙ ПРУЖИНЫ


    1. B0043VPC02
      *a Крышка
      *b Стержень

      Установите буфер хода сжатия передней пружины на передний амортизатор в сборе.

      Note


      • Конец буфера хода сжатия передней пружины с меньшим диаметром должен быть направлен вниз.

      • Никогда не смазывайте буфер хода сжатия передней пружины.

      • Никогда не смазывайте крышку и шток переднего амортизатора в сборе.

      • Никогда не очищайте буфер хода сжатия передней пружины водой или растворителем.

  3. УСТАНОВИТЕ ПЕРЕДНЮЮ ЦИЛИНДРИЧЕСКУЮ ВИНТОВУЮ ПРУЖИНУ


    1. B0043H1N01

      Закрепить SST в тисках.

      SST
      09727-30021   ( 09727-00010, 09727-00021, 09727-00031 )
    2. B0042XOC01
      *a Правильно
      *b Неправильно

      Присоедините рычаги SST по диаметру передней цилиндрической винтовой пружины.

      CAUTION:


      • Убедитесь, что передняя цилиндрическая винтовая пружина установлена таким образом, что расстояние между верхним и нижним рычагами SST максимально.

      • Убедитесь, что захваты рычагов надежно присоединены.

    3. С помощью SST сожмите переднюю цилиндрическую винтовую пружину.

      CAUTION:


      • Если передняя цилиндрическая винтовая пружина сгибается во время сжатия, немедленно прекратите сжатие и переустановите SST.

      • Никогда не сжимайте переднюю цилиндрическую винтовую пружину до соприкосновения ее витков.

      • Не пользуйтесь пневматическим ключом ударного действия. Это может привести к повреждению SST.

    4. B00428HC02
      *a Метка, нанесенная краской
      *b Нажатие

      Установите переднюю цилиндрическую винтовую пружину на передний амортизатор.

      Note


      • Убедитесь в том, что конец передней цилиндрической винтовой пружины располагается в углублении передней нижней чашки пружины.

      • Убедитесь, что спиральная пружина установлена на передний амортизатор так, что нанесенная краской метка располагается на нижней стороне автомобиля.

  4. УСТАНОВИТЕ ВЕРХНЮЮ ИЗОЛИРУЮЩУЮ ПРОКЛАДКУ ПЕРЕДНЕЙ ЦИЛИНДРИЧЕСКОЙ ВИНТОВОЙ ПРУЖИНЫ


    1. B004426C01
      *a Установочный штифт

      Установите верхнюю изолирующую прокладку передней цилиндрической винтовой пружины на передний амортизатор в сборе.

      Tech Tips

      Нижний конец верхней изолирующей прокладки передней цилиндрической винтовой пружины войдет в зацепление с захватами переднего амортизатора в сборе, когда подвеска стабилизируется.

  5. УСТАНОВИТЕ ВЕРХНЮЮ ЧАШКУ ПЕРЕДНЕЙ ЦИЛИНДРИЧЕСКОЙ ВИНТОВОЙ ПРУЖИНЫ


    1. B0042APC01
      *a Вырез
      *b Отверстие

      Установите верхнюю чашку передней цилиндрической винтовой пружины на передний амортизатор в сборе.

      Note


      • Убедитесь, что верхняя чашка передней цилиндрической винтовой пружины устанавливается так, что установочный штифт верхней изолирующей прокладки передней цилиндрической винтовой пружины вставлен в отверстие в верхней чашке передней цилиндрической винтовой пружины.

      • При установке совместите вырез на верхней чашке передней цилиндрической винтовой пружины с концом штока переднего амортизатора.

  6. УСТАНОВИТЕ ПЫЛЕЗАЩИТНОЕ УПЛОТНЕНИЕ ОПОРЫ ПЕРЕДНЕЙ ПОДВЕСКИ


    1. Установите новое пылезащитное уплотнение опоры передней подвески на передний амортизатор в сборе.

  7. УСТАНОВИТЕ ОПОРУ ПЕРЕДНЕЙ ПОДВЕСКИ В СБОРЕ


    1. Установите опору передней подвески в сборе на передний амортизатор в сборе.

  8. ПРЕДВАРИТЕЛЬНО ЗАТЯНИТЕ ГАЙКУ КРЕПЛЕНИЯ ПЕРЕДНЕЙ ОПОРЫ К ПЕРЕДНЕМУ АМОРТИЗАТОРУ


    1. Предварительно затяните новую гайку крепления передней опоры к переднему амортизатору.

    2. Снимите SST с передней цилиндрической винтовой пружины.

      Note

      Не пользуйтесь пневматическим ключом ударного действия. Это может привести к повреждению SST.

  9. УСТАНОВИТЕ ПЕРЕДНИЙ АМОРТИЗАТОР С ЦИЛИНДРИЧЕСКОЙ ВИНТОВОЙ ПРУЖИНОЙ


    1. Установите передний амортизатор с цилиндрической винтовой пружиной (сверху) и задний удлинитель фартука переднего крыла, закрепив их 3 гайками.

      Torque:
      50 Н*м  { 510 кгс*см, 37 фунт-сила-дюймов }
    2. Установите передний амортизатор с цилиндрической винтовой пружиной (с нижней стороны) на поворотный кулак и закрепите 2 болтами и 2 гайками.

      Torque:
      240 Н*м  { 2447 кгс*см, 177 фунт-сила-футов }

      Note


      • При заворачивании гаек удерживайте болты, не давая им вращаться.

      • Не наносите смазку на поверхности соприкосновения поворотного кулака и амортизатора.

      Tech Tips

      Болты можно вставлять в любом направлении, но они должны быть установлены оба в одинаковом направлении.

  10. ПОЛНОСТЬЮ ЗАТЯНИТЕ ГАЙКУ КРЕПЛЕНИЯ ПЕРЕДНЕЙ ОПОРЫ К ПЕРЕДНЕМУ АМОРТИЗАТОРУ


    1. Полностью затяните гайку крепления передней опоры к переднему амортизатору.

      Torque:
      47 Н*м  { 479 кгс*см, 35 фунт-сила-футов }
    2. B0044X7C01
      B0042HX Универсальная консистентная смазка

      Нанесите универсальную консистентную смазку на внутреннюю часть опоры передней подвески в сборе.

      Note

      Не допускайте загрязнения резиновых частей опоры передней подвески в сборе универсальной консистентной смазкой.

  11. УСТАНОВИТЕ ПЫЛЬНИК ОПОРЫ ПЕРЕДНЕЙ ПОДВЕСКИ


    1. Установите пыльник опоры передней подвески.

  12. УСТАНОВИТЕ ПЕРЕДНИЙ ДАТЧИК ЧАСТОТЫ ВРАЩЕНИЯ


    1. Установите передний датчик частоты вращения и передний гибкий шланг на передний амортизатор, закрепив их болтом и зажимом.

      Torque:
      29 Н*м  { 296 кгс*см, 21 фунт-сила-фут }

      Note

      Не допускайте перекручивания переднего датчика частоты вращения и переднего гибкого шланга при их установке.

      Tech Tips

      Сначала установите передний гибкий шланг, а затем кронштейн жгута проводов датчика частоты вращения.

  13. УСТАНОВИТЕ СТОЙКУ ПЕРЕДНЕГО СТАБИЛИЗАТОРА В СБОРЕ


    1. Установите стойку переднего стабилизатора на передний амортизатор и зафиксируйте ее гайкой.

      Torque:
      74 Н*м  { 755 кгс*см, 55 фунт-сила-футов }

      Note

      Старайтесь не повредить чехол шарового шарнира.

      Tech Tips

      Если шаровой шарнир поворачивается вместе с гайкой, зафиксируйте шпильку с помощью шестигранного торцевого ключа с головкой 6 мм.

  14. УСТАНОВИТЕ ПЕРЕДНЕЕ КОЛЕСО

    Torque:
    103 Н*м  { 1050 кгс*см, 76 фунт-сила-футов }
  15. УСТАНОВИТЕ НАРУЖНУЮ ВЕРХНЮЮ ПАНЕЛЬ КОЖУХА (для моделей с левосторонним рулевым управлением)

    Для моделей с кузовом типа "седан": Нажмите здесь Click here

    Для моделей с кузовом типа "хэтчбэк", "универсал": Нажмите здесь Click here

  16. УСТАНОВИТЕ НАРУЖНУЮ ВЕРХНЮЮ ПАНЕЛЬ КОЖУХА (для моделей с правосторонним рулевым управлением)

    Для моделей с кузовом типа "седан": Нажмите здесь Click here

    для моделей с кузовом типа "хэтчбэк", "универсал": Нажмите здесь Click here

  17. УСТАНОВИТЕ БРЫЗГОЗАЩИТНОЕ УПЛОТНЕНИЕ ВОЗДУХОВОДА ОТОПИТЕЛЯ № 2 (для моделей с левосторонним рулевым управлением)

    Для моделей с кузовом типа "седан": Нажмите здесь Click here

    Для моделей с кузовом типа "хэтчбэк", "универсал": Нажмите здесь Click here

  18. УСТАНОВИТЕ БРЫЗГОЗАЩИТНОЕ УПЛОТНЕНИЕ ВОЗДУХОВОДА ОТОПИТЕЛЯ № 2 (для моделей с правосторонним рулевым управлением)

    Для моделей с кузовом типа "седан": Нажмите здесь Click here

    для моделей с кузовом типа "хэтчбэк", "универсал": Нажмите здесь Click here

  19. УСТАНОВИТЕ ЛЕВУЮ ВОДОЗАЩИТНУЮ ПЛАСТИНУ (для моделей с левосторонним рулевым управлением)

    Для моделей с кузовом типа "седан": Нажмите здесь Click here

    Для моделей с кузовом типа "хэтчбэк", "универсал": Нажмите здесь Click here

  20. УСТАНОВИТЕ ЛЕВУЮ ВОДОЗАЩИТНУЮ ПЛАСТИНУ (для моделей с правосторонним рулевым управлением)

    Для моделей с кузовом типа "седан": Нажмите здесь Click here

    для моделей с кузовом типа "хэтчбэк", "универсал": Нажмите здесь Click here

  21. УСТАНОВИТЕ ЭЛЕКТРОДВИГАТЕЛЬ И ТЯГУ СТЕКЛООЧИСТИТЕЛЯ ВЕТРОВОГО СТЕКЛА В СБОРЕ

    Нажмите здесь Click here

  22. ДОБЕЙТЕСЬ УСТОЙЧИВОСТИ ПОДВЕСКИ


    1. Опустите автомобиль.

    2. Стабилизируйте подвеску, несколько раз покачав автомобиль вверх-вниз.

  23. ПРОВЕРЬТЕ И ОТРЕГУЛИРУЙТЕ УГЛЫ УСТАНОВКИ ПЕРЕДНИХ КОЛЕС

    Нажмите здесь Click here