СИСТЕМА МЕХАНИЧЕСКОЙ ТРАНСМИССИИ "MULTIMODE", Diagnostic DTC:P0900

DTC Code DTC Name
P0900 Clutch Actuator Circuit

DESCRIPTION

The clutch actuator is operated by the TCM and engages and disengages the clutch by the clutch master cylinder movement of the clutch actuator. An electric motor moves the clutch master cylinder, and the clutch stroke sensor, which is mounted on the clutch actuator assembly, detects the clutch master cylinder position. The TCM monitors the electrical current and clutch motor output terminal voltage, and detects malfunctions in the clutch motor circuit.

DTC No. Detection Item DTC Detection Condition Trouble Area MIL Warning Indicate Memory
P0900 Clutch Actuator Circuit

The TCM detects the following conditions:

(1-trip detection logic)


  1. Clutch motor is not energized.

  2. Voltage of clutch motor terminal (MCL+ or MCL-) is less than threshold*1, or more than threshold*2 for 0.5 seconds.

The TCM detects the following conditions:

(1-trip detection logic)


  1. Clutch motor is energized.

  2. Target clutch motor current is more than 5 A.

  3. Actual clutch motor current is less than 1 A*3.

The TCM detects the following conditions:

(1-trip detection logic)


  1. Clutch motor is not energized.

  2. Difference between maximum and minimum voltages of clutch motor terminal (MCL+ or MCL-) is more than threshold*4 for 0.5 seconds.


  • Clutch actuator assembly (clutch motor)

  • Open or short in clutch motor circuit

  • TCM

Does not come on Comes on DTC stored

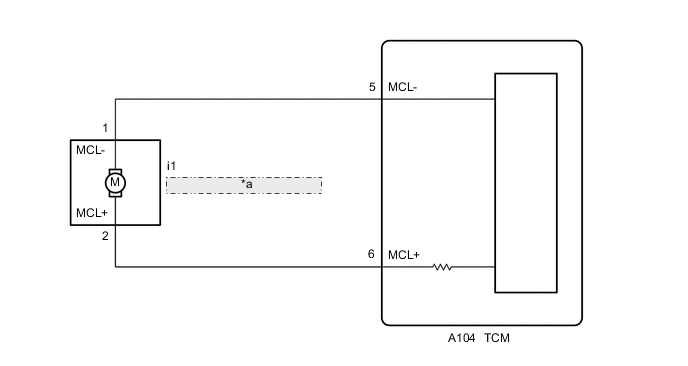
WIRING DIAGRAM

A01T8UFE01
*a Clutch Actuator Assembly (Clutch Motor)

CAUTION / NOTICE / HINT

Note

When installing parts related to the multi-mode manual transaxle system, perform the initialization and learning and synchronization position calibration procedures. In addition, the required operations differ according to the parts to be installed. Proceed with the operation in the order shown in the table below.

After Installation
Part Installed Part Installed See Procedure

  • Transaxle assembly

  • Transaxle parts (inside gear box)

  • TCM

  • Clutch actuator assembly

  • Clutch disc and clutch cover

  • Clutch release with bearing cylinder assembly

  • Flywheel

  • Crankshaft

1. Initialization of multi-mode manual transaxle system

[Tester display: Initialization of ECU]

Click here

2. Learning of multi-mode manual transaxle system
3. Synchronization position calibration

  • Shift and select actuator

  • Shift stroke sensor

  • Select stroke sensor

1. Initialization of multi-mode manual transaxle system

[Tester display: Initialization of transmission]

2. Learning of multi-mode manual transaxle system
3. Synchronization position calibration

  • Clutch stroke sensor

1. Initialization of multi-mode manual transaxle system

[Tester display: Initialization of clutch]

2. Learning of multi-mode manual transaxle system

If the sensor or actuator is installed without the initialization and learning procedures, it may cause driving performance degradation or system component breakage.

PROCEDURE


  1. INSPECT TCM (MCL TERMINAL VOLTAGE)

    Result
    Proceed to
    OK
    NG

    1. Turn the ignition switch to ON.

    2. A01TD8TC08
      *a

      Component with harness connected

      (TCM)

      Measure the voltage according to the value(s) in the table below.

      Standard Voltage
      Tester Connection Condition Specified Condition
      A104-6 (MCL+) - Body ground Ignition switch ON 4.0 to 7.0 V
      A104-5 (MCL-) - Body ground Ignition switch ON 4.0 to 7.0 V
    3. Turn the ignition switch off.

      Result
      Proceed to
      OK
      NG

    OK
    NG
  2. CHECK TERMINAL CONDITION (TCM)

    Result
    Proceed to
    OK
    NG

    1. Disconnect the TCM connector.

    2. Check the connections of the TCM connector.

      OK
      The TCM and wire harness connectors and connector terminals are connected securely and are not bent, rusted, or damaged.
      Result
      Proceed to
      OK
      NG

    NG
    OK
  3. INSPECT CLUTCH ACTUATOR CIRCUIT

    Result
    Proceed to
    OK
    NG

    1. A01TB5RC05
      *a

      Front view of wire harness connector

      (to TCM)

      Measure the resistance according to the value(s) in the table below.

      Standard Resistance
      Tester Connection Condition Specified Condition
      A104-6 (MCL+) - A104-5 (MCL-) Always Below 10 Ω
      A104-6 (MCL+) - Body ground Always 10 kΩ or higher
      A104-5 (MCL-) - Body ground Always 10 kΩ or higher
      Result
      Proceed to
      OK
      NG

    NG
    OK
  4. REPLACE TCM


    1. Replace the TCM.

      for LHD: Click here

      for RHD: Click here

      Result
      Proceed to
      NEXT

    NEXT
  5. PERFORM INITIALIZATION


    1. Perform the initialization and learning procedure.

      Click here

      Result
      Proceed to
      NEXT

    NEXT
  6. CHECK TERMINAL CONDITION (CLUTCH ACTUATOR)

    Result
    Proceed to
    OK
    NG

    1. Disconnect the clutch actuator assembly connector.

    2. Check the connections of the clutch actuator assembly connector.

      OK
      The clutch actuator and wire harness connectors and connector terminals are connected securely and are not bent, rusted, or damaged.
      Result
      Proceed to
      OK
      NG

    NG
    OK
  7. CHECK HARNESS AND CONNECTOR (TCM - CLUTCH ACTUATOR)

    Result
    Proceed to
    OK
    NG

    1. Measure the resistance according to the value(s) in the table below.

      Standard Resistance
      Tester Connection Condition Specified Condition
      A104-6 (MCL+) - i1-2 (MCL+) Always Below 1 Ω
      A104-5 (MCL-) - i1-1 (MCL-) Always Below 1 Ω
      A104-6 (MCL+) or i1-2 (MCL+) - Body ground Always 10 kΩ or higher
      A104-5 (MCL-) or i1-1 (MCL-) - Body ground Always 10 kΩ or higher
      Result
      Proceed to
      OK
      NG

    NG
    OK
  8. INSPECT CLUTCH ACTUATOR ASSEMBLY

    Result
    Proceed to
    OK
    NG

    1. A01TCKMC02
      *a

      Component without harness connected

      (Clutch Actuator Assembly)

      Measure the resistance according to the value(s) in the table below.

      Standard Resistance
      Tester Connection Switch Condition Specified Condition
      1 (MCL-) - 2 (MCL+) Always Below 10 Ω
      1 (MCL-) - Body ground Always 10 kΩ or higher
      2 (MCL+) - Body ground Always 10 kΩ or higher
      Result
      Proceed to
      OK
      NG

    OK
    NG
  9. REPLACE CLUTCH ACTUATOR ASSEMBLY


    1. Replace the clutch actuator assembly.

      Click here

      Result
      Proceed to
      NEXT

    NEXT
  10. PERFORM INITIALIZATION


    1. Perform the initialization and learning procedure.

      Click here

      Result
      Proceed to
      NEXT

    NEXT