ГЕНЕРАТОР (для моделей с номинальным током 130 A) ПРОВЕРКА

ПОРЯДОК ВЫПОЛНЕНИЯ


  1. ПРОВЕРЬТЕ ШКИВ ГЕНЕРАТОРА С МУФТОЙ


    1. A01XF65

      Удерживая центр шкива генератора с муфтой, убедитесь, что наружное кольцо поворачивается против часовой стрелки и не поворачивается по часовой стрелке.

      Обозначения на рисунке
      B001CHY Раэблокировано
      B001DEF Заблокировано

      Если результат проверки не отвечает требованиям, замените шкив муфты.

  2. ПРОВЕРЬТЕ ЩЕТКОДЕРЖАТЕЛЬ ГЕНЕРАТОРА В СБОРЕ


    1. A01XIBPE19
      Обозначения на рисунке
      *a Длина

      Измерьте штангенциркулем длину выступающей части щеток.

      Номинальная длина выступающей части щетки:
      9,5 - 11,5 мм (0,374 - 0,453 дюйма)
      Минимально допустимая длина выступающей части щетки
      4,5 мм (0,177 дюйма)

      Если длина выступающей части щетки меньше минимально допустимой, замените щеткодержатель генератора в сборе.

  3. ПРОВЕРЬТЕ РОТОР ГЕНЕРАТОРА В СБОРЕ


    1. A01XCTN

      Проверьте, не изношен ли подшипник ротора генератора, и убедитесь, что он вращается плавно.

      При необходимости замените ротор генератора в сборе.

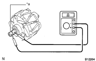
    2. Проверьте, нет ли обрыва цепи в роторе генератора.


      1. A01XLISE56
        Обозначения на рисунке
        *a Токосъемное кольцо

        Измерьте сопротивление в соответствии со значениями, приведенными в таблице ниже.

        Номинальное сопротивление
        Подключение диагностического прибора Условие Заданные условия
        Токосъемное кольцо - токосъемное кольцо 20°C (68°F) 1,55 - 1,95 Ом

        Если результат не соответствует заданному, замените ротор генератора в сборе.

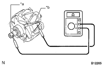
    3. Проверьте, нет ли в роторе генератора короткого замыкания на массу.


      1. A01XCVLE49
        Обозначения на рисунке
        *a Токосъемное кольцо
        *b Сердечник ротора

        Измерьте сопротивление в соответствии со значениями, приведенными в таблице ниже.

        Номинальное сопротивление
        Подключение диагностического прибора Условие Заданные условия
        Токосъемное кольцо - сердечник ротора Всегда 10 МОм или более

        Если результат не соответствует заданному, замените ротор генератора в сборе.

    4. Осмотрите все токосъемные кольца.


      1. Убедитесь, что токосъемные кольца не имеют шероховатостей и задиров.

        Если на токосъемных кольцах есть шероховатости или задиры, замените ротор генератора в сборе.

      2. A01XLI8E09
        Обозначения на рисунке
        *a Диаметр

        Измерьте диаметр токосъемных колец штангенциркулем.

        Номинальный диаметр
        14,2-14,8 мм (0,559-0,583 дюйма)
        Минимально допустимый диаметр
        14,0 мм (0,551 дюйма)

        Если диаметр меньше минимально допустимого, замените ротор генератора в сборе.