РУЛЕВОЕ КОЛЕСО ПРОВЕРКА

ПОРЯДОК ВЫПОЛНЕНИЯ


  1. ПРОВЕРЬТЕ ПЕРЕКЛЮЧАТЕЛИ НА РУЛЕВОМ КОЛЕСЕ


    1. Измерьте сопротивление в соответствии со значениями, приведенными в таблице ниже.

      B001FMHE03
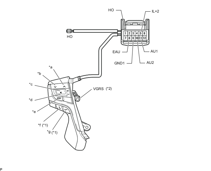
      Обозначения на рисунке
      *1 для моделей с выключателем ACC *2 для моделей с выключателем LDA
      *3 для моделей с выключателем Voice *4 для моделей с выключателем Hook
      *5 для моделей с VGRS - -
      *a Переключатель Seek (поиск) + *b Переключатель Seek (поиск) -
      *c Переключатель Volume (громкость) + *d Переключатель Volume (громкость) -
      *e Переключатель MODE (режим) *f Переключатель голоса
      *g Переключатель подключения к линии *h Переключатель отключения от линии
      *i LEFT (влево) *j RIGHT (вправо)
      *k UP (вверх) *l DOWN (вниз)
      *m ENTER (ввод) *n BACK (назад)
      *o TOP (верх) *p ACC
      *q LDA - -
      Номинальное сопротивление
      Подключение диагностического прибора Положение переключателя Заданные условия
      11 (AU1) - 8 (EAU) Ни один переключатель не нажат 95-105 кОм
      Нажатие переключателя SEEK+ (поиск+) Менее 2,5 Ом
      Нажатие выключателя SEEK- (поиск-) 313 - 345 Ом
      Нажатие выключателя VOL+ (громкость+) 950 - 1050 Ом
      Нажатие переключателя VOL- (громкость-) 2955 - 3265 Ом
      10 (AU2) - 8 (EAU) Ни один переключатель не нажат 95-105 кОм
      Нажатие переключателя MODE (режим) Менее 2,5 Ом
      Нажатие выключателя VOICE (голос) 2955 - 3265 Ом
      Переключатель On Hook (отключение от линии) нажат 313 - 345 Ом
      Переключатель Off Hook (подключение к линии) нажат 950 - 1050 Ом
      2 (+DP) - 8 (EAU) Ни один переключатель не нажат 95-105 кОм
      Переключатель "влево" нажат Менее 2,5 Ом
      Переключатель "вправо" нажат 2955 - 3265 Ом
      Переключатель "вверх" нажат 313 - 345 Ом
      Переключатель "вниз" нажат 950 - 1050 Ом
      4 (DIST) - 7 (ECC) Ни один переключатель не нажат 1 МОм или больше
      Переключатель ACC нажат Менее 2,5 Ом
      Выключатель LDA нажат 228 - 252 Ом
      HO - 1 (HO) Всегда Менее 2,5 Ом
      VGRS - 9 (GND1) Всегда Менее 2,5 Ом

      Если результат не соответствует требованиям, замените переключатель на рулевом колесе.

    2. Подсоедините положительный (+) вывод аккумуляторной батареи к контакту 5 (IL+2), а отрицательный (-) – к контакту 8 (EAU) разъема выключателей на рулевом колесе.

    3. Убедитесь, что подсветка переключателя включается.

      OK
      Подсветка переключателя на рулевом колесе на включается.

      Если результат проверки не отвечает требованиям, замените переключатели на рулевом колесе.

  2. ПРОВЕРЬТЕ ЛЕВЫЙ ПЕРЕКЛЮЧАТЕЛЬ НА РУЛЕВОМ КОЛЕСЕ


    1. Измерьте сопротивление в соответствии со значениями, приведенными в таблице ниже.

      B001CNOE02
      Обозначения на рисунке
      *1 для моделей с выключателем Hook *2 для моделей с VGRS
      *a Переключатель Seek (поиск) + *b Переключатель Seek (поиск) -
      *c Переключатель Volume (громкость) + *d Переключатель Volume (громкость) -
      *e Переключатель MODE (режим) *f Переключатель подключения к линии
      *g Переключатель отключения от линии - -
      Номинальное сопротивление
      Подключение диагностического прибора Положение переключателя Заданные условия
      11 (AU1) - 8 (EAU) Ни один переключатель не нажат 95-105 кОм
      Нажатие переключателя SEEK+ (поиск+) Менее 2,5 Ом
      Нажатие выключателя SEEK- (поиск-) 313 - 345 Ом
      Нажатие выключателя VOL+ (громкость+) 950 - 1050 Ом
      Нажатие переключателя VOL- (громкость-) 2955 - 3265 Ом
      10 (AU2) - 8 (EAU) Ни один переключатель не нажат 95-105 кОм
      Нажатие переключателя MODE (режим) Менее 2,5 Ом
      Переключатель On Hook (отключение от линии) нажат 313 - 345 Ом
      Переключатель Off Hook (подключение к линии) нажат 950 - 1050 Ом
      HO - 1 (HO) Всегда Менее 2,5 Ом
      VGRS - 9 (GND1) Всегда Менее 2,5 Ом

      Если результат проверки не отвечает требованиям, замените переключатели на рулевом колесе.

    2. Подсоедините положительный (+) вывод аккумуляторной батареи к контакту 5 (IL+2), а отрицательный (-) – к контакту 8 (EAU) разъема выключателей на рулевом колесе.

    3. Убедитесь, что подсветка переключателя включается.

      OK
      Подсветка переключателя на рулевом колесе на включается.

      Если результат проверки не отвечает требованиям, замените переключатели на рулевом колесе.