РУЛЕВАЯ КОЛОНКА В СБОРЕ (для моделей с наклонной телескопической рулевой колонкой с ручным приводом) УЗЛЫ И ДЕТАЛИ

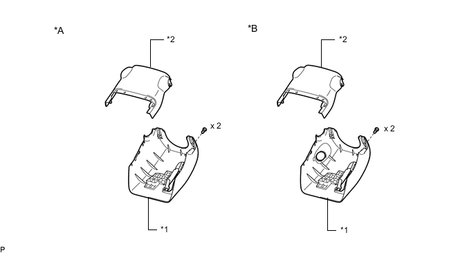
ИЛЛЮСТРАЦИЯ

B001FGBC02
*A для моделей с системой посадки и запуска *B для моделей без системы посадки и запуска
*1 НИЖНИЙ КОЖУХ РУЛЕВОЙ КОЛОНКИ *2 ВЕРХНИЙ КОЖУХ РУЛЕВОЙ КОЛОНКИ

ИЛЛЮСТРАЦИЯ

B001G4CC01
*A для моделей без системы посадки и запуска *B для моделей с системой посадки и запуска
*C для моделей с автоматической трансмиссией - -
*1 КОМБИНИРОВАННЫЙ ПЕРЕКЛЮЧАТЕЛЬ В СБОРЕ С ВИТЫМ КАБЕЛЕМ *2 РУЛЕВАЯ КОЛОНКА В СБОРЕ
*3 ПРИВОД БЛОКИРОВКИ РУЛЕВОГО УПРАВЛЕНИЯ В СБОРЕ *4 БОЛТ С КОНИЧЕСКОЙ ГОЛОВКОЙ
B001IGR Н*м (кгс*см, фунт-сила-фут) : Номинальный момент затяжки Деталь однократного применения

ИЛЛЮСТРАЦИЯ

B001G3AE01

ИЛЛЮСТРАЦИЯ

B001GWAE05