СИСТЕМА БЛОКИРОВКИ РУЛЕВОГО УПРАВЛЕНИЯ Не удается разблокировать рулевое колесо (невозможно запустить двигатель)

ОПИСАНИЕ

ЭБУ блокировки рулевого управления (привод блокировки рулевого управления или верхний кронштейн в сборе) или верхний кронштейн в сборе приводит в действие электродвигатель блокировки рулевого управления и вводит запорный штифт в рулевую колонку, чтобы заблокировать рулевое колесо.

В случае застревания запорного штифта в отверстии замка рулевой колонки рулевое колесо может не разблокироваться. При этом, если выключатель зажигания находится в положении ON (ВКЛ) (IG) со встряхиванием рулевого колеса таким же образом, как в автомобилях с механическим ключом, это приводит к освобождению запорного штифта. В случае замены ЭБУ сертификации (ЭБУ электронного ключа зажигания в сборе), блока идентификационного кода (ЭБУ кода иммобилайзера) или ECM требуется инициализировать систему. В противном случае рулевое управление не разблокируется (невозможно запустить двигатель).

Связанные параметры режимов Data List и Active Test
Признаки неисправностей Режимы Data List и Active Test
Не удается разблокировать рулевое колесо (невозможно запустить двигатель)

    Entry&Start

  • Unlock Request Receive

  • S Code Check

  • L Code Check

  • Steering Unlock

СХЕМА ЭЛЕКТРИЧЕСКИХ СОЕДИНЕНИЙ

B001G7PE03

ПРЕДОСТЕРЕЖЕНИЕ / ПРИМЕЧАНИЕ / УКАЗАНИЕ

Note


  • При использовании GTS с выключенным зажиганием двигателя, подсоедините GTS к DLC3 и включайте и выключайте освещение проема двери с интервалами 1,5 секунды или менее до тех пор, пока не начнется обмен данными между GTS и автомобилем. Затем выберите код модели "KEY REGIST" в ручном режиме и войдите в следующие пункты меню: Body Electrical / Entry&Start(CAN). При использовании GTS периодически включайте и выключайте выключатель освещения дверного проема с интервалом не более 1,5 с, чтобы поддерживать связь между GTS и автомобилем.

  • По окончании ремонта убедитесь, что неисправность не проявляется вновь.

  • После ремонта выполните операцию "Подтверждение вывода кода DTC" и убедитесь, что коды DTC не выводятся.

  • Убедитесь в том, что коды DTC не выводятся. Если выводятся какие-либо DTC, обратитесь к таблице диагностических кодов неисправностей.

  • Перед выполнением последующей процедуры проверки проверьте плавкие предохранители цепей, относящихся к данной системе.

  • Перед заменой ЭБУ блокировки рулевого управления (привода блокировки рулевого управления или верхнего кронштейна в сборе), ЭБУ сертификации (ЭБУ электронного ключа зажигания в сборе) или блока идентификационного кода (ЭБУ кода иммобилайзера) необходимо ознакомиться с бюллетенем технического обслуживания.

ПОРЯДОК ВЫПОЛНЕНИЯ


  1. ПРОВЕРЬТЕ ФУНКЦИЮ ИЗМЕНЕНИЯ РЕЖИМА ИСТОЧНИКА ПИТАНИЯ (СОСТОЯНИЕ ВЫКЛЮЧАТЕЛЯ)


    1. Проверьте изменение режима источника питания.

      Нажмите здесь Click here

      OK
      Источник питания переводится во включенное состояние (IG).
      Результат
      Следующий шаг
      OK (для моделей с мультиинформационным дисплеем (TFT-типа))
      OK (для моделей с мультиинформационным дисплеем (сегментного типа))
      NG

    OK (для моделей с мультиинформационным дисплеем (TFT-типа))
    NG
    OK (для моделей с мультиинформационным дисплеем (сегментного типа))
  2. ПРОВЕРЬТЕ КОНТРОЛЬНУЮ ЛАМПУ


    1. Когда зажигание включено (IG), убедитесь, что контрольная лампа системы посадки на щитке приборов горит зеленым светом.

      Результат
      Результат Перейти к
      Контрольная лампа системы посадки горит зеленым. А
      Контрольная лампа системы посадки не горит зеленым. B

    А
    B
  3. ПРОВЕРЬТЕ КОНТРОЛЬНУЮ ЛАМПУ


    1. При включенном зажигании (IG) убедитесь, что на мультиинформационном дисплее в щитке приборов в сборе отображается сообщение "Push the engine switch while turning steering wheel in either direction" (нажмите на выключатель зажигания, поворачивая рулевое колесо в любом направлении).

      Результат
      Результат Следующий шаг
      Сообщение "Push the engine switch while turning steering wheel in either direction" (нажмите на выключатель зажигания, поворачивая рулевое колесо в любом направлении) отображается. А
      Сообщение "Push the engine switch while turning steering wheel in either direction" (нажмите на выключатель зажигания, поворачивая рулевое колесо в любом направлении) не отображается. B

    B
    А
  4. ПРОВЕРЬТЕ РАЗБЛОКИРОВКУ РУЛЕВОГО УПРАВЛЕНИЯ


    1. Поворачивая рулевое колесо влево и вправо, нажмите на выключатель зажигания.

    2. Удостоверьтесь, что рулевое колесо разблокировано.

      Результат
      Результат Следующий шаг
      Рулевое колесо заблокировано. А
      Рулевое колесо не разблокировано. B

    А
    B
  5. ПРОВЕРЬТЕ DTC


    1. Выключите зажигание.

    2. Подключите GTS к DLC3.

    3. Включите зажигание (IG).

    4. Включите GTS.

    5. Проверьте и запишите выводимые коды DTC.

      Нажмите здесь Click here

      Результат
      Результат Следующий шаг
      DTC не выводятся. А
      Выводятся коды DTC. B

    B
    А
  6. СНИМИТЕ ПОКАЗАНИЯ GTS (UNLOCK REQUEST RECEIVE)


    1. Войдите в следующие меню: Body Electrical / Entry&Start / Data List.

    2. Снимите показания с дисплея GTS в режиме DATA LIST.

      Entry&Start (посадка и запуск)
      Информация на дисплее прибора Измеряемая величина Диапазон Нормальное состояние Замечание по диагностике
      Unlock Request Receive Состояние получения сигнала запроса разблокировки OK или NG

      ОК: Сигнал запроса разблокировки получен в течение 10 с с момента включения зажигания (IG или ACC) или с момента запуска двигателя

      NG: Зажигание не включено (IG или ACC), и операция запуска двигателя не выполнялась


      • Если сигнал запроса разблокировки не принимается, запуск двигателя невозможен.

      • Если значение OK не отображается, даже если выполняются условия разблокировки рулевого управления, возможно, неисправен ЭБУ сертификации (ЭБУ электронного ключа зажигания в сборе).

      OK
      В течение 10 с после включения зажигания ((ACC) или (IG)) или запуска двигателя значение параметра Data List изменяется на "OK".
      Результат
      Перейти к
      OK
      NG

    NG
    OK
  7. СНИМИТЕ ПОКАЗАНИЯ GTS (S CODE CHECK)


    1. Снимите показания с дисплея GTS в режиме DATA LIST.

      Entry&Start (посадка и запуск)
      Информация на дисплее прибора Измеряемая величина Диапазон Нормальное состояние Замечание по диагностике
      S Code Check Результат проверки подлинности между ЭБУ сертификации (ЭБУ электронного ключа зажигания в сборе) и блоком идентификационного кода (ЭБУ кода иммобилайзера) OK или NG

      ОК: нормальный результат верификации

      NG: ненормальный результат верификации

      Когда отображается NG:


      • Идентификационный код для ЭБУ сертификации (ЭБУ электронного ключа зажигания) или блока идентификационного кода (ЭБУ кода иммобилайзера) не зарегистрирован, либо ЭБУ сертификации (ЭБУ электронного ключа зажигания) или блок идентификационного кода (ЭБУ кода иммобилайзера) неисправен.

      • Рулевое управление не блокируется.

      • Рулевое управление не разблокируется (невозможно запустить двигатель).

      OK
      На экране GTS отображается "ОК".

      Tech Tips

      Причины сбоя верификации:


      • Неисправен ЭБУ сертификации (ЭБУ электронного ключа зажигания в сборе) или блок идентификационного кода (ЭБУ кода иммобилайзера).

      • Нарушение связи между ЭБУ.

      • ЭБУ был заменен, но не был зарегистрирован.

      • ЭБУ заменен блоком, в котором уже сохранен код.

      Результат
      Перейти к
      OK
      NG

    NG
    OK
  8. СНИМИТЕ ПОКАЗАНИЯ GTS (L CODE CHECK)


    1. Снимите показания с дисплея GTS в режиме DATA LIST.

      Entry&Start (посадка и запуск)
      Информация на дисплее прибора Измеряемая величина Диапазон Нормальное состояние Замечание по диагностике
      L Code Check Результат проверки подлинности между блоком идентификационного кода (ЭБУ кода иммобилайзера) и ЭБУ блокировки рулевого управления (приводом блокировки рулевого управления или верхним кронштейном в сборе) OK или NG

      ОК: нормальный результат верификации

      NG: ненормальный результат верификации

      Когда отображается NG:


      • Идентификационный код для блока идентификационного кода (ЭБУ кода иммобилайзера) или ЭБУ блокировки рулевого управления (привода блокировки рулевого управления или верхнего кронштейна в сборе) не зарегистрирован, либо блок идентификационного кода (ЭБУ кода иммобилайзера) или ЭБУ блокировки рулевого управления (привод блокировки рулевого управления или верхний кронштейн в сборе) неисправен.

      • Рулевое управление не блокируется.

      • Рулевое управление не разблокируется (невозможно запустить двигатель).

      OK
      На экране GTS отображается "ОК".

      Tech Tips

      Причины сбоя верификации:


      • ЭБУ блокировки рулевого управления (привод блокировки рулевого управления или верхний кронштейн в сборе) или блок идентификационного кода (ЭБУ кода иммобилайзера) неисправен.

      • Нарушение связи между ЭБУ.

      • ЭБУ был заменен, но не был зарегистрирован.

      • ЭБУ заменен блоком, в котором уже сохранен код.

      Результат
      Перейти к
      OK
      NG

    NG
    OK
  9. ПРОВЕРЬТЕ ЖГУТ ПРОВОДОВ И РАЗЪЕМ (ЭБУ БЛОКИРОВКИ РУЛЕВОГО УПРАВЛЕНИЯ (ПРИВОД БЛОКИРОВКИ РУЛЕВОГО УПРАВЛЕНИЯ ИЛИ ВЕРХНИЙ КРОНШТЕЙН В СБОРЕ) — ИСТОЧНИК ПИТАНИЯ И МАССА)


    1. B001CFQC51
      *a

      Вид спереди разъема со стороны жгута проводов:

      (к ЭБУ блокировки рулевого управления (приводу блокировки рулевого управления или верхнему кронштейну в сборе))

      Отсоедините разъем ЭБУ блокировки рулевого управления (привода блокировки рулевого управления или верхнего кронштейна в сборе).

    2. Измерьте сопротивление в соответствии со значениями, приведенными в таблице ниже.

      Номинальное сопротивление
      Подключение диагностического прибора Условие Заданные условия
      G35-1 (GND) - масса Всегда Менее 1 Ом

      Note

      Если результат не отвечает требованиям, проверьте надежность подключения провода соединения с массой.

    3. Измерьте напряжение в соответствии со значениями, приведенными в таблице.

      Номинальное напряжение
      Подключение диагностического прибора Условие Заданные условия
      G35-7 (B) - масса Всегда 11-14 В
      Результат
      Перейти к
      OK
      NG

    NG
    OK
  10. ПРОВЕРЬТЕ ЭБУ БЛОКИРОВКИ РУЛЕВОГО УПРАВЛЕНИЯ (ПРИВОД БЛОКИРОВКИ РУЛЕВОГО УПРАВЛЕНИЯ ИЛИ ВЕРХНИЙ КРОНШТЕЙН В СБОРЕ) (СИГНАЛ ВКЛЮЧЕНИЯ ЭЛЕКТРОДВИГАТЕЛЯ)


    1. Подсоедините разъем ЭБУ блокировки рулевого управления (привода блокировки рулевого управления или верхнего кронштейна в сборе).

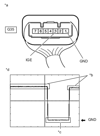
    2. B001EHJC05
      *a

      Устройство с подсоединенным жгутом проводов

      (ЭБУ блокировки рулевого управления (привод блокировки рулевого управления или верхний кронштейн в сборе))

      *b Электродвигатель блокировки рулевого управления не работает
      *c Электродвигатель блокировки рулевого управления работает
      *d Осциллограмма

      С помощью осциллографа проверьте форму сигнала.

      OK
      Параметр / Устройство Описание
      Подключение диагностического прибора G35-3 (IGE) - G35-1 (GND)
      Настройки прибора 2 В / дел., 200 мс/ дел.
      Условие

      Любая из дверей открыта при соблюдении других условий, выполняется активация электродвигателя блокировки рулевого управления:


      • Рычаг переключения передач в положении Р*

      • Рулевое управление разблокировано пользователем, который имел при себе передатчик электронного ключа в сборе и включил зажигание (IG)

      • После выполнения указанных выше условий зажигание выключается

      Заданные условия

      Формирование импульсов

      (см. осциллограмму)


      • *: для моделей с автоматической трансмиссией

      Tech Tips


      • При проведении измерений, когда двигатель блокировки не работает, не требуется выполнять никаких действий.

      • Чтобы провести измерения во время работы двигателя блокировки, выполните одно из следующих действий:


        • Чтобы разблокировать рулевое управление, поместите передатчик электронного ключа в сборе в салон и включите зажигание (ACC) или (IG).

        • Чтобы заблокировать рулевое управление, выключите зажигание с рычагом переключения передач в положении P*, а затем откройте дверь.


          • *: для моделей с автоматической трансмиссией

      Результат
      Перейти к
      OK
      NG

    OK
    NG
  11. ПРОВЕРЬТЕ ЖГУТ ПРОВОДОВ И РАЗЪЕМ (ЭБУ СЕРТИФИКАЦИИ (ЭБУ ЭЛЕКТРОННОГО КЛЮЧА ЗАЖИГАНИЯ) - ЭБУ БЛОКИРОВКИ РУЛЕВОГО УПРАВЛЕНИЯ (ПРИВОД БЛОКИРОВКИ РУЛЕВОГО УПРАВЛЕНИЯ ИЛИ ВЕРХНИЙ КРОНШТЕЙН В СБОРЕ))


    1. Отсоедините разъем G35 ЭБУ блокировки рулевого управления (привода блокировки рулевого управления или верхнего кронштейна в сборе).

    2. Отсоедините разъем G215 ЭБУ сертификации (ЭБУ электронного ключа зажигания в сборе).

    3. Измерьте сопротивление в соответствии со значениями, приведенными в таблице ниже.

      Номинальное сопротивление
      Подключение диагностического прибора Условие Заданные условия
      G35-3 (IGE) - G215-24 (SLR+) Всегда Менее 1 Ом
      G35-3 (IGE) или G215-24 (SLR+) - другие контакты и масса Всегда 10 кОм или более
      Результат
      Перейти к
      OK
      NG

    NG
    OK
  12. ПРОВЕРЬТЕ ЭБУ БЛОКИРОВКИ РУЛЕВОГО УПРАВЛЕНИЯ (ПРИВОД БЛОКИРОВКИ РУЛЕВОГО УПРАВЛЕНИЯ ИЛИ ВЕРХНИЙ КРОНШТЕЙН В СБОРЕ)


    1. B001D6NC72
      *a

      Устройство с подсоединенным жгутом проводов

      (ЭБУ блокировки рулевого управления (привод блокировки рулевого управления или верхний кронштейн в сборе))

      Подсоедините разъем ЭБУ блокировки рулевого управления (привода блокировки рулевого управления или верхнего кронштейна в сборе).

    2. Измерьте напряжение в соответствии со значениями, приведенными в таблице.

      Номинальное напряжение
      Подключение диагностического прибора Условие Заданные условия
      G35-3 (IGE) - масса Всегда 11-14 В
      Результат
      Перейти к
      OK
      NG

    OK
    NG
  13. ПРОВЕРЬТЕ ЭБУ БЛОКИРОВКИ РУЛЕВОГО УПРАВЛЕНИЯ (ПРИВОД БЛОКИРОВКИ РУЛЕВОГО УПРАВЛЕНИЯ ИЛИ ВЕРХНИЙ КРОНШТЕЙН В СБОРЕ)


    1. Замените ЭБУ блокировки рулевого управления (привод блокировки рулевого управления или верхний кронштейн в сборе) новым.

      Для моделей с наклонной телескопической рулевой колонкой с электроприводом:

      Нажмите здесь Click here

      Для моделей с наклонной телескопической рулевой колонкой с ручным приводом:

      Нажмите здесь Click here

    2. Выполните регистрацию.

      Tech Tips

      См. бюллетень технического обслуживания.

    3. Снимите показания с дисплея GTS в режиме DATA LIST.

      Entry&Start (посадка и запуск)
      Информация на дисплее прибора Измеряемая величина Диапазон Нормальное состояние Замечание по диагностике
      L Code Check Результат проверки подлинности между блоком идентификационного кода (ЭБУ кода иммобилайзера) и ЭБУ блокировки рулевого управления (приводом блокировки рулевого управления или верхним кронштейном в сборе) OK или NG

      ОК: нормальный результат верификации

      NG: ненормальный результат верификации

      Когда отображается NG:


      • Идентификационный код для блока идентификационного кода (ЭБУ кода иммобилайзера) или ЭБУ блокировки рулевого управления (привода блокировки рулевого управления или верхнего кронштейна в сборе) не зарегистрирован, либо блок идентификационного кода (ЭБУ кода иммобилайзера) или ЭБУ блокировки рулевого управления (привод блокировки рулевого управления или верхний кронштейн в сборе) неисправен.

      • Рулевое управление не блокируется.

      • Рулевое управление не разблокируется (невозможно запустить двигатель).

      OK
      На экране GTS отображается "ОК".
      Результат
      Перейти к
      OK
      NG

    OK
    NG
  14. ПРОВЕРЬТЕ ЭБУ СЕРТИФИКАЦИИ (ЭБУ ЭЛЕКТРОННОГО КЛЮЧА ЗАЖИГАНИЯ В СБОРЕ)


    1. Замените ЭБУ сертификации (ЭБУ электронного ключа зажигания в сборе) новым и выполните регистрацию еще раз.

      Tech Tips

      См. бюллетень технического обслуживания.

    2. Выполните регистрацию.

      Tech Tips

      См. бюллетень технического обслуживания.

    3. Снимите показания с дисплея GTS в режиме DATA LIST.

      Entry&Start (посадка и запуск)
      Информация на дисплее прибора Измеряемая величина Диапазон Нормальное состояние Замечание по диагностике
      S Code Check Результат проверки подлинности между ЭБУ сертификации (ЭБУ электронного ключа зажигания в сборе) и блоком идентификационного кода (ЭБУ кода иммобилайзера) OK или NG

      ОК: нормальный результат верификации

      NG: ненормальный результат верификации

      Когда отображается NG:


      • Идентификационный код для ЭБУ сертификации (ЭБУ электронного ключа зажигания) или блока идентификационного кода (ЭБУ кода иммобилайзера) не зарегистрирован, либо ЭБУ сертификации (ЭБУ электронного ключа зажигания) или блок идентификационного кода (ЭБУ кода иммобилайзера) неисправен.

      • Рулевое управление не блокируется.

      • Рулевое управление не разблокируется (невозможно запустить двигатель).

      OK
      На экране GTS отображается "ОК".
      Результат
      Перейти к
      OK
      NG

    OK
    NG
  15. ПРОВЕРЬТЕ ЭБУ БЛОКИРОВКИ РУЛЕВОГО УПРАВЛЕНИЯ (ПРИВОД БЛОКИРОВКИ РУЛЕВОГО УПРАВЛЕНИЯ ИЛИ ВЕРХНИЙ КРОНШТЕЙН В СБОРЕ)


    1. B001D6NC73
      *a

      Устройство с подсоединенным жгутом проводов

      (ЭБУ блокировки рулевого управления (привод блокировки рулевого управления или верхний кронштейн в сборе))

      Измерьте напряжение в соответствии со значениями, приведенными в таблице.

      Номинальное напряжение
      Подключение диагностического прибора Условие Заданные условия
      G35-4 (SLP1) - масса Всегда 11-14 В
      Результат
      Перейти к
      OK
      NG

    NG
    OK
  16. СНИМИТЕ ПОКАЗАНИЯ GTS (STEERING UNLOCK)


    1. Удостоверьтесь, что рулевое колесо заблокировано.

    2. Снимите показания с дисплея GTS в режиме DATA LIST.

      Entry&Start (посадка и запуск)
      Информация на дисплее прибора Измеряемая величина Диапазон Нормальное состояние Замечание по диагностике
      Steering Unlock Состояние подтверждения разблокировки ЭБУ блокировки рулевого управления (привода блокировки рулевого управления или верхнего кронштейна в сборе) Unset или Set

      Unset (не установлено): разблокировка не подтверждена

      Set (установлено): разблокировка подтверждена

      Если отображается Unset, рулевое колесо не разблокировано (запуск двигателя невозможен).
      OK
      На экране GTS отображается Set.
      Результат
      Перейти к
      OK
      NG

    NG
    OK
  17. ПРОВЕРЬТЕ ЭБУ СЕРТИФИКАЦИИ (ЭБУ ЭЛЕКТРОННОГО КЛЮЧА)


    1. Замените ЭБУ сертификации (ЭБУ электронного ключа зажигания) новым.

      Tech Tips

      См. бюллетень технического обслуживания.

    2. Выполните регистрацию.

      Tech Tips

      См. бюллетень технического обслуживания.

    3. Снимите показания с дисплея GTS в режиме DATA LIST.

      Entry&Start (посадка и запуск)
      Информация на дисплее прибора Измеряемая величина Диапазон Нормальное состояние Замечание по диагностике
      Unlock Request Receive Состояние получения сигнала запроса разблокировки OK или NG

      ОК: Сигнал запроса разблокировки получен в течение 10 с с момента включения зажигания (IG или ACC) или с момента запуска двигателя

      NG: Зажигание не включено (IG или ACC), и операция запуска двигателя не выполнялась


      • Если сигнал запроса разблокировки не принимается, запуск двигателя невозможен.

      • Если значение OK не отображается, даже если выполняются условия разблокировки рулевого управления, возможно, неисправен ЭБУ сертификации (ЭБУ электронного ключа зажигания в сборе).

      OK
      В течение 10 с после включения зажигания ((ACC) или (IG)) или запуска двигателя значение параметра Data List изменяется на "OK".
      Результат
      Перейти к
      OK
      NG

    OK
    NG
  18. ПРОВЕРЬТЕ ЖГУТ ПРОВОДОВ И РАЗЪЕМ (ЭБУ СЕРТИФИКАЦИИ (ЭБУ ЭЛЕКТРОННОГО КЛЮЧА ЗАЖИГАНИЯ) - ЭБУ БЛОКИРОВКИ РУЛЕВОГО УПРАВЛЕНИЯ (ПРИВОД БЛОКИРОВКИ РУЛЕВОГО УПРАВЛЕНИЯ ИЛИ ВЕРХНИЙ КРОНШТЕЙН В СБОРЕ))


    1. Отсоедините разъем G35 ЭБУ блокировки рулевого управления (привода блокировки рулевого управления или верхнего кронштейна в сборе).

    2. Отсоедините разъем G215 ЭБУ сертификации (ЭБУ электронного ключа зажигания в сборе).

    3. Измерьте сопротивление в соответствии со значениями, приведенными в таблице ниже.

      Номинальное сопротивление
      Подключение диагностического прибора Условие Заданные условия
      G35-4 (SLP1) - G215-23 (SLP) Всегда Менее 1 Ом
      G35-4 (SLP1) или G215-23 (SLP) - другие контакты и масса Всегда 10 кОм или более
      Результат
      Перейти к
      OK
      NG

    NG
    OK
  19. ПРОВЕРЬТЕ ЭБУ БЛОКИРОВКИ РУЛЕВОГО УПРАВЛЕНИЯ (ПРИВОД БЛОКИРОВКИ РУЛЕВОГО УПРАВЛЕНИЯ ИЛИ ВЕРХНИЙ КРОНШТЕЙН В СБОРЕ)


    1. Замените ЭБУ блокировки рулевого управления (привод блокировки рулевого управления или верхний кронштейн в сборе) новым.

      Для моделей с наклонной телескопической рулевой колонкой с электроприводом:

      Нажмите здесь Click here

      Для моделей с наклонной телескопической рулевой колонкой с ручным приводом:

      Нажмите здесь Click here

    2. Выполните регистрацию.

      Tech Tips

      См. бюллетень технического обслуживания.

    3. Снимите показания с дисплея GTS в режиме DATA LIST.

      Entry&Start (посадка и запуск)
      Информация на дисплее прибора Измеряемая величина Диапазон Нормальное состояние Замечание по диагностике
      Unlock Request Receive Состояние получения сигнала запроса разблокировки OK или NG

      ОК: Сигнал запроса разблокировки получен в течение 10 с с момента включения зажигания (IG или ACC) или с момента запуска двигателя

      NG: Зажигание не включено (IG или ACC), и операция запуска двигателя не выполнялась


      • Если сигнал запроса разблокировки не принимается, запуск двигателя невозможен.

      • Если значение OK не отображается, даже если выполняются условия разблокировки рулевого управления, возможно, неисправен ЭБУ сертификации (ЭБУ электронного ключа зажигания в сборе).

      OK
      В течение 10 с после включения зажигания ((ACC) или (IG)) или запуска двигателя значение параметра Data List изменяется на "OK".
      Результат
      Перейти к
      OK
      NG

    OK
    NG