СИСТЕМА БЛОКИРОВКИ РУЛЕВОГО УПРАВЛЕНИЯ Блокировка рулевого управления не включается

ОПИСАНИЕ

ЭБУ блокировки рулевого управления (привод блокировки рулевого управления или верхний кронштейн в сборе) или верхний кронштейн в сборе приводит в действие электродвигатель блокировки рулевого управления и вводит запорный штифт в рулевую колонку, чтобы заблокировать рулевое колесо.

Замок рулевой колонки не сможет обеспечить блокировку рулевого управления, если запорный штифт не совмещен с отверстием замка рулевой колонки. В этом случае блокировка рулевого управления может быть произведена путем поворота рулевого колеса на небольшой угол, как в автомобиле с механическим ключом, для изменения положения отверстия замка.

Связанные параметры режимов Data List и Active Test
Признаки неисправностей Режимы Data List и Active Test
Блокировка рулевого управления не включается

    Entry&Start

  • Lock Request Receive

  • S Code Check

  • L Code Check

  • Steering Lock


    Main Body

  • FR Door Courtesy SW (для моделей с правосторонним рулевым управлением)

  • FL Door Courtesy SW (для моделей с левосторонним рулевым управлением)


    Power Source Control

  • Shift P Signal

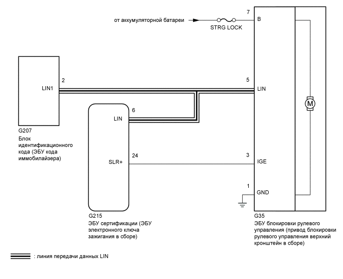
СХЕМА ЭЛЕКТРИЧЕСКИХ СОЕДИНЕНИЙ

B001F6HE02

ПРЕДОСТЕРЕЖЕНИЕ / ПРИМЕЧАНИЕ / УКАЗАНИЕ

Note


  • При использовании GTS с выключенным зажиганием двигателя, подсоедините GTS к DLC3 и включайте и выключайте освещение проема двери с интервалами 1,5 секунды или менее до тех пор, пока не начнется обмен данными между GTS и автомобилем. Затем выберите код модели "KEY REGIST" в ручном режиме и войдите в следующие пункты меню: Body Electrical / Entry&Start(CAN). При использовании GTS периодически включайте и выключайте выключатель освещения дверного проема с интервалом не более 1,5 с, чтобы поддерживать связь между GTS и автомобилем.

  • Перед выполнением последующей процедуры проверки проверьте плавкие предохранители цепей, относящихся к данной системе.

  • Убедитесь в том, что коды DTC не выводятся. Если выводятся какие-либо DTC, обратитесь к таблице диагностических кодов неисправностей.

  • По окончании ремонта убедитесь, что неисправность не проявляется вновь.

  • После ремонта выполните операцию "Подтверждение вывода кода DTC" и убедитесь, что коды DTC не выводятся.

  • Перед заменой ЭБУ блокировки рулевого управления (привода блокировки рулевого управления или верхнего кронштейна в сборе), ЭБУ сертификации (ЭБУ электронного ключа зажигания в сборе) или блока идентификационного кода (ЭБУ кода иммобилайзера) необходимо ознакомиться с бюллетенем технического обслуживания.

ПОРЯДОК ВЫПОЛНЕНИЯ


  1. СНИМИТЕ ПОКАЗАНИЯ GTS (LOCK REQUEST RECEIVE)


    1. Выключите зажигание.

    2. Подключите GTS к DLC3.

    3. Включите зажигание (IG).

    4. Включите GTS.

    5. Войдите в следующие меню: Body Electrical / Entry&Start / Data List.

    6. Снимите показания с дисплея GTS в режиме DATA LIST.

      Entry&Start (посадка и запуск)
      Информация на дисплее прибора Измеряемая величина Диапазон Нормальное состояние Замечание по диагностике
      Lock Request Receive Состояние получения сигнала запроса блокировки OK или NG

      ОК: Сигнал запроса блокировки принимается в течение 10 после открывания любой двери, когда рычаг переключения передач находится в положении P*, и зажигание выключено.

      NG: За исключением указанного выше

      Если значение OK не отображается, даже если выполняются условия блокировки рулевого управления, возможно, неисправен ЭБУ сертификации (ЭБУ электронного ключа зажигания в сборе).

      • *: для моделей с автоматической трансмиссией

      OK
      В течение 10 с после открывания любой двери, когда рычаг переключения передач находится в положении P (для моделей с автоматической трансмиссией) и зажигание выключено, значение параметра Data List меняется на "OK".
      Результат
      Перейти к
      OK
      NG

    NG
    OK
  2. СНИМИТЕ ПОКАЗАНИЯ GTS (S CODE CHECK)


    1. Снимите показания с дисплея GTS в режиме DATA LIST.

      Entry&Start (посадка и запуск)
      Информация на дисплее прибора Измеряемая величина Диапазон Нормальное состояние Замечание по диагностике
      S Code Check Результат проверки подлинности между ЭБУ сертификации (ЭБУ электронного ключа зажигания в сборе) и блоком идентификационного кода (ЭБУ кода иммобилайзера) OK или NG

      ОК: нормальный результат верификации

      NG: ненормальный результат верификации

      Когда отображается NG:


      • Идентификационный код для ЭБУ сертификации (ЭБУ электронного ключа зажигания) или блока идентификационного кода (ЭБУ кода иммобилайзера) не зарегистрирован, либо ЭБУ сертификации (ЭБУ электронного ключа зажигания) или блок идентификационного кода (ЭБУ кода иммобилайзера) неисправен.

      • Рулевое управление не блокируется.

      • Рулевое управление не разблокируется (невозможно запустить двигатель).

      OK
      На экране GTS отображается "ОК".

      Tech Tips

      Причины сбоя верификации:


      • Неисправен ЭБУ сертификации (ЭБУ электронного ключа зажигания в сборе) или блок идентификационного кода (ЭБУ кода иммобилайзера).

      • Нарушение связи между ЭБУ.

      • ЭБУ был заменен, но не был зарегистрирован.

      • ЭБУ заменен блоком, в котором уже сохранен код.

      Результат
      Перейти к
      OK
      NG

    NG
    OK
  3. СНИМИТЕ ПОКАЗАНИЯ GTS (L CODE CHECK)


    1. Снимите показания с дисплея GTS в режиме DATA LIST.

      Entry&Start (посадка и запуск)
      Информация на дисплее прибора Измеряемая величина Диапазон Нормальное состояние Замечание по диагностике
      L Code Check Результат проверки подлинности между блоком идентификационного кода (ЭБУ кода иммобилайзера) и ЭБУ блокировки рулевого управления (приводом блокировки рулевого управления или верхним кронштейном в сборе) OK или NG

      ОК: нормальный результат верификации

      NG: ненормальный результат верификации

      Когда отображается NG:


      • Идентификационный код для блока идентификационного кода (ЭБУ кода иммобилайзера) или ЭБУ блокировки рулевого управления (привода блокировки рулевого управления или верхнего кронштейна в сборе) не зарегистрирован, либо блок идентификационного кода (ЭБУ кода иммобилайзера) или ЭБУ блокировки рулевого управления (привод блокировки рулевого управления или верхний кронштейн в сборе) неисправен.

      • Рулевое управление не блокируется.

      • Рулевое управление не разблокируется (невозможно запустить двигатель).

      OK
      На экране GTS отображается "ОК".

      Tech Tips

      Причины сбоя верификации:


      • ЭБУ блокировки рулевого управления (привод блокировки рулевого управления или верхний кронштейн в сборе) или блок идентификационного кода (ЭБУ кода иммобилайзера) неисправен.

      • Нарушение связи между ЭБУ.

      • ЭБУ был заменен, но не был зарегистрирован.

      • ЭБУ заменен блоком, в котором уже сохранен код.

      Результат
      Перейти к
      OK
      NG

    NG
    OK
  4. ПРОВЕРЬТЕ ЖГУТ ПРОВОДОВ И РАЗЪЕМ (ЭБУ БЛОКИРОВКИ РУЛЕВОГО УПРАВЛЕНИЯ (ПРИВОД БЛОКИРОВКИ РУЛЕВОГО УПРАВЛЕНИЯ ИЛИ ВЕРХНИЙ КРОНШТЕЙН В СБОРЕ) — ИСТОЧНИК ПИТАНИЯ И МАССА)


    1. B001CFQC50
      *a

      Вид спереди разъема со стороны жгута проводов:

      (к ЭБУ блокировки рулевого управления (приводу блокировки рулевого управления или верхнему кронштейну в сборе))

      Отсоедините разъем ЭБУ блокировки рулевого управления (привода блокировки рулевого управления или верхнего кронштейна в сборе).

    2. Измерьте сопротивление в соответствии со значениями, приведенными в таблице ниже.

      Номинальное сопротивление
      Подключение диагностического прибора Условие Заданные условия
      G35-1 (GND) - масса Всегда Менее 1 Ом

      Note

      Если результат не отвечает требованиям, проверьте надежность подключения провода соединения с массой.

    3. Измерьте напряжение в соответствии со значениями, приведенными в таблице.

      Номинальное напряжение
      Подключение диагностического прибора Условие Заданные условия
      G35-7 (B) - масса Всегда 11-14 В
      Результат
      Перейти к
      OK
      NG

    NG
    OK
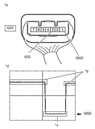
  5. ПРОВЕРЬТЕ ЭБУ БЛОКИРОВКИ РУЛЕВОГО УПРАВЛЕНИЯ (ПРИВОД БЛОКИРОВКИ РУЛЕВОГО УПРАВЛЕНИЯ ИЛИ ВЕРХНИЙ КРОНШТЕЙН В СБОРЕ) (СИГНАЛ ВКЛЮЧЕНИЯ ЭЛЕКТРОДВИГАТЕЛЯ)


    1. Подсоедините разъем ЭБУ блокировки рулевого управления (привода блокировки рулевого управления или верхнего кронштейна в сборе).

    2. B001EHJC06
      *a

      Устройство с подсоединенным жгутом проводов

      (ЭБУ блокировки рулевого управления (привод блокировки рулевого управления или верхний кронштейн в сборе))

      *b Электродвигатель блокировки рулевого управления не работает
      *c Электродвигатель блокировки рулевого управления работает
      *d Осциллограмма

      С помощью осциллографа проверьте форму сигнала.

      OK
      Параметр / Устройство Описание
      Подключение диагностического прибора G35-3 (IGE) - G35-1 (GND)
      Настройки прибора 2 В / дел., 200 мс/ дел.
      Условие

      Любая из дверей открыта при соблюдении других условий, выполняется активация электродвигателя блокировки рулевого управления:


      • Рычаг переключения передач в положении Р*

      • Рулевое управление разблокировано пользователем, который имел при себе передатчик электронного ключа в сборе и включил зажигание (IG)

      • После выполнения указанных выше условий зажигание выключается

      Заданные условия

      Формирование импульсов

      (см. осциллограмму)


      • *: для моделей с автоматической трансмиссией

      Tech Tips


      • При проведении измерений, когда двигатель блокировки не работает, не требуется выполнять никаких действий.

      • Чтобы провести измерения во время работы двигателя блокировки, выполните одно из следующих действий:


        • Чтобы разблокировать рулевое управление, поместите передатчик электронного ключа в сборе в салон и включите зажигание (ACC) или (IG).

        • Чтобы заблокировать рулевое управление, выключите зажигание с рычагом переключения передач в положении P*, а затем откройте дверь.


          • *: для моделей с автоматической трансмиссией

      Результат
      Перейти к
      OK
      NG

    OK
    NG
  6. ПРОВЕРЬТЕ ЖГУТ ПРОВОДОВ И РАЗЪЕМ (ЭБУ БЛОКИРОВКИ РУЛЕВОГО УПРАВЛЕНИЯ (ПРИВОД БЛОКИРОВКИ РУЛЕВОГО УПРАВЛЕНИЯ ИЛИ ВЕРХНИЙ КРОНШТЕЙН В СБОРЕ) - ЭБУ СЕРТИФИКАЦИИ (ЭБУ ЭЛЕКТРОННОГО КЛЮЧА ЗАЖИГАНИЯ В СБОРЕ))


    1. Отсоедините разъем G35 ЭБУ блокировки рулевого управления (привода блокировки рулевого управления или верхнего кронштейна в сборе).

    2. Отсоедините разъем G215 ЭБУ сертификации (ЭБУ электронного ключа зажигания в сборе).

    3. Измерьте сопротивление в соответствии со значениями, приведенными в таблице ниже.

      Номинальное сопротивление
      Подключение диагностического прибора Условие Заданные условия
      G35-3 (IGE) - G215-24 (SLR+) Всегда Менее 1 Ом
      G35-3 (IGE) или G215-24 (SLR+) - другие контакты и масса Всегда 10 кОм или более
      Результат
      Перейти к
      OK
      NG

    NG
    OK
  7. ПРОВЕРЬТЕ ЭБУ БЛОКИРОВКИ РУЛЕВОГО УПРАВЛЕНИЯ (ПРИВОД БЛОКИРОВКИ РУЛЕВОГО УПРАВЛЕНИЯ ИЛИ ВЕРХНИЙ КРОНШТЕЙН В СБОРЕ)


    1. Подсоедините разъем ЭБУ блокировки рулевого управления (привода блокировки рулевого управления или верхнего кронштейна в сборе).

    2. B001D6NC71
      *a

      Устройство с подсоединенным жгутом проводов

      (ЭБУ блокировки рулевого управления (привод блокировки рулевого управления или верхний кронштейн в сборе))

      Измерьте напряжение в соответствии со значениями, приведенными в таблице.

      Номинальное напряжение
      Подключение диагностического прибора Условие Заданные условия
      G35-3 (IGE) - масса Всегда 11-14 В
      Результат
      Перейти к
      OK
      NG

    OK
    NG
  8. ПРОВЕРЬТЕ ЭБУ БЛОКИРОВКИ РУЛЕВОГО УПРАВЛЕНИЯ (ПРИВОД БЛОКИРОВКИ РУЛЕВОГО УПРАВЛЕНИЯ ИЛИ ВЕРХНИЙ КРОНШТЕЙН В СБОРЕ)


    1. Замените ЭБУ блокировки рулевого управления (привод блокировки рулевого управления или верхний кронштейн в сборе) новым.

      Для моделей с наклонной телескопической рулевой колонкой с электроприводом:

      Нажмите здесь Click here

      Для моделей с наклонной телескопической рулевой колонкой с ручным приводом:

      Нажмите здесь Click here

    2. Снимите показания с дисплея GTS в режиме DATA LIST.

      Entry&Start (посадка и запуск)
      Информация на дисплее прибора Измеряемая величина Диапазон Нормальное состояние Замечание по диагностике
      L Code Check Результат проверки подлинности между блоком идентификационного кода (ЭБУ кода иммобилайзера) и ЭБУ блокировки рулевого управления (приводом блокировки рулевого управления или верхним кронштейном в сборе) OK или NG

      ОК: нормальный результат верификации

      NG: ненормальный результат верификации

      Когда отображается NG:


      • Идентификационный код для блока идентификационного кода (ЭБУ кода иммобилайзера) или ЭБУ блокировки рулевого управления (привода блокировки рулевого управления или верхнего кронштейна в сборе) не зарегистрирован, либо блок идентификационного кода (ЭБУ кода иммобилайзера) или ЭБУ блокировки рулевого управления (привод блокировки рулевого управления или верхний кронштейн в сборе) неисправен.

      • Рулевое управление не блокируется.

      • Рулевое управление не разблокируется (невозможно запустить двигатель).

      OK
      На экране GTS отображается "ОК".
      Результат
      Перейти к
      OK
      NG

    OK
    NG
  9. ПРОВЕРЬТЕ ЭБУ СЕРТИФИКАЦИИ (ЭБУ ЭЛЕКТРОННОГО КЛЮЧА ЗАЖИГАНИЯ В СБОРЕ)


    1. Замените ЭБУ сертификации (ЭБУ электронного ключа зажигания в сборе) новым и выполните регистрацию еще раз.

      Tech Tips

      См. бюллетень технического обслуживания.

    2. Выполните регистрацию.

      Tech Tips

      См. бюллетень технического обслуживания.

    3. Снимите показания с дисплея GTS в режиме DATA LIST.

      Entry&Start (посадка и запуск)
      Информация на дисплее прибора Измеряемая величина Диапазон Нормальное состояние Замечание по диагностике
      S Code Check Результат проверки подлинности между ЭБУ сертификации (ЭБУ электронного ключа зажигания в сборе) и блоком идентификационного кода (ЭБУ кода иммобилайзера) OK или NG

      ОК: нормальный результат верификации

      NG: ненормальный результат верификации

      Когда отображается NG:


      • Идентификационный код для ЭБУ сертификации (ЭБУ электронного ключа зажигания) или блока идентификационного кода (ЭБУ кода иммобилайзера) не зарегистрирован, либо ЭБУ сертификации (ЭБУ электронного ключа зажигания) или блок идентификационного кода (ЭБУ кода иммобилайзера) неисправен.

      • Рулевое управление не блокируется.

      • Рулевое управление не разблокируется (невозможно запустить двигатель).

      OK
      На экране GTS отображается "ОК".
      Результат
      Перейти к
      OK
      NG

    OK
    NG
  10. СНИМИТЕ ПОКАЗАНИЯ GTS (ВЫКЛЮЧАТЕЛЬ ОСВЕЩЕНИЯ ПРОЕМА ДВЕРИ)


    1. Войдите в следующие меню: Body Electrical / Main Body / Data List.

    2. Снимите показания с дисплея GTS в режиме DATA LIST.

      Main Body (Кузов)
      Информация на дисплее прибора Измеряемая величина Диапазон Нормальное состояние Замечание по диагностике
      FR Door Courtesy SW

      Выключатель освещения проема двери передней правой двери

      (для моделей с правосторонним рулевым управлением)

      ON (ВКЛ) или OFF (ВЫКЛ)

      ON (ВКЛ): Правая передняя дверь открыта

      OFF (ВЫКЛ): Правая передняя дверь закрыта

      Если значение этого параметра не изменяется в соответствии с фактическим состоянием двери водителя, выключатель освещения проема двери или связанная деталь неисправны.
      FL Door Courtesy SW

      Выключатель освещения дверного проема передней левой двери

      (для моделей с левосторонним рулевым управлением)

      ON (ВКЛ) или OFF (ВЫКЛ)

      ON (ВКЛ): Левая передняя дверь открыта

      OFF (ВЫКЛ): Левая передняя дверь закрыта

      Если значение этого параметра не изменяется в соответствии с фактическим состоянием двери водителя, выключатель освещения проема двери или связанная деталь неисправны.
      OK
      Значение параметра Data List изменяется в соответствии с открыванием и закрыванием двери водителя.
      Результат
      Перейти к
      OK (для моделей с автоматической трансмиссией)
      OK (для моделей с механической трансмиссией)
      NG

    OK (для моделей с механической трансмиссией)
    NG
    OK (для моделей с автоматической трансмиссией)
  11. СНИМИТЕ ПОКАЗАНИЯ GTS (СИГНАЛ ПОЛОЖЕНИЯ P РЫЧАГА ПЕРЕКЛЮЧЕНИЯ ПЕРЕДАЧ)


    1. Установите рычаг переключения передач в положение P.

    2. Войдите в следующие меню: Body Electrical / Power Source Control / Data List.

    3. Снимите показания с дисплея GTS в режиме DATA LIST.

      Power Source Control
      Информация на дисплее прибора Измеряемая величина Диапазон Нормальное состояние Замечание по диагностике
      Shift P Signal Сигнал положения (P) рычага переключения передач ON (ВКЛ) или OFF (ВЫКЛ)

      ON (ВКЛ): Рычаг переключения передач в положении Р

      OFF (ВЫКЛ): Рычаг переключения передач не в положении Р

      Этот параметр используется для проверки исправности датчика положения рычага переключения передач (Р).
      OK
      Показания на экране GTS правильно изменяются в соответствии с положением рычага переключения передач.
      Результат
      Перейти к
      OK
      NG

    NG
    OK
  12. СНИМИТЕ ПОКАЗАНИЯ GTS (STEERING LOCK)


    1. Удостоверьтесь, что рулевое колесо разблокировано.

    2. Войдите в следующие меню: Body Electrical / Entry&Start / Data List.

    3. Снимите показания с дисплея GTS в режиме DATA LIST.

      Entry&Start (посадка и запуск)
      Информация на дисплее прибора Измеряемая величина Диапазон Нормальное состояние Замечание по диагностике
      Steering Lock Состояние подтверждения блокировки ЭБУ блокировки рулевого управления (привода блокировки рулевого управления или верхнего кронштейна в сборе) Unset или Set

      Unset (не установлено): блокировка не подтверждена

      Set (установлено): блокировка подтверждена

      Если выводится Unset, рулевое управление не заблокировано.
      OK
      На экране GTS отображается Set.
      Результат
      Перейти к
      OK
      NG

    NG
    OK
  13. ПРОВЕРЬТЕ ЭБУ СЕРТИФИКАЦИИ (ЭБУ ЭЛЕКТРОННОГО КЛЮЧА)


    1. Замените ЭБУ сертификации (ЭБУ электронного ключа зажигания) новым.

      Tech Tips

      См. бюллетень технического обслуживания.

    2. Выполните регистрацию.

      Tech Tips

      См. бюллетень технического обслуживания.

    3. Снимите показания с дисплея GTS в режиме DATA LIST.

      Entry&Start (посадка и запуск)
      Информация на дисплее прибора Измеряемая величина Диапазон Нормальное состояние Замечание по диагностике
      Lock Request Receive Состояние получения сигнала запроса блокировки OK или NG

      ОК: Сигнал запроса блокировки принимается в течение 10 после открывания любой двери, когда рычаг переключения передач находится в положении P*, и зажигание выключено.

      NG: За исключением указанного выше

      Если значение OK не отображается, даже если выполняются условия блокировки рулевого управления, возможно, неисправен ЭБУ сертификации (ЭБУ электронного ключа зажигания в сборе).

      • *: для моделей с автоматической трансмиссией

      OK
      В течение 10 с после открывания любой двери, когда рычаг переключения передач находится в положении P (для моделей с автоматической трансмиссией) и зажигание выключено, значение параметра Data List меняется на "OK".
      Результат
      Перейти к
      OK
      NG

    OK
    NG